第B007版:信息披露 上一版3  4下一版  
 
标题导航
 

我要评报 | 我要订报 | 我来提问 | 我来出题 | 我要投稿

返回首页 证券时报网 版面导航 标题导航 新闻检索

2009年10月30日 星期 放大 缩小 默认
名流置业集团股份有限公司公开发行公司债券募集说明书摘要
(一)发行人的组织结构
公司与实际控制人之间的产权及控制关系如上图:

  (上接B6版)

  三、发行人的资信情况

  (一)发行人获得主要贷款银行的授信情况

  截至2009年6月30日,公司已获得工商银行50,000万元的授信额度,其中子公司武汉名流获32,000万元的授信额度,子公司重庆东方豪富获10,000万元的授信额度,子公司惠州名流实业获8,000万元的授信额度。目前已使用额度为12,482万元,尚未使用额度为37,518万元。

  (二)最近三年与主要客户发生业务往来时,是否有严重违约现象

  最近三年公司与主要客户发生业务往来时,公司未曾有严重违约。

  (三)最近三年发行的债券以及偿还情况

  公司在最近三年未发行过债券。

  (四)本次发行后累计公司债券余额及其占发行人最近一期经审计的合并资产负债表中的归属于母公司净资产的比例

  经证监会核准的本次债券全部发行完毕后,公司累计公司债券余额最高为18亿元,公司最近一期经审计的合并资产负债表中的归属于母公司净资产为46.83亿元,累计公司债券余额占最近一期经审计的合并资产负债表中的归属于母公司所有者权益的比例为38.44%,未超过公司净资产的40%。

  (五)最近三年主要财务指标

  ■

  上述财务指标的计算方法如下:

  流动比率 = 流动资产/流动负债

  速动比率 = 速动资产/流动负债

  应收账款周转率 = 主营业务收入/应收账款平均余额

  存货周转率 = 主营业务成本/存货平均余额

  资产负债率 = 总负债/总资产

  利息倍数 =(利润总额+利息费用)/利息费用

  贷款偿还率 = 实际贷款偿还额/应偿还贷款额

  利息偿付率 = 实际支付利息/应付利息

  每股净资产 = 期末净资产/期末股本总额

  每股经营活动的现金净流量 = 经营活动产生的现金流量净额/年度末普通股股份总数

  每股净现金流量 = 现金及现金等价物净增加额/年度末普通股股份总数

  第三节 担保

  本次公司债券采用抵押担保形式,发行人子公司将以其合法拥有的部分自有土地使用权依法设定抵押,以保障本次公司债券的本息按照约定如期足额兑付。发行人与国泰君安签订《土地使用权抵押协议》,该协议约定本次公司债券抵押人为发行人,抵押权人为持有2009年名流置业股份有限公司公司债券全体债券持有人,债券受托管理人/抵押权人授权代表为国泰君安。

  凡通过认购、交易、受让、继承、承继或其他合法方式取得并持有本次公司债券的投资者,均视同自愿接受《土地使用权抵押协议》(包括其修改或补充)的约束。

  一、抵押资产

  发行人为本次债券设定的抵押资产为发行人子公司合法取得并有权处分的部分国有土地使用权,土地合计面积为2,366,045.47平方米,抵押资产清单列表如下:

  ■

  注:该项目土地使用权证载明土地使用权面积为51,971.6平方米,其中出让面积为40,795.00平方米,其他11,176.7平方米为公共绿地和道路用地,建成后将交回相关政府部门。

  安徽东磁经挂牌取得位于肥西县紫蓬山面积为441亩的出让土地使用权,并已签订肥土出字经(2006)39号《国有土地使用权出让合同》,目前正在办理该地块的《国有土地使用证》。根据安徽省肥西县国土资源局出具的说明函,安徽东磁取得该地块的《国有土地使用证》不存在法律障碍,并有权以该地块设定抵押。

  沈阳名流合法拥有证号为沈南国用(2008)第011号的国有土地使用权,占地面积为104,073.7平方米;根据《关于沈南土出合字(2007)29号合同的补充说明》,该地块的使用面积已调整为121,410.2平方米,目前正在办理换发土地使用权证的工作。根据沈阳市规划和国土资源局浑南新区分局出具的说明函,沈阳名流取得该地块的《国有土地使用证》不存在法律障碍,并有权以该地块设定抵押。

  发行人于2009年9月出具《承诺函》,承诺如下:

  1、所有拟抵押的土地使用权不存在被查封、扣押、冻结等财产权利被限制的情形,亦不存在权属争议或其他法律法规规定之不得设定抵押权的障碍及可能影响抵押权设定或实现的其他情形;

  2、发行人在该等抵押财产上设定抵押权为本次公司债券提供担保不会违反任何法律法规的强制性规定、任何法院或政府机构作出的判决或命令或其现行有效公司章程的规定,亦不会违反任何已经签署或将要签署的以发行人为缔约一方或对抵押财产有约束力的任何合同、承诺或其他文件;

  3、发行人承诺将尽快取得上述尚未取得的土地使用权证。若在本次公司债券发行完成后三个月内仍未取得相关土地使用权并办理完毕土地使用权抵押登记,发行人将提供评估价值不低于上述土地使用权的其他土地使用权用于抵押担保。

  根据发行人律师万商天勤出具的《关于名流置业集团股份有限公司公开发行公司债券的补充法律意见书》,认为发行人子公司合法拥有上述土地使用权,安徽东磁就面积为441亩的地块取得《国有土地使用证》、沈阳名流就面积为121,410.2平方米的地块换发《国有土地使用证》不存在法律障碍,其有权以该地块设定抵押;重庆东方豪富房地产开发有限公司拥有的房地证D2008字第13号《国有土地使用权》中的划拨用地不在抵押范围之列,对以该土地使用权设定抵押不构成影响;发行人有权以上述土地使用权提供抵押担保。

  二、抵押资产评估结论

  湖北永业行评估咨询有限公司出具《土地估价报告》鄂永地[2009](估)字第0428号,其根据《城镇土地估价规程》,依据土地估价的的基本原则理论和方法,在充分分析估价对象所在区域的地价影响因素和掌握的土地市场交易资料的基础上,按照土地估价程序,选择合适的估价方法得出估价对象在满足本次地价定义和全部假设限制条件下的土地估价结果如下表:

  估价结果汇总表

  ■

  此次抵押的土地使用权账面价值为63,949.02万元,评估价值为328,584.62万元,增值率为413.82%。增值的主要原因是,近年来全国各地特别是被评估地块所在的武汉、合肥、惠州、重庆和沈阳各市房地产市场发展较快、土地价格逐年上涨,企业土地使用权取得成本较低,导致本次评估值与入账成本相比较形成较大幅度的评估增值。此外,作为二线城市的武汉、合肥、重庆、惠州和沈阳面临的自住性需求较大,房地产行业波动较小且发展前景良好,将带动土地价格在未来保持着稳中有升的走势。

  第四节 发行人基本情况

  一、公司概况

  (一)设立与上市

  本公司系于1989年2月经云南省经济体制改革委员会云体改[1989]6号文批准,由昆明五华工贸总公司与云南省楚雄州华侨友谊股份有限公司合并成立的股份公司,注册资本396万元。经中国人民银行云南省分行云银复[1989]278号文和云南省经济体制改革委员会云体改[1989]第46号文、云体改[1989]第49号文批准,本公司在1989年12月1日至1990年3月31日期间向昆明市城乡居民公开发行1,070万股股票,注册资本增至1,466万元。

  经本公司股东大会通过,并经云南省经济体制改革委员会云体改(1990)45号文和云体改[1992]第65号批准,昆明市五华区人民政府先后于1990年12月和1992年9月将其投资建设的昆明五华商业大厦和昆明圆通商业大厦按一定的比例折为国家股1,757万股和2,506万股对本公司增资;同时本公司以历年应付职工的工资522万元转为内部职工股522万股。1992年9月,以股东大会通过,本公司按10:4比例实施资本公积金转增股本方案。至此,公司股份总数为8,751万股,其中国家股6,480万股,占74.05%;社会公众股2,271万股,占25.95%。

  1993年12月29日,经国家经济体制改革委员会体改生[1993]第221号文确认,本公司为继续进行规范化的股份制试点企业,按《股份有限公司规范意见》及其配套文件的规定进行了规范。

  1996年12月5日,经中国证监会证监发字[1996]358号批准,本公司社会公众股2,271万股作为历史遗留问题在深圳证券交易所上市交易。

  (二)历次股本变动情况

  1997年4月,本公司向全体股东实施了按10:3送红股的利润分配方案和按10:7的资本公积金转增股本方案;1999年5月,本公司向全体股东实施了按10:2送红股的利润分配方案和按10:2的资本公积金转增股本的方案。至此,本公司股份总数变更为24,502.8万股,其中昆明市五华区人民政府国有资产管理局持有18,144万股国家股,占74.05%;社会公众持有6,358.8万股,占25.95%。

  2002年4月29日,公司控股股东五华区国资办与名流投资签订《股份转让协议书》,将其持有的国家股7,200万股转让给名流投资。2002年6月14日,五华区国资办与海南洋浦签订《股份转让协议书》,将其持有的国家股5,300万股转让给海南洋浦。2003年5月13日,名流投资和海南洋浦分别在中国证券登记结算有限责任公司深圳分公司办理了股份过户登记手续。至此,名流投资、海南洋浦成为公司控股股东、第三大股东,分别持有公司股份7,200万股(占总股本的29.38%)和5,300万股(占总股本的21.63%),股份性质为社会法人股。

  2002年12月24日,五华区国资办与国财创业签订《股份转让协议书》,将其持有的国家股5,644万股转让给国财创业。2006年2月13日,国财创业在中国证券登记结算有限责任公司深圳分公司办理了股份过户登记手续。至此,国财创业成为公司第二大股东,持有公司股份5,644万股(占总股本的23.03%),股份性质为社会法人股。

  公司股权分置改革方案于2006年2月20日实施完毕,以流通股总股本6,358.8万股为基数,以资本公积金向方案实施股份变更登记日登记在册的全体流通股股东每10股转增1.37股,以盈余公积金向方案实施股份变更登记日登记在册的全体流通股股东每10股转增2.50股,合计向全体流通股股东每10股转增3.87股,原非流通股股东持有的18,144万股非流通股股份性质变更为有限售条件的流通股。改革完成后,公司总股本为269,636,556万股,其中境内一般法人持有的有限售条件流通股181,440,000股,占总股本的67.29%;公司高管持有的有限售条件流通股116,508股,占0.04%;无限售条件流通股88,080,048股,占32.67%。

  经中国证监会《关于核准名流置业集团股份有限公司非公开发行股票的通知》(证监发行字[2006]86号文)核准,公司于2006年9月30日向十名特定投资者定向发行了11,300万股股份,自登记日2006年10月12日起锁定12个月。非公开发行完成后,公司总股本为382,636,556股,其中有限售条件流通股294,556,508股,占76.98%;无限售条件流通股88,080,048股,占23.02%。

  2007年4月6日,公司实施了每10股送2股转增8股的2006年度利润分配方案。方案实施后,公司的股份总数为765,273,112股,其中有限售条件流通股为533,071,690股,占69.66%;无限售条件流通股为232,201,422股,占30.34%。

  根据公司股权分置改革方案,2007年5月30日起公司部分原有限售条件流通股上市流通。在公司总股本不变的情况下,有限售条件流通股降为508,144,382股,占66.40%;无限售条件流通股增为257,128,730股,占33.60%。

  经中国证监会《关于核准名流置业集团股份有限公司公开发行股票的通知》(证监发行字[2007]379号文)核准,公司于2008年1月17日公开增发A股19,697.96 万股。增发后公司总股本数为96,225.28万股,其中有限售条件流通股为28,199万股,占29.31%;无限售条件流通股为68,026.28万股,占70.69%。

  2008年6月12日,公司以2008年1月17日公开募集A 股后总股本96,225.28万股为基数,实施了每10股送转4股的2007年度利润分配方案。方案实施后,公司的股份总数为134,715.39万股,其中有限售条件流通股为39,478.61万股,占29.31%;无限售条件流通股为95,236.78万股,占70.69%。

  二、本次发行前公司的股本情况

  (一)本次发行前公司的股本结构

  截至2009年6月30日,公司总股本为1,347,153,859股,股本结构如下:

  ■

  (二)本次发行前公司前10大股东持股情况

  截至2009年6月30日,公司前十名股东持股情况如下:

  ■

  三、发行人的组织结构及对其他企业的重要权益投资情况

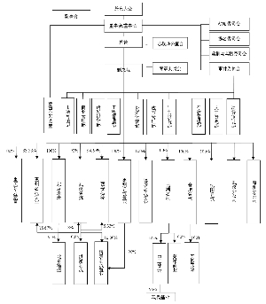
  (一)发行人的组织结构

  ■

  注:截至目前,合肥名流已持有安徽东磁100%股权,芜湖名流已持有中工建设100%股权。

  (二)发行人对其他企业的重要权益投资情况

  截至2009年6月30日,公司全部控股子公司的情况如下:

  1、控股子公司基本情况

  ■

  注:持股比例包括公司直接持有或间接持有的股权比例;

  2、控股子公司财务情况

  公司直接或间接控股的公司财务情况如下表:

  单位:万元

  ■

  注:截至2008年12月31日,公司子公司北京浩达、惠州名流置业、博罗名流实业、博罗名流置业、合肥名流、安徽东磁、沈阳名流和重庆东方豪富由于所开发项目未进入结算期,故未产生营业收入。芜湖商业成立于2008年8月18日,尚未开展具体经营业务。

  四、公司控股股东和实际控制人的基本情况

  (一)控股股东的基本情况

  公司控股股东名流投资集团有限公司成立于1996年5月14日,法定代表人:汪昌秀,注册资本:人民币5,000万元,住所:深圳市福田区上步南路国企大厦永辉楼14B,经营范围:高科技产业的开发投资、实业投资、投资管理、信息咨询(不含限制项目)。名流投资持有本公司股份209,909,685股,占总股本的15.58%。截至2009年6月30日,名流投资所持本公司股份不存在冻结情况,质押140,200,000股,占本公司总股本的10.41%。

  名流投资现有三家股东:北京温尔馨物业管理有限责任公司出资3,000万元,占注册资本的60%;中国教育服务中心有限公司出资1,300万元,占注册资本的26%;北京名流置业发展公司出资700万元,占注册资本的14%。

  名流投资2008年末总资产134,729.15万元,所有者权益101,974.12万元,资产负债率24.31%;2008年营业收入为564.38万元,净利润为5,568.72万元(母公司报表口径,未经审计)。

  (二)实际控制人的基本情况

  1、名流投资的控股股东

  北京温尔馨物业管理有限责任公司持有名流投资60%的出资,为名流投资的控股股东。

  温尔馨物业成立于1995年12月4日,住所:北京市昌平县燕丹乡海青落村;法定代表人:刘道明;注册资本:3,000万元,刘道明、熊生阶、刘永光分别出资2,000、800、200万元,分别占其注册资本的66.67%、26.67%、6.67%;经营范围:机动车停车服务;物业管理。

  温尔馨物业2008年末总资产63,701.12万元,所有者权益62,304.91万元;2008年物业经营收入为714.95万元,净利润为3,215.65万元(母公司报表口径,未经审计)。

  根据温尔馨物业出具的声明,除名流投资及其控制的企业外,温尔馨物业无其他直接和间接控制的企业。

  2、实际控制人

  公司的实际控制人为刘道明先生,生于1957年,中国国籍,无他国居留权,住所:武汉市武昌区中北路66-B-805号。现任本公司董事长,简历请参见本节“五、公司董事、监事、高级管理人员基本情况”部分。刘道明先生对北京温尔馨物业管理有限责任公司出资2,000万元,占温尔馨物业注册资本的66.67%。

  公司与实际控制人之间的产权及控制关系如下图:

  ■

  3、实际控制人对外投资情况

  实际控制人刘道明先生对海南名流出资1,800万元,占其注册资本的90%。刘道明先生之妻王萍女士对海南名流出资200万,占其注册资本的10%。

  海南名流成立于1993年6月14日,住所:海口市琼山区府城大路街206号4楼,法定代表人:王萍,注册资本:2,000万元,经营范围:装修装饰工程,建筑材料生产,高科技投资业开发,金属材料,普通机械,纺织品,日用百货,家用电器,办公用品(凡需行政许可的项目凭许可证经营)。

  根据实际控制人刘道明先生出具的声明,除温尔馨物业及其控制的企业、海南名流外,刘道明先生无其他直接和间接控制的企业。

  4、实际控制人刘道明先生任职情况

  截至目前,公司实际控制人刘道明先生主要任职情况如下:

  ■

  五、公司董事、监事、高级管理人员基本情况

  (一)基本情况

  1、董事基本情况

  ■

  2、监事基本情况

  ■

  3、高级管理人员基本情况

  ■

  4、2008年董事、监事、高级管理人员领取报酬情况

  ■

  注:

  1、刘健生已于2009年5月22日辞去公司副总裁职务,田振勇已于2009年7月13日辞去公司监事职务;

  2、独立董事年度报酬为独立董事津贴;

  3、上述“年度报酬总额”含发放的2007年度激励基金,详见下表:

  单位:万元

  ■

  六、公司主营业务基本情况

  (一)公司的主营业务

  公司的经营范围是:资产管理、股权、产权的投资转让,投资策划咨询服务、实业投资;国内贸易(除专项规定);房地产业、科研信息咨询服务业及市场建设的开发投资和经营管理,房地产开发、经营;房屋租赁(凭许可证开展经营活动)。

  公司属房地产开发行业,目前主要从事商品房的开发和土地一级开发,目标客户主要定位于中等收入者和商户、企业等。目前,公司开发的房地产业务主要分布在北京、武汉、西安、惠州、芜湖等地。

  (二)开发资质

  公司拥有建设部颁发的编号为建开企[2001]294号“中华人民共和国房地产开发企业资质证书”,资质等级为房地产资质一级。根据《房地产开发企业资质管理规定》,获得一级资质的房地产开发企业承担房地产项目的建设规模不受限制,可以在全国范围承揽房地产开发项目。

  (三)公司的业务收入构成

  公司最近三年及一期主营业务收入分产品的构成情况如下:

  单位:万元

  ■

  公司最近三年及一期主营业务收入分区域的构成情况如下:

  单位:万元

  ■

  (四)公司最近三年及一期的房地产开发情况

  公司最近三年及一期的房地产开发项目的新开工、复工面积和竣工面积情况如下表:

  单位:万平方米

  ■

  注: 1、新开工面积指当年期取得政府相关施工许可的新开工项目的建筑面积;

  2、复工面积指当年期以前开工但尚未竣工、当年期仍进行建设的项目的建筑面积;

  3、竣工面积指当年期取得竣工备案证的项目的建筑面积。

  第五节 财务会计信息

  一、最近三年及一期财务指标

  (一)公司最近三年及一期主要财务指标

  ■

  注:2006年的指标为根据按照新会计准则追溯调整的财务报表进行计算。

  上述指标中除母公司资产负债率的指标外,其他均依据合并报表口径计算,各指标的具体计算方法如下:

  流动比率=流动资产/流动负债

  速动比率=速动资产/流动负债

  总资产周转率=营业收入/总资产平均余额

  应收账款周转率=营业收入/应收账款平均余额

  存货周转率=营业成本/存货平均余额

  资产负债率=总负债/总资产

  每股净资产=期末净资产/期末股本总额

  每股经营活动的现金流量=经营活动产生的现金流量净额/期末普通股股份总数

  每股净现金流量=现金及现金等价物净增加额/期末普通股股份总数

  (二)最近三年及一期净资产收益率

  单位:万元

  ■

  注:表中2006年度“调整后”一栏根据新企业会计准则及证监会《公开发行证券的公司信息披露解释性公告第1号——非经常性损益(2008)》等相关规定追溯调整后的相关数据计算填列;“调整前”一栏数据根据2006年度报告中披露的法定报表数据及证监会《公开发行证券的公司信息披露规范问答第1号―非经常性损益(2004年修订)》的相关规定计算填列。

  上表指标计算公式:

  全面摊薄净资产收益率=P÷E

  其中,P为归属于公司普通股股东的净利润或扣除非经常性损益后归属于公司普通股股东的净利润;E为归属于公司普通股股东的期末净资产。

  加权平均净资产收益率=P/(E0+NP÷2+Ei×Mi÷M0-Ej×Mj÷M0±Ek×Mk÷M0)

  其中:P分别对应于归属于公司普通股股东的净利润、扣除非经常性损益后归属于公司普通股股东的净利润;NP为归属于公司普通股股东的净利润;E0为归属于公司普通股股东的期初净资产;Ei为报告期发行新股或债转股等新增的、归属于公司普通股股东的净资产;Ej为报告期回购或现金分红等减少的、归属于公司普通股股东的净资产;M0为报告期月份数;Mi为新增净资产下一月份起至报告期期末的月份数;Mj为减少净资产下一月份起至报告期期末的月份数;Ek为因其他交易或事项引起的净资产增减变动;Mk为发生其他净资产增减变动下一月份起至报告期期末的月份数。

  扣除非经常性损益后净利润=净利润-非经常性损益税后影响数

  (三)最近三年及一期每股收益

  ■

  注:表中2006年数据根据新企业会计准则及证监会《公开发行证券的公司信息披露解释性公告第1号——非经常性损益(2008)》等相关规定追溯调整后的相关数据计算填列。

  上表指标计算公式:

  基本每股收益=P÷S

  S=S0+S1+Si×Mi÷M0-Sj×Mj÷M0-Sk

  其中:P为归属于公司普通股股东的净利润或扣除非经常性损益后归属于普通股股东的净利润;S为发行在外的普通股加权平均数;S0为期初股份总数;S1为报告期因公积金转增股本或股票股利分配等增加股份数;Si为报告期因发行新股或债转股等增加股份数;Sj为报告期因回购等减少股份数;Sk为报告期缩股数;M0为报告期月份数;Mi为增加股份下一月份起至报告期期末的月份数;Mj为减少股份下一月份起至报告期期末的月份数。

  稀释每股收益=[P+(已确认为费用的稀释性潜在普通股利息-转换费用)×(1-所得税率)]/(S0+S1+Si×Mi÷M0-Sj×Mj÷M0-Sk+认股权证、股份期权、可转换债券等增加的普通股加权平均数)

  其中,P为归属于公司普通股股东的净利润或扣除非经常性损益后归属于公司普通股股东的净利润。公司在计算稀释每股收益时,应考虑所有稀释性潜在普通股的影响,直至稀释每股收益达到最小。

  扣除非经常性损益后净利润=净利润-非经常性损益税后影响数

  二、最近三年非经常性损益明细表

  单位:万元

  ■

  三、本次发行后公司负债结构的转变

  本次债券发行完成后将引起公司资产负债结构的变化。假设公司的资产负债结构在以下假设基础上产生变动:

  1、相关财务数据模拟调整的基准日为2009年6月30日;

  2、本次债券募集资金中的1.62亿元拟用于偿还公司银行贷款;剩余资金拟用于补充公司流动资金;

  3、假设本次债券的募集资金净额为18亿元,即不考虑融资过程中所产生的相关费用且全部发行;

  4、假设总额为18亿元的本次债券在2009年6月30日完成发行并且清算结束。

  合并资产负债表

  单位:万元

  ■

  母公司资产负债表

  单位:万元

  ■

  第六节 本次募集资金运用

  一、公司债券募集资金数额

  根据《公司债券发行试点办法》的相关规定,结合公司财务状况及未来资金需求,经公司第五届董事会第六次会议审议通过,并经2008年第四次临时股东大会批准,公司向中国证监会申请发行不超过18亿元的公司债券,一次或分次发行。

  二、本次募集资金运用计划

  本次公司债券募集资金运用计划如下:

  (一)偿还商业银行贷款,调整公司负债结构

  公司拟将本次债券募集资金中的1.62亿元用于偿还商业银行贷款,该等资金使用计划将有利于调整并优化公司负债结构。

  公司根据预计募集资金到位时间,初步计划将募集资金1.62亿元用于偿还下列银行借款,借款方均为公司的全资子公司武汉名流,其已分别取得中国工商银行股份有限公司武汉黄浦支行和兴业银行股份有限公司武汉分行关于同意以发债资金提前偿还贷款的公函。

  若募集资金实际到位时间与公司预计不符,公司将本着有利于优化公司债务结构、尽可能节省公司利息费用的原则灵活安排偿还公司所借银行贷款。

  ■

  (二)补充公司流动资金

  为了增强公司的盈利能力,扩大市场份额,公司需要继续加大房地产开发的规模,增加项目资源。通过发行公司债券筹集资金,可以为公司业务发展提供必要的融资,以满足公司项目开发和业务拓展的需要。

  公司拟将本次债券募集资金中的16.38亿元用于补充公司流动资金,改善公司资金状况。若本次募集资金不足18亿元,则在偿还相应银行借款后的余额用于补充公司流动资金。

  三、募集资金运用对发行人财务状况的影响

  (一)对发行人负债结构的影响

  本次债券发行完成且根据上述募集资金运用计划予以执行后,发行人合并报表的资产负债率水平将由2009年6月30日的27.21%增加至41.88%。非流动负债占总负债的比例由2009年6月30日的43.74%增至75.57%。

  由于长期债权融资比例有较大幅度的提高,发行人债务结构将逐步得到改善。

  (二)对于发行人短期偿债能力的影响

  本次债券发行完成且根据上述募集资金运用计划予以执行后,公司合并报表的流动比率及速动比率将分别由2009年6月30日的6.21及2.28增加至9.39及5.53。

  公司流动比率和速动比率均有了较为明显的提高,流动资产对于流动负债的覆盖能力得到提升,短期偿债能力增强。

  第七节 备查文件

  一、备查文件目录

  1、发行人最近3年的财务报告及审计报告;

  2、国泰君安出具的公司债券发行保荐书;

  3、万商天勤出具的法律意见书;

  4、鹏元资信出具的资信评级报告;

  5、中国证监会核准本次发行的文件;

  6、债券持有人会议规则;

  7、债券受托管理协议;

  8、湖北永业行评估咨询有限公司出具的土地估价报告;

  9、土地使用权抵押协议。

  二、备查文件的查阅

  查阅时间:工作日上午8:30-11:30,下午14:00-17:00。

  查阅地点:发行人和保荐人(主承销商)住所。

  名流置业集团股份有限公司

  2009年10月29日

放大 缩小 默认
 

版权声明 © 证券时报网 网站版权所有
中华人民共和国增值电信业务经营许可证编号:粤B2-20080118