证券时报网络版郑重声明经证券时报社授权,证券时报网独家全权代理《证券时报》信息登载业务。本页内容未经书面授权许可,不得转载、复制或在非证券时报网所属服务器建立镜像。欲咨询授权事宜请与证券时报网联系 (0755-83501827) 。 |
上海科华生物工程股份有限公司公告(系列) 2014-12-09 来源:证券时报网 作者:
证券代码:002022 证券简称:科华生物 公告编号:2014-091 上海科华生物工程股份有限公司关于 最近五年公司不存在被证券监管部门和 交易所采取监管措施或处罚情况的公告 本公司及董事会全体成员保证信息披露内容的真实、准确和完整,没有虚假记载、误导性陈述或重大遗漏。 本公司自上市以来,一直严格按照《中华人民共和国公司法》、《中华人民共和国证券法》以及中国证券监督管理委员会及其派出机构等证券监管部门和深圳证券交易所(以下简称“交易所”)的有关规定和要求,不断完善公司治理结构,建立健全内部管理及控制制度,规范公司运营,提高公司治理水平,促进公司持续规范发展。 本公司拟向League Agent (HK) Limited(下称“LAL公司”)发行数量为25,000,000股的股份(下称“本次非公开发行”),本次非公开发行方案已经公司第五届董事会第十五次会议和2014年度第一次临时股东大会审议通过。为保障投资者知情权,维护投资者利益,经本公司自查确认: 最近五年公司不存在被证券监管部门和交易所采取监管措施或处罚的情况。 特此公告。 上海科华生物工程股份有限公司董事会 二〇一四年十二月九日
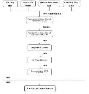
证券代码:002022 证券简称:科华生物 公告编号:2014-090 上海科华生物工程股份有限公司 关于非公开发行股票相关事项的 补充说明公告 本公司及董事会全体成员保证信息披露的内容真实、准确、完整,没有虚假记载、误导性陈述或重大遗漏。 重要提示:本公告中的流动资金测算,公司采用周转率法测算未来所需营运资金,通过测算未来年度营运资金,扣除期初净营运资金,得出所需营运资金缺口,所采用的测算方法及预测数据均具合理依据,但并不构成公司对未来盈利预测或投资计划的承诺。 本公司拟向League Agent (HK) Limited(下称“LAL公司”)发行数量为25,000,000股的股份(下称“本次非公开发行”),募集资金总额不超过40,000万元,扣除发行费用后的净额将全部用于补充流动资金,本次非公开发行方案已经公司第五届董事会第十五次会议和2014年度第一次临时股东大会审议通过。 为保障中小投资者的知情权,公司现就本次非公开发行相关事项补充说明如下: 一、关于本次非公开发行股票募集资金用于补充流动资金的测算 公司本次非公开发行募集资金不超过40,000万元,拟全部用于补充流动资金。 (一)融资的必要性 公司自2004年上市以来,在国内体外诊断(“以下简称IVD”)企业中一直处于领先地位,具有较好的市场知名度和品牌形象。公司上市十年来累计现金分红达91,515.30万元,给予了股东较好的回报。 公司上市后亦未进行过股权融资,主要依靠自身积累进行发展,发展较为平稳。最近五年营业收入、总资产、股东权益年复合增长率分别为:18.00%、13.19%和12.99%,低于国内IVD行业的增长速度,也低于可比同行业上市公司平均水平。 IVD行业作为仍处于发展期的高新技术产业,每一次研发技术革命都会带来产品线的更新换代,紧跟最新行业技术前沿是企业生存的必备条件。欧美国家的IVD行业发展历史悠久,企业实力雄厚,是国际IVD产品技术的领导者。公司研发力量在国内企业中具有竞争力,但距国际领先水平仍有一定差距,需要寻求一个具有国际资源的投资者为其在技术引进上提供帮助。 由于IVD产业涉及的体外诊断产品种类较为广泛,不同技术细分领域内的产品研发具有难度高、技术精、耗时长的特点,故企业在发展初期,往往选择一个核心技术领域潜心耕耘,在发展壮大后,再向其他领域拓展。国际IVD巨头均通过自身精耕细作发展,并不断行业并购的方式获得如今的市场地位。目前,国内IVD产业目前还处于发展时间短,企业数量多、规模小、实力较弱的局面,随着产业进入高速发展期,国际IVD产业巨头竞争的深入,产业整合势在必行。在这种行业态势下,公司需要寻求在资本运作上具有丰富经验的战略投资者,协助应对未来可能出现的产业整合。未来,公司计划采取更积极的发展策略,主动把握行业发展机遇,在确定公司未来发展方向的同时,顺应产业发展需求,研发和引入国际先进的IVD技术,同时寻求合适的产业整合机会,扩大现有产品种类和销售渠道。 因IVD行业需要大量的研发费用投入、营销渠道的维护、以及为产业并购筹备资金,企业普遍账面流动资金较高,资产负债率偏低。公司资产负债率低于行业平均水平,主要是由于公司上市后发展策略一直较为谨慎,较少利用金融杠杆进行融资,也未进行大规模的产能扩建和营销渠道布局。 就行业特征来看,以研发创新为原动力、以产业并购为扩张主要手段的IVD产业,其对研发创新的资金投入及产业并购所需的资金规模都是相当巨大,同时产业集中度较高也要求企业具有较强的资本实力。公司目前虽在国内企业处于领先梯队,但面对快速增长的市场规模及国际巨头的深入,仍亟需增强资本实力,投入研发创新、营销扩张及产业并购,应对日益激烈的行业竞争。 (二)股权融资方式的可行性和必要性 公司本次非公开发行的目的是为了满足公司未来快速发展的资金需求,同时引入境外战略投资者,优化公司股权结构及管理架构。 公司预计在未来三年有不少于53,566.65万元的营运资金补充需求,该部分资金需求拟通过本次非公开发行募集资金予以解决,不足部分公司自筹。 本次非公开发行后,本公司的股本和净资产将有所增加,基本每股收益将有所摊薄,但按照公司过往三年净利润的年复合增长率,将很快覆盖股本增长带来的影响,对公司的收益摊薄影响较小。 此外,公司本次非公开发行对象为战略投资者,发行后,拥有丰富公司管理经验及海外资源的战略投资者将锁定三年,且公司创始人之一唐伟国先生承诺并已经共同锁定所持股份。稳定的股权结构有利于公司中长期战略规划的有效实施,有利于公司及中小股东的利益。 因此,公司股权融资具有可行性与必要性。 (三)公司营运资金需求测算 公司本次非公开发行募集资金补充流动资金,将主要用于补充公司未来三年日常经营所需的营运资金缺口。 在公司业务保持正常发展的情况下,未来三年,公司日常经营需补充的营运资金规模以营运资金周转率进行计算。 营运资金周转率法通过计算公司未来年度营运资金需求,考虑每年营运资金滚存,扣除上一年末预计净营运资金,得出公司年度所需补充的营运资金规模。 在计算营运资金需求时,综合考虑2012年至2014年经营状况及财务状况得出货币资金、应收帐款、应收票据、预付款项、存货、应付帐款、应付票据、预收款项周转率,采用2012年、2013年及2014年周转率平均值作为未来周转率预测值。根据测算,各流动资产及流动负债周转率如下: ■ 注:2014年周转率以前三季度周转率*4/3作为预测值; 货币资金周转率=营业收入/年初年末货币资金平均值; 应收帐款周转率=营业收入/年初年末应收帐款平均值; 应收票据周转率=营业收入/年初年末应收票据平均值; 预付款项周转率=营业成本/年初年末预付款项平均值; 存货周转率=营业成本/年初年末存货平均值; 应付帐款周转率=营业成本/年初年末应付帐款平均值; 应付票据周转率=营业成本/年初年末应付票据平均值,由于公司没有应付票据,故无法计算应付票据周转率; 预收款项周转率=营业收入/年初年末预收款项平均值。 综合参考行业15%-20%的增长速度、同行业上市公司及公司过往复合增长率,谨慎选取15%为未来2015-2017年增长率;由于公司历史毛利率水平稳定,营业成本和营业收入同比增长,故营业成本取相同增长率。 运用营运资金周转率法测算的公司所需补充营运资金规模如下: 单位:万元 ■ 注:1、因公司的营业收入季节性波动较小,2014年预测营业收入按照前三季度营业收入*4/3列示,2014年预测营业成本按照前三季度营业成本*4/3列示,不构成盈利预测或承诺;2015年预测营业收入=2014年预测营业收入*(1+15%);2016年预测营业收入=2015年预测营业收入*(1+15%),2017年预测营业收入=2016年营业收入*(1+15%),2015年预测营业成本=2014年预测营业成本*(1+15%);2016年预测营业成本=2015年预测营业成本*(1+15%),2017年预测营业成本=2016年营业成本*(1+15%),均不构成盈利预测或承诺; 2、2014年末各项资产负债数据按照2014年9月30日资产负债表数据列示; 3、净营运资金=(货币资金+应收账款+应收票据+预付款项+存货)-(应付账款+应付票据+预收账款); 根据以上测算,未来三年,公司营运资金缺口总额为53,566.65万元。 为实现公司战略目标,公司未来还有与主营业务相关的费用与长期投入需求,主要包括营销、研发、生产线建设及产业并购等,有较大的资金需求。公司本次非公开发行募集资金补充流动资金,用以满足日常营运资金需求,以保证公司未来稳定可持续发展,具有必要性与可行性,符合公司与全体股东的利益。 二、本次非公开发行认购人LAL公司的相关情况 (一)LAL公司的基本情况 公司名称:League Agent (HK) Limited 注册地:中华人民共和国香港特别行政区 公司地址:香港湾仔港湾道18号中环广场5501室 注册资本:1港元 注册证书号码:2025423 商业登记证号码:62626533 成立日期:2014年1月13日 企业类型:有限责任公司 经营范围:投资 经营期限:无限期存续 董事:张为信、李英华 股东及持股比例:MedAgent Limited,100% 联系电话:00852-39723900 传真:00852-31072490 LAL公司是在2014年1月13日,为本次非公开发行事项专门在中国香港设立的有限责任公司。 (二)LAL公司与其控股股东、实际控制人间的股权控制关系结构图及本次认购非公开发行股票资金来源 1、LAL公司的股权控制关系结构如下图所示 ■ 2、实际控制人简历 唐葵,美国哥伦比亚大学工商管理学硕士学位,曾任高盛投资部门执行董事和高盛投资银行部董事总经理;高盛亚太地区(除日本外)电信、媒体和科技部投资主管;淡马锡控股负责全球投资事务的高级董事总经理,并任淡马锡控股(香港)有限公司总裁,负责中国投资业务。现任方源资本总裁。 胡勇敏,毕业于上海复旦大学,曾任贝尔斯登投资银行中国区负责人以及瑞士信贷第一波士顿(香港)执行董事并任其中国区电信、媒体和科技部门负责人;淡马锡控股董事总经理,负责淡马锡在中国的投资及全球房地产投资业务。现任方源资本董事总经理。 庄建,哈佛大学法学院硕士学位,曾就职于美国苏利文律师事务所纽约和香港办公室;美国高盛公司投资银行部执行董事,负责高盛公司在中国的兼并收购业务;淡马锡控股(香港)有限公司董事总经理。现任方源资本董事总经理。 赵辰宁,伦敦经济学院的金融硕士学位和中国人民银行研究生部的硕士学位,曾就职于高盛投资银行部,主要从事金融服务企业的投资银行业务;摩根大通亚洲投资基金(CCMP)副总裁,负责中国地区私募股权投资业务;淡马锡控股(香港)有限公司董事总经理,共同负责淡马锡在中国的投资业务。现任方源资本董事总经理。 3、资金来源 LAL公司认购本次非公开发行的25,000,000股股份所需资金全部来自于LAL公司及其母公司来源合法的、可自由支配的自有资金。 (三)LAL公司在本次发行完成后,对本公司委派董事、高管的计划安排以及对公司未来发展的战略规划 LAL公司作为境外战略投资者入股上市公司后,拟将充实的资本、专业的公司运营管理能力、丰富的并购经验与公司优秀的本土运营实力、务实的研发和生产能力融合在一起,具体在以下几个方面促使公司在市场竞争中保持市场领先地位: 1、内生性增长和外延性并购双轮驱动 LAL公司在致力于改善公司股权结构,加强经营管理能力,为公司的经营管理和未来发展注入的新活力,在公司现有的销售渠道和研发基础上实现新的内生性增长;同时,为公司未来围绕IVD行业的外延式并购提供有力的资本和技术支持,大力开展产业整合。 2、国内业务和国际业务协同发展 充分利用国家优惠政策,扩建产能,提高公司国内市场占有率和竞争力的同时,加大渠道建设力度,实现更多国家和地区的产品销售,扩大出口业务,实现国内业务和国际业务的协同发展。 3、加强研发,推陈出新,提升可持续发展的能力 进一步加大研发投入、拓建销售渠道,以提升公司的综合竞争力,增强公司的盈利能力。促进化学发光和POCT产品线的加速研发和上市,发力进口替代,丰富产品线,打造中国最具有影响力的一站式诊断产品提供商。 本次非公开发行完成后,LAL公司目前没有向公司提名新的董事、监事候选人的计划,也没有推荐新的高级管理人员人选的计划。 (四)境外战略投资者的承诺与保证 1、FountainVest Capital就本次股权转让事宜承诺并保证: “1、除《股份转让协议》项下的转让价款外,本企业以及旗下管理的基金、企业与转让方不存在其它资金往来。 2、本企业以及旗下管理的基金、企业与转让方不存在股权持有的情形。 3、除已公开披露的《股份转让协议》以及其它相关文件外,本企业以及旗下管理的基金、企业与转让方未就该等事项签订任何其它协议。” 2、LAL公司就本次股权转让事宜承诺并保证: “1、除《股份转让协议》项下的转让价款外,本企业与转让方不存在其它资金往来。 2、本企业与转让方不存在股权持有的情形。 3、除已公开披露的《股份转让协议》以及其它相关文件外,本企业与转让方未就该等事项签订任何其它协议。” (五)除本公司外,方源资本下属管理的基金目前未投资体外诊断行业等可能与本公司构成同业竞争的相关资产。 特此公告。 上海科华生物工程股份有限公司董事会 二〇一四年十二月九日
证券代码:002022 证券简称:科华生物 公告编号:2014-092 上海科华生物工程股份有限公司 关于非公开发行股票摊薄即期回报 的风险提示性公告 本公司及董事会全体成员保证信息披露内容的真实、准确和完整,没有虚假记载、误导性陈述或重大遗漏。 本公司拟向League Agent (HK) Limited(下称“LAL公司”)发行数量为25,000,000股的股份(下称“本次非公开发行”),本次非公开发行方案已经公司第五届董事会第十五次会议和2014年度第一次临时股东大会审议通过。现对本次非公开发行股票完成后摊薄即期回报的风险提示如下: 一、本次非公开发行对公司发行当年每股收益、净资产收益率的潜在影响以及摊薄即期回报的风险 本次非公开发行后,本公司的股本和净资产将有所增加。截至 2013 年12 月31 日,公司总股本为492,277,500股,归属于母公司所有者权益合计113,219.19万元,2013年度归属于母公司所有者净利润为28,832.92万元,2013 年公司基本每股收益为0.59元/股,加权平均净资产收益率为27.54%。本次非公开发行股票的数量为2,500万股,拟募集资金不超过40,000万元。因此,本次非公开发行股票完成后公司总股本将增加至517,277,500股,增加5.08%,净资产预计增长约35%。 由于本次募集资金拟用于补充流动资金,以满足公司未来发展资金需求,确保公司持续盈利能力,但非公开发行后公司总股本和净资产均有所增加,因此发行当年公司每股收益和加权平均净资产收益率等即期回报将面临一定的下降风险。 根据良好的行业发展态势以及公司积极的业务发展战略,上述风险将能被有效防范。公司过往三年收入和利润均保持了持续增长,前三年净利润的年复合增长率达12.76%,若公司未来业绩继续保持稳定增长,本次增发对本公司的即期回报的摊薄影响将较小。 二、公司为保证此次募集资金有效使用、有效防范即期回报被摊薄的风险、提高未来的回报能力所采取的措施 (一)积极推进公司的发展战略,采取多种措施,不断提升经营效率和盈利能力 未来,公司董事会将秉持发展战略,通过引入战略投资者,改善公司治理水平和决策机制,提升管理效率。在研发方面,进一步增强研发创新能力,准确掌握未来产业发展方向,为产业技术升级做好准备;在销售方面,继续扩大推动“仪器+试剂”的销售模式,提高对终端渠道的控制力,加强销售渠道建设,做好新产品上市的宣传和市场营销工作,同时提升品牌知名度,拓展全球销售渠道;在产品线方面,加快原有产品线的改造扩建和新增产品线的建设,加大核酸、POCT、临床化学等检测方面的生产投入;在外延式发展方面,顺应产业发展趋势,积极主动地寻求并购机会,以进一步丰富自身产品种类、数量,扩大产品领域的覆盖,提升市场占有率,增加利润增长点和抗风险能力,巩固公司现有的行业优势地位。 (二)强化募集资金管理,保证募集资金合理规范使用 本公司已按照《公司法》、《证券法》、《上市规则》、《规范运作指引》等法律法规、规范性文件及《公司章程》的规定制定《募集资金管理及使用办法》,已规范募集资金使用。根据《募集资金管理及使用办法》和公司董事会的决议,本次募集资金将存放于董事会指定的募集资金专项账户中;并建立了募集资金三方监管制度,由保荐机构、存管银行、公司共同监管募集资金按照承诺用途和金额使用,保荐机构有权至少每季度对募集资金使用情况进行实地检查;本次募集资金到账后,本公司将根据《募集资金管理及使用办法》保障募集资金用于承诺的投资项目,并定期对募集资金进行内部审计、配合监管银行和保荐机构对募集资金使用的检查和监督,保证募集资金合理规范使用。 (三)进一步完善利润分配制度特别是现金分红政策,优化投资回报机制 自上市以来,本公司一直以积极回报股东作为长期发展理念,每年均进行较大比例的现金分红,与股东分享公司经营收益。 根据中国证监会《关于进一步落实上市公司现金分红有关事项的通知》以及《上市公司监管指引第3号——上市公司现金分红》的相关要求,本公司分别于2012年度股东大会以及2014年度第二次临时股东大会修订了《公司章程》,明确了股利分配原则,鼓励现金分配,增强了公司股利分配决策的可操作性,建立了健全有效的股东回报机制。本次发行完成后,本公司将按照法律法规的规定和《公司章程》的约定,在符合利润分配条件的情况下,继续积极推动对股东的利润分配,有效维护和增加对股东的回报。 综上,本次发行完成后,本公司将合理规范使用募集资金,提高资金使用效率,持续采取多种措施进一步提高经营业绩,在符合利润分配条件的情况下,积极推动对股东的利润分配,以保证此次募集资金有效使用、有效防范即期回报被摊薄的风险、提高公司未来的回报能力。 特此公告。 上海科华生物工程股份有限公司董事会 二〇一四年十二月九日 本版导读:
发表评论:财苑热评: |

