证券时报网络版郑重声明经证券时报社授权,证券时报网独家全权代理《证券时报》信息登载业务。本页内容未经书面授权许可,不得转载、复制或在非证券时报网所属服务器建立镜像。欲咨询授权事宜请与证券时报网联系 (0755-83501827) 。 |
南京医药股份有限公司公告(系列) 2015-01-06 来源:证券时报网 作者:
证券代码:600713 证券简称:南京医药 编号:ls2015-001 南京医药股份有限公司 关于股东权益变动的提示性公告 本公司董事会及全体董事保证本公告内容不存在任何虚假记载、误导性陈述或者重大遗漏,并对其内容的真实性、准确性和完整性承担个别及连带责任。 重要内容提示: ●本次权益变动,是Walgreen Co.(以下简称“沃尔格林”)重组以及沃尔格林及Alliance Boots GmbH(以下简称“联合博姿”)全面合并的间接结果所致,未触及要约收购; ●本次权益变动未使南京医药股份有限公司(以下简称“公司”)控股股东及实际控制人发生变化。 一、本次权益变动基本情况 1、2014年12月3日,公司向2名特定对象,即南京医药集团有限责任公司(以下简称“南药集团”)、Alliance Healthcare Asia Pacific Limited(以下简称“Alliance Healthcare”)发行人民币普通股(A)股203,844,918股,其中向南药集团发行96,153,846股,向Alliance Healthcare发行107,691,072股。引入Alliance Healthcare为公司外国战略投资者,直接持有公司12%的股份。具体内容详见公司于2014年12月5日对外披露的编号为ls2014-071之《南京医药股份有限公司关于股东权益变动的提示性公告》。 2、本次权益变动,是沃尔格林公司重组以及沃尔格林及联合博姿全面合并的间接结果所致,2014年12月31日,沃尔格林公司重组完成之后,沃尔格林成为联合博姿的全资母公司,而沃尔格林通过股东一比一自动换股的方式成为了Walgreens Boots Alliance, Inc.的全资子公司。上述重组完成后,Walgreens Boots Alliance, Inc.间接持有了联合博姿100%的股份,而联合博姿仍然继续实际控制Alliance Healthcare,而Alliance Healthcare持有公司12%的股份,因此Walgreens Boots Alliance, Inc.间接持有公司12%股份。 3、本次权益变动前,Alliance Healthcare持有公司股份107,691,072股,占公司股本总额的12%。 4、本次权益变动后,Alliance Healthcare仍持有公司股份107,691,072股,占公司股本总额的12%。同时,Walgreens Boots Alliance, Inc.间接持有公司股份107,691,072股,占公司股本总额的12%。本次权益变动未导致公司控股股东及实际控制人发生变化,公司控股股东仍为南药集团,实际控制人仍为南京市人民政府国有资产监督管理委员会。 二、所涉及后续事项 根据《证券法》和《上市公司收购管理办法》等相关规定,本次公司权益变动相关信息披露义务人将按规定履行信息披露义务,相关权益变动报告书公司已于同日披露在上海证券交易所网站http://www.sse.com.cn。 特此公告。 南京医药股份有限公司董事会 2015年1月6日
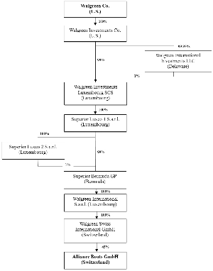
南京医药股份有限公司 简式权益变动报告书 上市公司名称:南京医药股份有限公司 股票上市地点:上海证券交易所 股票简称:南京医药 股票代码:600713 信息披露义务人: Walgreens Boots Alliance, Inc. 住所:c/o Corporation Services Company, 2711 Centerville Road, Suite 400, Wilmington, Delaware, 19808 通讯地址:108 Wilmot Road, Deerfield, Illinois, 60015 签署日期:二〇一五年一月四日 信息披露义务人声明 本部分所述词语或简称与本报告书“释义”所述词语或简称具有相同含义。 一、本报告书系信息披露义务人依据《中华人民共和国公司法》、《中华人民共和国证券法》、《上市公司收购管理办法》、《公开发行证券的公司信息披露内容与格式准则第 15 号——权益变动报告书》及其他相关法律、法规及部门规章的有关规定编写。 二、信息披露义务人签署本报告书已获得必要的授权和批准。 三、依据《中华人民共和国证券法》和《上市公司收购管理办法》的规定,本报告书已全面披露信息披露义务人在南京医药中拥有权益的股份变动情况;截至本报告书签署之日,除本报告书披露的信息外,信息披露义务人没有通过任何其他方式增加或减少其在南京医药中拥有权益的股份。 四、信息披露义务人承诺本报告书不存在虚假记载、误导性陈述或重大遗漏,并对其真实性、准确性、完整性承担个别和连带的法律责任。 第一节 释义 本报告书中,除非文意另有所指,下列简称具有如下特定意义: ■ 第二节信息披露义务人介绍 一、信息披露义务人的基本情况 公司名称:Walgreens Boots Alliance, Inc. 注册地址:c/o Corporation Services Company, 2711 Centerville Road, Suite 400, Wilmington, Delaware 19808 成立日期:2014年9月2日 现任董事:James A. Skinner, Gregory D. Wasson, Janice M. Babiak, David J. Brailer, Steven A. Davis, William C. Foote, Mark P. Frisssora, Ginger L. Graham, Alan G. McNally, Dominic Murphy, Stefano Pessina, Barry Rosenstein, Nancy M. Schlichting, Alejandro Silva 股票市值:公司已发行约10.909亿股普通股, 根据2014年12月31日的收盘价格(76.20美元/每股),公司市值约合831亿美元。 公司类型:公众上市公司 注册号码:141131728-5580041 主要经营范围:医药、健康和美容产品的批发和零售业务 经营期限:永久存续 税务登记证号码:47-1758322 通讯地址:108 Wilmot Road, Deerfield, Illinois 60015 联系方式:+1 (847)914-2500 主要股东:公司为一家NASDAQ上市公司。截止2014年12月31日,根据公司所了解的信息,其前5位的股东分别为:AB Acquisitions Holdings Limited (持股约12.8%), Alliance Sante Participations S.A.(持股约6.8%), The Vanguard Group, Inc.(持股约4.6%), State Street Global Advisors (US)(持股约3.5%), and Blackrock Institutional Trust Company, N.A.(持股约2.2%)。 二、信息披露义务人的董事和主要负责人 ■ 三、信息披露义务人持有其他上市公司已发行股份的情况 截至本报告书签署之日,信息披露义务人在境内、境外其他上市公司中拥权益的股份达到或超过该公司已发行股份的5%的情况如下: 信息披露义务人间接持有AmerisourceBergen Corporation(一家在美国纽约证券交易所上市的公司)约5.2%的股份(根据AmerisourceBergen Corporation截止至2014年10月31日的股票发行情况统计)。 信息披露义务人间接持有CEGEDIM(一家在巴黎证券交易所上市的公司)约8.68%的股份。 信息披露义务人间接持有FarmaciasAhumada S.A.(一家在智利圣地亚哥证券交易所上市的公司)约99.396%的股份,以及Farmacias Benavides S.A.B. de C.V.(一家在墨西哥证券交易所上市的公司)约96.56%的股份。 四、有关信息披露义务人的其他信息 信息披露义务人的主要业务为医药、健康和美容产品的批发、经销和零售业务。信息披露义务人目前有超过370,000名员工,业务覆盖超过25*个国家,为美国和欧洲最大的零售药房、健康和日常用品销售网点。按权益投资法计算,信息披露义务人在11*个国家内拥有超过12,800*家零售店;且拥有全球最大的药品批发和配送网络,在19*个国家内通过超过340*个配送中心每年向超过180,000■家药房、医生、健康中心和医院提供配送服务。 *根据2014年11月30日为止的数据,按权益投资法和估算法统计,且扣除了Alliance Healthcare Italia的数据(其在2014年12月起不再纳入联合博姿的权益投资范畴)。 ■截止2014年11月30日的年度,按权益投资法和估算法统计,且扣除了Alliance Healthcare Italia的数据(其在2014年12月起不再纳入联合博姿的权益投资范畴)。 第三节持股目的 信息披露义务人通过间接持有南京医药的股份,对南京医药进行战略投资。 截至本报告书签署之日,信息披露义务人尚无在未来12个月内增持南京医药股份权益的计划。 第四节权益变动方式 一、本次权益变动前的持股情况 经中国商务部和证监会等审批部门的批准,Alliance Healthcare于2014年12月3日完成了现金认购南京医药向其非公开发行的107,691,072股股份的交易,成为南京医药的外国战略投资者,占南京医药股份总额的约12%(请参阅Alliance Healthcare于2014年12月4日披露的简式权益变动报告书内容)。 在本报告所述沃尔格林公司重组于2014年12月31日完成之前,Alliance Healthcare的实际控制人为联合博姿。在本报告所述沃尔格林公司重组于2014年12月31日完成之前,沃尔格林间接持有联合博姿约45%的股份,而信息披露义务人并未持有联合博姿及Alliance Healthcare的股份。 联合博姿实际控制Alliance Healthcare的情况请见股权结构图1。 沃尔格林间接持有联合博姿45%的股份的情况见股权结构图2。 股权结构图1 ■ 股权结构图2 ■ 二、本次权益变动后的持股情况 本报告所述的权益变动是沃尔格林公司重组以及沃尔格林及联合博姿全面合并的间接结果所致。在2014年12月31日沃尔格林公司重组完成之后,沃尔格林成为联合博姿的全资母公司,而沃尔格林通过股东一比一自动换股的方式成为了Walgreens Boots Alliance, Inc.(即信息披露义务人)的全资子公司。本次沃尔格林公司重组已经取得了所有必须的内部和外部批准,包括但不限于美国证券交易委员会的所有备案,2014年12月29日沃尔格林公司股东特别会议批准等。 在上述的沃尔格林公司重组于2014年12月31日完成之后,沃尔格林已经从纽约证券交易所和NASDAQ退市,而Walgreens Boots Alliance, Inc.(即信息披露义务人)的股份已经在NASDAQ上市交易(Nasdaq:WBA)。 关于上述沃尔格林公司重组以及沃尔格林及联合博姿全面合并的具体内容,投资者还可查阅与此相关的向美国证券交易委员会提交的备案文件(包括但不限于2014年9月16日提交的S-4表格所载的注册文件及随后分别于2014年10月29日和2014年11月18日提交的两份补充修改文件、2014年11月24日提交的Walgreens Boots Alliance, Inc.的招股说明书和沃尔格林的股东授权文件等)。上述文件可在美国证券交易委员会网站(www.sec.gov)及信息披露义务人公司网站(investor.walgreensbootsalliance.com)免费下载。 在上述的沃尔格林公司重组于2014年12月31日完成之后,信息披露义务人已经间接持有了联合博姿约100%的股份,而联合博姿仍然继续实际控制Alliance Healthcare。Alliance Healthcare仍然继续持有南京医药约12%的股份。 联合博姿实际控制Alliance Healthcare的情况请见股权结构图1。 沃尔格林间接持有联合博姿约100%的股份的情况见股权结构图3。 股权结构图3 ■ 三、信息披露义务人和上市公司的重大交易以及有关上市公司的其他计划 (一)最近一年一期内与上市公司之间的重大交易情况 无。 (二)未来与上市公司之间的其他安排 除了Alliance Healthcare已经于2014年12月4日披露的简式权益披露报告书所述内容之外,信息披露义务人并无任何改变南京医药公司经营和业务的计划。 第五节前6个月买卖上市交易股份的情况 信息披露义务人在南京医药本次非公开发行股票发行之日前六个月内不存在买卖南京医药股票的情况。 第六节其他重大事项 信息披露义务人认为,本报告书已按有关规定对本次权益变动的有关信息进行了如实披露,无其他为避免对报告书内容产生误解应披露而未披露的信息。 第七节相关声明 本人以及本人所代表的Walgreens Boots Alliance, Inc.,承诺本报告书不存在虚假记载、误导性陈述或重大遗漏,并对其真实性、准确性、完整性承担个别和连带的法律责任。 授权代表:Joseph H. Greenberg 签署日期:2015年1月4日 第八节备查文件 一、备查文件 1、信息披露义务人的注册文件; 2、信息披露义务人董事及主要负责人的名单及其身份证明。 二、备查地点 上列备查文件的经确认的复印件可在南京医药(住所:南京市雨花台区小行里尤家凹1号)或上海证券交易所查阅。 附表: 南京医药股份有限公司简式权益变动报告书 ■ Walgreens Boots Alliance, Inc. 授权代表:Joseph H. Greenberg 签署日期: 2015年1月4日 本版导读:
发表评论:财苑热评: |



