证券时报网络版郑重声明经证券时报社授权,证券时报网独家全权代理《证券时报》信息登载业务。本页内容未经书面授权许可,不得转载、复制或在非证券时报网所属服务器建立镜像。欲咨询授权事宜请与证券时报网联系 (0755-83501827) 。 |
黑龙江京蓝科技股份有限公司公告(系列) 2015-01-20 来源:证券时报网 作者:
证券代码:000711 证券简称:京蓝科技 公告编号:2015-002号 黑龙江京蓝科技股份有限公司 第七届董事会第二十四次会议决议 (通讯表决) 特别提示 本公司及董事会全体成员保证信息披露的内容真实、准确、完整,没有虚假记载、误导性陈述或重大遗漏。 一、董事会会议召开情况 黑龙江京蓝科技股份有限公司(以下简称“公司”)第七届董事会第二十四次会议通知于2015年1月15日以邮件的方式发出,于2015年1月19日14:00在公司会议室以现场及通讯的方式召开。应到董事7名,实到董事7名,符合《中华人民共和国公司法》和《黑龙江京蓝科技股份有限公司章程》(以下简称“《公司章程》”)的规定。 二、董事会会议审议情况 本次会议由肖志辉先生主持,经与会董事认真审议并以记名投票方式表决,形成如下决议: (一)逐项审议通过了《修改<关于公司非公开发行A股股票方案的议案>中发行数量及部分募集资金用途的议案》 北京杨树创业投资中心(有限合伙)(以下简称“杨树创投”)与公司本次非公开发行股票认购对象京蓝控股有限公司受同一实际控制人控制,公司拟取消以本次非公开发行所得部分募集资金购买杨树创投持有的远江信息技术有限公司(以下简称“远江信息”)18.92%股权。据此,对公司二零一四年第三次临时股东大会审议通过的《关于公司非公开发行A股股票方案的议案》中的本次非公开发行股份数量进行调减(各认购对象认购的本次非公开发行股份数量将按照各认购对象认购本次发行股份的比例相应调减),调减募集资金数额10,406万元,对部分募集资金用途进行修改(将“购买远江信息100%股权”修改为“购买远江信息81.08%股权”)。 关联董事郭绍全先生回避了对本议案所有事项的表决,其他非关联董事对本议案所有事项进行了逐项表决,逐项审议表决结果如下: 1. 将《关于公司非公开发行A股股票方案的议案》中3. 发行数量及认购方式:?本次拟向京蓝控股有限公司发行股份?12,755.10?万股,向北京盈创嘉业投资中心(有限合伙)发行股份?2,551.02?万股,向杭州楼泰投资合伙企业(有限合伙)发行股份?3,401.36?万股,向北京信诚和顺投资中心(有限合伙)发行股份?3,401.36万股,向上海衢富资产管理有限公司发行股份?1,700.68?万股,合计发行数量为23,809.52?万股……修改为:发行数量及认购方式:?本次拟向京蓝控股有限公司发行股份11,807.0340万股,向北京盈创嘉业投资中心(有限合伙)发行股份2,361.4065万股,向杭州楼泰投资合伙企业(有限合伙)发行股份3,148.5425万股,向北京信诚和顺投资中心(有限合伙)发行股份3,148.5425万股,向上海衢富资产管理有限公司发行股份1,574.2704?万股,合计发行数量为22,039.7959万股……。 表决结果:6票同意,0票反对,0票弃权。 2. 将《关于公司非公开发行A股股票方案的议案》中8.募集资金用途:本次非公开发行股票募集资金总额为14亿元,扣除发行费用后的募集资金净额将用于收购刘智辉、李前进、北京杨树创业投资中心(有限合伙)、南京安盟股权投资企业(有限合伙)合计持有的远江信息技术有限公司(以下简称“远江信息”)100%股权、对远江信息增资用于补充其营运资金、天伦大厦及天誉花园五楼装修改造及偿还借款。募集资金投资项目情况如下: ■ 修改为:8.募集资金用途:本次非公开发行股票募集资金总额为129,594万元,扣除发行费用后的募集资金净额将用于收购刘智辉、李前进、南京安盟股权投资企业(有限合伙)合计持有的远江信息技术有限公司(以下简称“远江信息”)81.08%股权、对远江信息增资用于补充其营运资金、天伦大厦及天誉花园五楼装修改造及偿还借款。募集资金投资项目情况如下: ■ 表决结果:6票同意,0票反对,0票弃权。 (二)审议通过了《关于公司与发行对象签署附条件生效的股份认购协议之补充协议(二)的议案》 公司分别与发行对象签署附条件生效的股份认购协议之补充协议(二)。本议案由董事逐项表决,审议表决结果如下: 1. 黑龙江京蓝科技股份有限公司与京蓝控股有限公司签署《<关于黑龙江京蓝科技股份有限公司非公开发行股票之附条件生效的认购协议书>之补充协议(二)》 关联董事郭绍全回避了对本项的表决。 表决结果:6票同意,0票反对,0票弃权。 2. 黑龙江京蓝科技股份有限公司与北京盈创嘉业投资中心(有限合伙)签署《<关于黑龙江京蓝科技股份有限公司非公开发行股票之附条件生效的认购协议书>之补充协议(二)》 关联董事郭绍全回避了对本项的表决。 表决结果:6票同意,0票反对,0票弃权。 3. 黑龙江京蓝科技股份有限公司与杭州楼泰投资合伙企业(有限合伙)签署《<关于黑龙江京蓝科技股份有限公司非公开发行股票之附条件生效的认购协议书>之补充协议(二)》 表决结果:7票同意,0票反对,0票弃权。 4. 黑龙江京蓝科技股份有限公司与北京信诚和顺投资中心(有限合伙)签署《<关于黑龙江京蓝科技股份有限公司非公开发行股票之附条件生效的认购协议书>之补充协议(二)》 表决结果:7票同意,0票反对,0票弃权。 5. 黑龙江京蓝科技股份有限公司与上海衢富资产管理有限公司签署《<关于黑龙江京蓝科技股份有限公司非公开发行股票之附条件生效的认购协议书>之补充协议(二)》 表决结果:7票同意,0票反对,0票弃权。 (三)审议通过了《公司与刘智辉、李前进、北京杨树创业投资中心(有限合伙)、南京安盟股权投资企业(有限合伙)签订<股权转让协议之补充协议(二)>的议案》 鉴于公司将取消以本次非公开发行所得部分募集资金购买杨树创投持有的远江信息18.92%股权,公司与刘智辉、李前进、北京杨树创业投资中心(有限合伙)、南京安盟股权投资企业(有限合伙)签订《股权转让协议之补充协议(二)》,对股权转让方、转让股权比例、转让价款及其他相关条款进行了修改。 鉴于股权转让完成后本公司与远江信息股东杨树创投(亦为公司关联方)构成共同投资,关联董事郭绍全先生回避了对本议案的表决。 表决结果:6票同意,0票反对,0票弃权。 (四)审议通过了《修改<关于公司非公开发行A股股票预案的议案>部分内容的议案》 根据上述议案内容,修改《公司非公开发行A股股票预案的议案》部分相应内容。 表决结果:7票同意,0票反对,0票弃权。 三、备查文件 1、经与会董事签字并加盖董事会印章的董事会决议。 2、经独立董事签字的事前认可意见及独立意见。 黑龙江京蓝科技股份有限公司董事会 二O一五年一月二十日 与会董事签字: 肖志辉 陈 峰 郭绍全 赵润涛 陈方清 石 英 朱 江
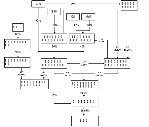
证券代码:000711 证券简称:京蓝科技 公告编号:2015-004号 黑龙江京蓝科技股份有限公司 关于公司与特定认购对象签署 《附条件生效的股份认购协议之补充 协议(二)》涉及关联交易的公告 本公司及董事会全体成员保证公告内容不存在任何虚假记载、误导性陈述或者重大遗漏,并对其内容的真实、准确和完整承担个别及连带责任。 重要内容提示 本次非公开发行A股股票方案尚需获得中国证券监督管理委员会的核准。本次非公开发行股票方案能否获得相关批准及获得批准的时间存在不确定性。 公司已于2015年1月19日召开第七届董事会第二十四次会议,审议通过了关于公司与特定认购对象签订《关于公司与发行对象签署附条件生效的股份认购协议之补充协议(二)的议案》涉及关联交易相关事项。 释 义 除非文义载明,下列简称具有如下含义: ■■ 一、关联交易概述 公司拟采用非公开发行方式向京蓝控股、盈创嘉业、楼泰投资、信诚投资和上海衢富发行A股股票募集资金。 本次发行前,京蓝控股持有公司18.65%的股份,为公司的控股股东,盈创嘉业为公司实际控制人梁辉控制的企业,因此,京蓝控股和盈创嘉业为公司的关联方,其认购公司非公开发行股份构成关联交易。 楼泰投资和信诚投资拟认购本次非公开发行股份分别为3,148.5425万股和3,148.5425万股,其认购本次非公开发行股份后所持公司的股份占公司发行后总股本的8.26%和8.26%,均超过公司发行后总股本的5%,根据《深圳证券交易所股票上市规则》的相关规定,楼泰投资和信诚投资视同本公司的关联方,其认购公司本次非公开发行股票的行为亦构成关联交易。 2014年8月17日,经公司第七届董事会第十九次会议审议通过,公司与京蓝控股、盈创嘉业、楼泰投资、信诚投资签署了《关于黑龙江天伦置业股份有限公司非公开发行股票之附条件生效的股份认购协议书》。 2014年12月15日,经公司第七届董事会第二十三次会议审议通过,公司与京蓝控股、盈创嘉业、楼泰投资、信诚投资签署了《关于黑龙江京蓝科技股份有限公司非公开发行股票之附条件生效的股份认购协议书之补充协议》。 2015年1月19日,经公司第七届董事会第二十四次会议审议通过,公司与京蓝控股、盈创嘉业、楼泰投资、信诚投资签署了《关于黑龙江京蓝科技股份有限公司非公开发行股票之附条件生效的股份认购协议书之补充协议(二)》。 二、关联方基本情况 (一)京蓝控股基本情况 1、京蓝控股概况 公司名称:京蓝控股有限公司 法定代表人:杨仁贵 注册资本:48,000万元 公司类型:有限责任公司 成立日期:2013年10月24日 注册地址:北京市海淀区苏州街55号3层01-A005(门牌号) 经营范围:投资管理;资产管理;投资咨询;项目投资;技术开发;销售自行开发后的产品、化工产品(不含危险化学品及一类易制毒化学品)、机械设备。(依法须经批准的项目,经相关部门批准后方可开展经营活动) 2、公司与京蓝控股之间的股权控制关系 截至预案公告日,京蓝控股持有公司18.65%的股份,为公司的控股股东,杨树蓝天为其控股股东,梁辉女士为京蓝控股的实际控制人,公司与京蓝控股之间的股权控制关系如下图所示: ■ 注:图中比例均为认缴出资比例,朱锦和阎涛之间不存在亲属关系,亦不存在一致行动关系;LP与GP间不存在可能影响GP对有限合伙企业控制能力的相关协议安排;盈创嘉业成立于2014年8月7日 3、京蓝控股最近一年简要会计报表 (1)资产负债表主要数据 单位:元 ■ 以上数据未经审计 (2)利润表主要数据 单位:元 ■ 以上数据未经审计 4、京蓝控股控股股东杨树蓝天情况 (1)杨树蓝天基本情况 公司名称:北京杨树蓝天投资中心(有限合伙) 企业性质:有限合伙企业 执行事务合伙人:杨树成长投资(北京)有限公司 主要经营场所:北京市海淀区中关村东路66号1号楼2309室 成立日期: 2013年02月05日 经营范围:投资管理、资产管理;投资咨询。 (2)杨树蓝天近一年财务数据 单位:元 ■ (3)杨树蓝天对外投资情况 截至预案公告日,除了投资京蓝控股之外,京蓝控股控股股东杨树蓝天未投资其他企业。 5、京蓝控股实际控制人情况 (1)京蓝控股实际控制人梁辉基本情况 实际控制人姓名:梁辉 身份证号码:42282219660701**** 性别:女 国籍:中国 长期居住地:北京 是否取得其他国家居留权:否 企业主要任职情况:在博雅阳光投资(北京)有限公司任执行董事兼经理 (2)梁辉女士对外投资情况 截至预案公告日,除了京蓝控股、杨树蓝天之外,梁辉控制的其他企业情况如下: ■■ 截至预案公告日,除上述公司外,梁辉的主要关联企业及主营业务情况如下: ■ (二)盈创嘉业基本情况 1、盈创嘉业概况 公司名称:北京盈创嘉业投资中心(有限合伙) 执行事务合伙人:杨树成长投资(北京)有限公司 公司类型:有限合伙企业 成立日期:2014年08月07日 主要经营场所:北京市海淀区信息路28号7层A236 经营范围: 投资管理;资产管理。(依法须经批准的项目,经相关部门批准后方可开展经营活动) 2、盈创嘉业股权结构 盈创嘉业执行事务合伙人为杨树成长,盈创嘉业实际控制人为梁辉女士。截至预案出具日,盈创嘉业股权结构如下: ■ 注:LP与GP间不存在可能影响GP对有限合伙企业控制能力的相关协议安排 3、盈创嘉业最近一年简要会计报表 盈创嘉业成立于2014年08月07日,不存在最近一年的财务数据。 4、盈创嘉业执行事务合伙人杨树成长情况 (1)杨树成长基本情况 公司名称:杨树成长投资(北京)有限公司 法定代表人:杨仁贵 注册资本:1,500万元 公司类型:有限责任公司 成立日期:2012年5月30日 注册地址:北京市朝阳区阜通东大街6号院5号楼8层912 经营范围:项目投资;投资管理;投资咨询;企业管理咨询;经济贸易咨询;市场调查 (2)杨树成长近一年财务数据 单位:元 ■ (3)杨树成长对外投资情况 除了投资盈创嘉业之外,杨树成长的对外投资情况详见本节之“一、京蓝控股基本情况”之“(二)公司与京蓝控股之间的股权控制关系”及“一、京蓝控股基本情况”之“(五)京蓝控股实际控制人情况”。 (三)楼泰投资基本情况 1、楼泰投资概况 公司名称:杭州楼泰投资合伙企业(有限合伙) 执行事务合伙人:郭家英 公司类型:有限合伙企业 成立日期: 2014年08月07日 注册地址:富阳市银湖街道富闲路9号银湖创新中心7号八层832室 经营范围: 实业投资、股权投资及相关咨询服务。(依法须经批准的项目,经相关部门批准后方可开展经营活动) 2、楼泰投资股权结构 郭家英为楼泰投资执行事务合伙人,郭家英为楼泰投资实际控制人。楼泰投资股权结构如下: ■ 注:LP与GP间不存在可能影响GP对有限合伙企业控制能力的相关协议安排 3、楼泰投资最近一年简要会计报表 楼泰投资成立于2014年08月07日,不存在最近一年的财务数据。 4、楼泰投资执行事务合伙人简介 (1)楼泰投资执行事务合伙人基本情况 执行事务合伙人姓名:郭家英 身份证号码:33010419500310**** 性别:女 国籍:中国 长期居住地: 中国 是否取得其他国家居留权: 无 企业主要任职情况:在楼泰投资担任执行事务合伙人 (2)楼泰投资执行事务合伙人对外投资情况 截至预案公告日,郭家英除了投资楼泰投资之外,没有其他对外投资。 (四)信诚投资基本情况 1、信诚投资概况 企业名称:北京信诚和顺投资中心(有限合伙) 执行事务合伙人:北京嘉恩投资管理有限公司 公司类型: 有限合伙企业 成立日期: 2014年08月08日 注册地址:北京市海淀区高里掌路1号院2号楼1层101-206 经营范围:投资管理;资产管理。(依法须经批准的项目,经相关部门批准后方可开展经营活动) 2、信诚投资股权结构 信诚投资执行事务合伙人为北京嘉恩投资管理有限公司,信诚投资实际控制人为李澄宇。截预案出具日,信诚投资股权结构如下: ■ 注:LP与GP间不存在可能影响GP对有限合伙企业控制能力的相关协议安排 3、信诚投资最近一年主要财务数据 信诚投资成立于2014年08月08日,不存在最近一年的财务数据。 4、信诚投资执行事务合伙人情况 (1)信诚投资执行事务合伙人基本情况 公司名称:北京嘉恩投资管理有限公司 法定代表人:谢春雨 注册资本: 1,000万元 公司类型: 有限责任公司 成立日期: 2012年6月14日 注册地址: 北京市朝阳区双柳北街39号1层101 经营范围: 项目投资;投资管理;投资咨询;技术推广服务;会议及展览服务;企业管理咨询;经济贸易咨询;市场调查;销售金属材料、机械设备、五金交电、电子产品、汽车配件、家用电器、仪器仪表、计算机、软件及辅助设备、建材、化工产品(不含危险化学品)。 (2)北京嘉恩投资管理有限公司近一年财务数据 单位:元 ■ (3)北京嘉恩投资管理有限公司对外投资情况 截至预案公告日,除了投资信诚投资之外,北京嘉恩投资管理有限公司还持有北京鼎兴虹明置业有限公司 20%股权。北京鼎兴虹明置业有限公司基本情况如下: 公司名称:北京鼎兴虹明置业有限公司 法定代表人: 张中宇 注册资本: 2,000万元 公司类型:有限责任公司 成立日期: 2012年07月19日 注册地址:北京市朝阳区双柳北街39号01层101 经营范围:房地产开发;物业管理。销售自行开发的商品房;经济贸易咨询;家居装饰;销售建筑材料、金属材料、日用品、工艺品、针纺织品、五金交电、化工产品(不含危险化学品)、机械设备、家具、家用电器。 5、信诚投资实际控制人情况 (1)信诚投资实际控制人基本情况 实际控制人姓名:李澄宇 身份证号码: 13280119680126**** 性别:男 国籍:中国 长期居住地:北京 是否取得其他国家居留权: 否 企业主要任职情况:北京鼎兴开翼投资管理有限公司董事长兼总经理 (2)信诚投资实际控制人对外投资情况 截至预案公告日,信诚投资实际控制人李澄宇除了投资北京嘉恩投资管理有限公司之外,还持有北京鼎兴开翼投资管理有限公司99.66%股权、北京鼎兴创业科技发展有限公司27.5%股权并间接持有北京东方人居房地产开发有限公司100%股权。 1)北京鼎兴开翼投资管理有限公司基本信息 公司名称:北京鼎兴开翼投资管理有限公司 法定代表人:李澄宇 注册资本:14,800万元 公司类型:有限责任公司 成立日期:2005年04月29日 注册地址:北京市东城区安定门外青年湖公园 经营范围:投资管理。 2)北京鼎兴创业科技发展有限公司基本信息 公司名称:北京鼎兴创业科技发展有限公司 法定代表人:李澄宇 注册资本:1,200万元 公司类型:有限责任公司 成立日期:2003年01月16日 注册地址:北京市平谷区平谷镇府前街31号(招商局院内) 经营范围:技术开发及转让;技术培训与服务;技术咨询(中介除外);组织文化艺术交流活动(演出、棋牌除外)、承办展览展示;销售五金交电、建筑材料、装饰材料、化工产品(不含化学危险品)、日用百货、服装、针纺织品、金属材料、计算机软硬件及外围设备不含计算机信息系统安全专用产品。 3)北京东方人居房地产开发有限公司基本信息 公司名称:北京东方人居房地产开发有限公司 法定代表人:李澄宇 注册资本:1,000 万元 公司类型:有限责任公司 成立日期:2002年07月03日 注册地址:北京市西城区佟麟阁路95号102室 经营范围:房地产开发;销售商品房、建筑材料、机械电器设备;信息咨询(不含中介服务);出租办公用房;机动车公共停车场服务。 三、本次关联交易相关的协议 本次关联交易相关的协议为公司与盈创嘉业、楼泰投资、信诚投资和京蓝控股签署附条件生效的股份认购协议之补充协议(二),其主要内容摘要如下: (一)与盈创嘉业签署的附条件生效的股份认购协议之补充协议(二)相关情况 1、协议主体和签订时间 发行人:黑龙江京蓝科技股份有限公司 认购人:盈创嘉业 签订日期:2015年1月19日 2、协议主要内容 将《附条件生效的股份认购协议》第1.1条“标的股份:指发行人本次拟向认购人非公开发行、认购人以现金认购的2,551.02万股人民币普通股(A股)”修改为“标的股份:指发行人本次拟向认购人非公开发行、认购人以现金认购的2,361.4065万股人民币普通股(A股)”。 (二)与楼泰投资签署的附条件生效的股份认购协议之补充协议(二)相关情况 1、协议主体和签订时间 发行人:黑龙江京蓝科技股份有限公司 认购人:楼泰投资 签订日期:2015年1月19日 2、协议主要内容 双方同意,将《附条件生效的股份认购协议》第1.1条“标的股份:指发行人本次拟向认购人非公开发行、认购人以现金认购的3,401.36万股人民币普通股(A股)”修改为“标的股份:指发行人本次拟向认购人非公开发行、认购人以现金认购的3,148.5425万股人民币普通股(A股)”。 (三)与信诚投资签署的附条件生效的股份认购协议之补充协议(二)相关情况 1、协议主体和签订时间 发行人:黑龙江京蓝科技股份有限公司 认购人:信诚投资 签订日期:2015年1月19日 2、协议主要内容 双方同意,将《附条件生效的股份认购协议》第1.1条“标的股份:指发行人本次拟向认购人非公开发行、认购人以现金认购的3,401.36万股人民币普通股(A股)”修改为“标的股份:指发行人本次拟向认购人非公开发行、认购人以现金认购的3,148.5425万股人民币普通股(A股)”。 (四)与京蓝控股签署的附条件生效的股份认购协议之补充协议(二)相关情况 1、协议主体和签订时间 发行人:黑龙江京蓝科技股份有限公司 认购人:京蓝控股 签订日期:2015年1月19日 (下转B27版) 本版导读:
发表评论:财苑热评: |




