证券时报网络版郑重声明经证券时报社授权,证券时报网独家全权代理《证券时报》信息登载业务。本页内容未经书面授权许可,不得转载、复制或在非证券时报网所属服务器建立镜像。欲咨询授权事宜请与证券时报网联系 (0755-83501827) 。 |
浙江升华拜克生物股份有限公司发行股份及支付现金购买资产并募集配套资金暨关联交易报告书(草案)摘要 2015-10-21 来源:证券时报网 作者:
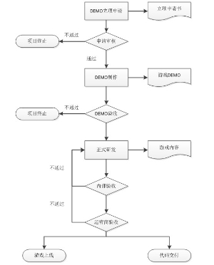
(上接B13版) 2001年3月28日,公司2000年年度股东大会审议通过《2000年度利润分配方案及2001年利润分配政策》。经2001年4月16日浙江省人民政府企业上市工作领导小组《关于同意浙江升华拜克生物股份有限公司增加注册资本的批复》(浙上市[2001]19号)同意,公司以2000年末总股本17,603.76万股为基数,向全体股东以10:2的比例派发红股。 本次利润分配完成后,公司注册资本增至211,245,120元,公司股权结构如下: ■ 5、2001年资本公积转增股本 2001年,经公司2001年第一次临时股东大会决议同意并经浙江省人民政府企业上市工作领导小组《关于同意浙江升华拜克生物股份有限公司增加注册资本的批复》(浙上市[2001]73号)同意,公司以2001年6月30日总股本21,124.512万股为基数,向全体股东按10:2的比例以资本公积转增股本。 本次资本公积转增股本实施完成后,公司注册资本增至25,349.4144万元,公司股权结构如下: ■ 6、2002年配股 2001年8月28日,公司2001年第一次临时股东大会审议通过《公司2001年配股的预案》。经2002年6月25日中国证监会《关于核准浙江升华拜克生物股份有限公司配股的通知》(证监发行字[2002]66号)、2002年9月17日浙江省人民政府企业上市工作领导小组《关于同意浙江升华拜克生物股份有限公司增加注册资本的批复》(浙上市[2002]59号)同意,公司以2000年12月31日总股本17,603.76万股为基数,按10:3的比例进行配股。因部分法人股东书面承诺放弃配售权,公司实际配售股份16,872,021股,其中向社会公众股股东配售16,800,000股,向浙江省科技风险投资公司配售72,021股。 本次配股完成后,公司的注册资本变为27,036.6165万元,公司股权结构如下: ■ 7、2003年升华集团、泛美发展股权转让 2003年3月5日,升华集团、泛美发展分别与天津开发区鸿基置业有限公司签订《股权转让协议书》,分别约定将其所持公司8,870,000股股份(占公司总股本的3.28%)、4,649,702股股份(占公司总股本的1.72%)转让给鸿基置业,转让价格均为每股3.02元,转让价款分别为2,678.74万元、1,404.21万元。 本次股权转让完成后,公司股权结构如下: ■ 8、2004年名策投资股权转让 2004年6月20日,根据浙江省金华市中级人民法院《民事裁定书》([2001]金中民执字第172-20号),浙江名策投资有限公司所持公司共计3,457,152股股份被裁定过户给金信信托投资股份有限公司。本次股份过户完成后,公司股权结构如下: ■ 9、2006年股权分置改革 2006年1月9日,公司股权分置改革相关股东会审议通过股权分置改革方案。2006年1月23日,商务部《关于同意浙江升华拜克生物股份有限公司股权转让的批复》(商资批[2006]237号)核准同意公司股权分置改革方案。根据股权分置改革方案,以方案实施的股权登记日2006年2月8日总股本27,036.6165万股、流通股9,744.00万股为基数,公司非流通股股东向流通股股东支付2,923.20万股股票作为对价取得上市流通权,流通股股东按其持有的流通股股数每10股获赠3股股份。 本次股权分置改革完成后,公司所有股权均为流通股,股权结构如下: ■ 10、2010年资本公积转增股本 2010年5月,经公司2009年度股东大会决议同意,公司以总2009年末总股本27,036.6165万股为基数,向全体股东按10:5的比例以资本公积转增股本。本次利润分配方案于2010年5月25日实施完毕,并于2010年6月30日完成工商变更登记手续。 本次资本公积金转增股本完成后,公司注册资本增至40,554.9248万元,公司股权结构如下: ■ 11、2012年升华集团股权转让 2012年5月28日,升华集团与德清丰华投资有限公司签署《股权转让协议》,约定将其所持公司2,030.00万股股份(占公司总股本的5.01%)转让给丰华投资,转让价格为每股7.20元,转让价款为14,616万元。 12、2015年升华集团股权转让 2015年6月5日,升华集团与沈培今签署《股权转让协议》,约定将其所持公司6,083.2387万股股份(占公司总股本的15%)转让给沈培今,转让价格为每股14.52元,转让价款为88,328.63万元。 2015年6月23日,升华集团分别与虞军、陆利斌、周文彬三位自然人签署了《股份转让协议》,升华集团分别向虞军、陆利斌、周文彬转让其所持有的升华拜克1,957.00万股股份(约占公司总股本的4.83%)、1,800.00万股股份(约占公司总股本的4.44%)、659.7457万股股份(约占公司总股本的1.63%),转让价格为每股14.52元,转让价款共计64,131.35万元。 本次股权转让完成后,沈培今持有升华拜克15%股份。升华集团直接持有升华拜克8.38%股份,通过德清丰华投资有限公司间接持有升华拜克2.50%的股份,合计持有升华拜克10.88%股份。本次权益变动导致升华拜克控股股东与实际控制人发生变更:控股股东由升华集团变更为沈培今,实际控制人由钟管镇资产管理委员会变更为沈培今。 三、上市公司最近三年控股权变动情况 2015年6月5日,升华集团与沈培今签署《股权转让协议》,约定将其所持公司6,083.2387万股股份(占公司总股本的15%)转让给沈培今,转让价格为每股14.52元,转让价款为88,328.63万元。 2015年6月23日,升华集团分别与虞军、陆利斌、周文彬三位自然人签署了《股份转让协议》,升华集团分别向虞军、陆利斌、周文彬转让其所持有的升华拜克1,957.00万股股份(约占公司总股本的4.83%)、1,800.00万股股份(约占公司总股本的4.44%)、659.7457万股股份(约占公司总股本的1.63%),转让价格为每股14.52元,转让价款共计64,131.35万元。 本次股权转让完成后,沈培今持有升华拜克15%股份。升华集团直接持有升华拜克8.38%股份,通过德清丰华投资有限公司间接持有升华拜克2.50%的股份,合计持有升华拜克10.88%股份。本次权益变动导致升华拜克控股股东与实际控制人发生变更:控股股东由升华集团变更为沈培今,实际控制人由钟管镇资产管理委员会变更为沈培今。 四、最近三年重大资产重组情况 上市公司最近三年未进行过重大资产重组。 五、主营业务发展情况 目前,公司的主营业务包括:农药原料药及制品、兽药和饲料添加剂产品的生产与销售以及锆系列产品制造与销售。 1、农药原料药及制品方面,公司从原料药到制剂纵向一体化的战略逐步得到贯彻落实,形成了从原料药到制剂一条龙的产品体系。公司的主要农药产品包括杀虫剂和除草剂两大系列。杀虫类产品以生物农药阿维菌素系列产品为主;除草剂以麦草畏系列产品为主。 2、兽药、饲料添加剂业方面,公司在畜禽的治疗、防疫和动物营养液等三大领域均已布局完成,拥有从原料药到制剂的完整产业链。随着畜牧业的现代化、集约化和规模化生产,兽药和饲料添加剂在降低发病率与死亡率、提高饲料利用率、促进生长和改善肉质方面起到了十分显著的作用。公司兽药及饲料添加剂产品以生物兽药、饲料添加剂系列产品及兽药中间体乙酰丙酮系列为主。 3、锆系列产品方面,公司目前是国内生产基础锆化合物品种较齐全的制造商之一。锆化合物凭借诸多优良的物理及化学性能被广泛应用于陶瓷、化学品、铸造、耐火材料等领域。公司锆系列产品以氧氯化锆、碳酸锆及二氧化锆产品为主。 六、最近三年及一期主要财务指标 根据天健对公司2012年度、2013年度、2014年度、2015上半年分别出具的天健审[2013]1588号、天健审[2014]926号、天健审[2015]1728号、天健审[2015]6506号标准无保留意见审计报告,公司最近三年主要财务数据如下(金额:元): (一)合并资产负债表主要数据 金额:元 ■ (二)合并利润表的主要数据 金额:元 ■ (三)主要财务指标 ■ 七、上市公司控股股东及实际控制人情况 (一)公司控股股东及实际控制人 公司控股股东及实际控制人为沈培今,截至本报告书签署日,其直接持有公司15%的股份。 沈培今,男,1979年出生,中国国籍,拥有新加坡永久居住权。2011年11月起至今在上海瀚叶投资控股有限公司担任董事长、总裁。2011年5月起至今在上海瀚叶财富管理顾问有限公司任董事长、总经理。 (二)公司与实际控制人之间的产权及控制关系图 截至本报告书签署日,公司与实际控制人股权结构图如下: ■ 八、最近三年合法合规情况 截至本报告书签署日,上市公司不存在因涉嫌犯罪被司法机关立案侦查或者涉嫌违法违规被中国证监会立案调查的情形。 (一)报告期内公司受到的行政处罚 报告期内,上市公司受到行政处罚的具体情况如下: 1、2013年湖州新奥特被湖州市环境保护局处罚事项 2013年5月,湖州新奥特因“委托无资质的个人处置污染物”,被湖州市环境保护局出具《行政处罚决定书》,处以罚款50,000.00元。 2、2015年湖州新奥特被湖州市环境保护局处罚事项 2015年4月,湖州新奥特因“违反危险废物转移联单的制度,在未向具有审批权限的环境保护主管部门申报危险废物转移计划的情况下,将部分蒸馏废渣进行处置”,被湖州市环境保护局出具《行政处罚决定书》,处以罚款180,000.00元。 (二)上市公司的整改措施 1、完善上市公司环保制度建设 上市公司严格贯彻实施ISO14001环境管理标准,根据环境法律法规和环保部门的要求,及时修订、完善突发环境污染事件应急预案;建立应急组织,强化各部门工作职责,配备事故应急池和相关应急设施,并定期检查维护、改造和升级;将环境管理体系的运行纳入公司综合管理百分考核,不断完善安全、环保、综合管理目标责任制,进一步强化对环境治理、生产作业现场的运行监管力度。 2、加大环保投入,提高污染防治水平 上市公司通过改造提升原有环保设施、配套设备,引进先进设备,推进节能减排;加强环保设施的日常管理,委托第三方进行监测,确保环保设施的正常运行。废水治理方面,针对集中污水处理中心实施废水深度处理工艺和设备设施改造,进一步提高处理效率;对废气集中治理,有机废气经多级冷凝、吸附工艺处理后进一步回收利用,对锅炉脱硫系统和除尘系统改造升级,提高尾气处理效率;固废治理实施分类处置,危险废物由有资质的单位进行处置,建立危险废物贮存场所,按规范建立健全了“三废”台账。 (三)对本次重大资产重组的影响 上市公司本次重大资产重组拟收购炎龙科技100%股权,本次重组拟购买资产不属于重污染行业,且其经营符合环保要求,重视并推进环境保护、节能降耗等工作。交易完成后,上市公司将以网络游戏业务,包括研发、代理发行及运营等作为公司战略转型重点方向。故上述行政处罚不会本次重大资产重组造成重大不利影响。 第三章交易对方基本情况 一、交易对方总体情况 本次发行股份及支付现金购买资产的交易对方为鲁剑、李练、西藏炎龙等炎龙科技全部股东。其中西藏炎龙持有炎龙科技50.00%的股权,鲁剑持有炎龙科技48.00%的股权,李练持有炎龙科技2.00%的股权。 二、交易对方具体情况 (一)鲁剑 1、基本情况 ■ 2、最近三年的职业和职务及任职单位产权关系 ■ 3、控制的核心企业和关联企业的基本情况 截至本报告书签署日,鲁剑控制的核心企业和关联企业除炎龙科技及其控股子公司COG、上海悦玩、上海页游及盛厚公(见本报告书摘要“第四章交易标的基本情况”之“五、炎龙科技下属子公司及分公司基本情况”)外,其他控制或关联企业情况如下: ■ 注:炎龙成长目前正在办理工商注销手续;炎龙福瑞、西藏炎龙并未实际经营业务,目前经营范围变更手续正在办理中。 (二)李练 1、基本情况 ■ 2、最近三年的职业和职务及任职单位产权关系 ■ 3、控制的核心企业和关联企业的基本情况 截至本报告书签署日,除炎龙科技外,李练参股的其他企业情况如下: ■ (三)西藏炎龙 1、概况 交易对方之西藏炎龙科技有限公司持有炎龙科技50.00%的股权。西藏炎龙的主要情况如下: ■ 2、历史沿革 2015年6月25日,自然人鲁剑、李练共同出资成立西藏炎龙科技有限公司。注册资本为人民币1,000万元,其中鲁剑认缴出资额为人民币960万元,李练认缴出资额为人民币40万元,认缴出资时间为2035年6月15日之前。 截至本报告书签署日,西藏炎龙股权结构如下表所示: ■ 3、产权控制关系 ■ 4、主营业务发展情况 西藏炎龙除持有炎龙科技50.00%股权外,目前无其他具体经营业务。 5、最近两年财务数据 报告期内,西藏炎龙无具体经营业务。 6、下属企业情况及关联企业 西藏炎龙除持有炎龙科技50.00%股权外,未直接或间接控制其他企业。 三、与上市公司是否存在关联关系和向上市公司推荐董事或者高级管理人员的情况 本次重组的交易对方与上市公司不存在关联关系。截至本报告书出具之日,交易对方未向上市公司推荐董事或者高级管理人员。 四、交易对方之间是否存在一致行动关系的情况 鲁剑、李练为夫妻关系,两人合计持有西藏炎龙100%的股权,三者之间存在一致行动关系。 五、交易对方最近五年内受到行政处罚、刑事处罚、或者涉及与经济纠纷有关的重大民事诉讼或者仲裁情况说明 根据交易对方出具的承诺与声明:截至本报告书出具之日,本人/本公司及主要管理人员最近五年未受过任何刑事处罚、证券市场相关的行政处罚,不存在与经济纠纷有关的重大民事诉讼或者仲裁的情况。 六、交易对方及其主要管理人员最近五年的诚信情况 根据交易对方出具的承诺与声明:截至本报告书出具之日,本人/本公司及主要管理人员最近五年不存在未按期偿还大额债务、未履行承诺、被中国证监会采取行政监管措施或受到证券交易所纪律处分的情况等。 第四章交易标的基本情况 一、炎龙科技的基本情况 ■ 截至本报告书签署日,炎龙科技的股权结构如下表所示: ■ 二、炎龙科技的历史沿革 (一)2007年1月,炎龙科技设立 炎龙科技系由自然人李练和鲁剑共同投资设立,设立时注册资本人民币10万元。根据成都市润会计师事务所有限责任公司出具《验资报告》(成世会[2007]验字第1A-4号)验证,确认炎龙科技已收到全体股东缴纳的注册资本(实收资本),合计人民币10万元,出资方式均为货币出资。 2007年1月9日,经成都市工商行政管理局核准,炎龙科技成立,注册资本为人民币10万元,法定代表人为李练,经营范围为计算机软硬件开发及销售;计算机系统集成;其他无需审批或许可的合法项目。 炎龙科技设立时的股权结构如下: ■ (二)2008年3月,第一次增加注册资本 2008年3月19日,经炎龙科技股东会审议,同意炎龙科技增加注册资本至100万元,其中李练增资90万元,增资方式均以货币增资,并通过炎龙科技章程修正案。根据四川华雄会计师事务所有限责任公司出具的《验资报告》(华雄验字[2008]第C-187号)验证,炎龙科技本次增资已出资到位。 2008年3月20日,炎龙科技完成了本次增资的工商变更登记。 本次增资完成后,炎龙科技的股权结构如下: ■ (三)2010年10月,第二次增加注册资本 2010年10月10日,经炎龙科技股东会审议,同意炎龙科技增加注册资本至400万元,其中鲁剑增资228万元,毛海岸增资40万元,周星佑增资16万元,张普增资16万元,增资方式均以货币增资,并通过炎龙科技新章程。根据成都中致和联合会计师事务所出具《验资报告》(中致和验字[2010]第10-001号)验证,炎龙科技本次增资已出资到位。本次增资,毛海岸、周星佑和张普并未实际出资,其增资款均由鲁剑实际缴纳,主要系出于保持公司核心团队稳定的考虑。 2010年10月10日,炎龙科技完成了本次增资的工商变更登记。 本次增资完成后,炎龙科技的股权结构如下: ■ (四)2010年11月,第一次股权转让 2010年11月4日,经炎龙科技股东会审议,同意李练将其持有的炎龙科技5.75%的股权以1万元转让给鲁剑,同意李练将其持有的炎龙科技5.50%的股权以220万元转让给徐昊,同意李练将其持有的炎龙科技6.25%的股权以250万元转让给周筱洁,同意李练将其持有的炎龙科技6.25%的股权以250万元转让给成都众盈投资管理有限公司,并同意通过炎龙科技章程修正案。 本次股权转让中,鲁剑系李练的配偶,故其转让价格仅为1万元;徐昊受让李练所持炎龙科技股权的转让价款并未支付,主要考虑到徐昊为公司核心业务人员,此次股权转让有利于保持公司核心团队稳定。 2010年11月4日,李练分别与鲁剑、徐昊、周筱洁、众盈投资签署了股权转让协议。2010年11月16日,炎龙科技完成了本次股权转让的工商变更登记。 本次股权转让完成后,炎龙科技的股权结构如下: ■ (五)2010年12月,第三次增资 2010年12月14日,经炎龙科技股东会审议,同意增加注册资本至550万元,其中成都亚商富易投资有限公司增资150万元,增资方式均以货币增资,并通过炎龙科技章程修正案。根据成都中致和联合会计师事务所出具的《验资报告》(中致和验字[2010]第12-002号)验证,炎龙科技本次增资已出资到位。 2010年12月20日,炎龙科技完成了本次增资的工商变更登记。 本次增资完成后,炎龙科技的股权结构如下: ■ (六)2011年3月,第四次增资 2011年3月1日,经炎龙科技股东会审议,同意炎龙科技将注册资本增加至1,100万元,同意将炎龙科技550万元的资本公积按原股东持股比例转增资本,并通过炎龙科技章程修正案。根据成都中致和联合会计师事务所出具的《验资报告》(中致和验字[2011]第005号)验证,炎龙科技已将资本公积550万元转增注册资本。 2011年3月8日,炎龙科技完成了本次增资的工商变更登记。 本次增资完成后,炎龙科技的股权结构如下: ■ (七)2011年12月,第二次股权转让 2011年12月19日,经炎龙科技股东会审议,同意众盈投资将其持有的炎龙科技4.55%的股权转让给上海辰祥投资中心(有限合伙),其他股东均放弃优先购买权,并通过炎龙科技章程修正案。 2011年12月28日,炎龙科技完成了本次股权转让的工商变更登记。 本次股权转让完成后,炎龙科技的股权结构如下: ■ (八)2012年3月,第五次增资 2012年2月10日,经炎龙科技股东会审议,同意炎龙科技增加注册资本至1250万元,其中新疆新玺股权投资有限合伙企业增资150万元,增资方式为以货币增资,并通过炎龙科技章程修正案。根据成都中致和联合会计师事务所出具的《验资报告》(中致和验字[2012]第004号)验证,炎龙科技本次增资已出资到位。 2012年3月2日,炎龙科技完成了本次增资的工商变更登记。 本次增资完成后,炎龙科技的股权结构如下: ■ (九)2013年10月,第三次股权转让 2013年9月27日,经炎龙科技股东会审议,同意张普、周星佑分别将其持有的炎龙科技2.56%的股权各以17.50万元转让给鲁剑,并通过炎龙科技章程修正案。本次股权转让低于其出资额,主要考虑到张普、周星佑增资时并未实际出资,实际价款由鲁剑代为支付。本次转让为张普、周星佑主动要求鲁剑进行回购,且其业务贡献未达到公司预期,故转让价格较低,最终价格由双方协商确定。 2013年9月27日,张普、周星佑与鲁剑签署了股权转让协议。2013年10月22日,炎龙科技完成了本次股权转让的工商变更登记。 本次股权转让完成后,炎龙科技的股权结构如下: ■ (十)2014年7月,第四次股权转让 2014年7月15日,经炎龙科技股东会审议,同意毛海岸将其持有的炎龙科技6.40%的股权以55万元转让给鲁剑,同意徐昊将其持有的炎龙科技3.52%的股权以30.25万元转让给鲁剑,并同意通过炎龙科技章程修正案。本次股权转让价款低于其出资额,主要考虑到徐昊、毛海岸取得该股权时并未实际出资,其中毛海岸因个人经济原因要求鲁剑回购其所持股权,徐昊因离职业务贡献未达公司预期,最终转让价款由双方协商确定。 2014年7月15日毛海岸、徐昊分别与鲁剑签署了股权转让协议。 2014年7月23日,炎龙科技完成了本次股权转让的工商变更登记。 本次股权转让完成后,炎龙科技的股权结构如下: ■ (十一)2014年8月,第五次股权转让 2014年8月5日,经炎龙科技股东会审议,同意周筱洁将其持有的炎龙科技4.00%的股权以1,400万元转让给李练,同意成都亚商将其持有的炎龙科技24.00%的股权以8,400万元转让给鲁剑,同意新疆新玺将其持有的炎龙科技12.00%的股权以4,200万元转让给鲁剑,同意上海辰祥将其持有的炎龙科技4%的股权以1,400万元转让给鲁剑,并同意通过炎龙科技章程修正案。 2014年8月5日,周筱洁与李练签署了股权转让协议,成都亚商、新疆新玺、上海辰祥分别与鲁剑签署了股权转让协议。 2014年8月5日,炎龙科技完成了本次股权转让的工商变更登记。 本次股权转让完成后,炎龙科技的股权结构如下: ■ (十一)2015年10月,第六次股权转让 2015年10月9日,炎龙科技股东会作出决议,同意鲁剑将其持有的公司600万元出资额转让给西藏炎龙,李练将其持有的公司25万元出资额转让给西藏炎龙。@ 2015年10月13日,西藏炎龙分别与鲁剑、李练签署了相应的《股权转让协议》,转让价格分别为6,240万元、260万元。@ 2015年10月14日,成都市工商行政管理局核准上述变更登记。 本次股权转让完成后,炎龙科技的股权结构如下: ■ 三、炎龙科技最近三年资产评估、交易、增资情况 除本次交易外,炎龙科技最近三年未进行资产评估。 炎龙科技最近三年存在股权交易及增资情况,详见本章“二、炎龙科技的历史沿革”。 四、炎龙科技产权控制关系 截至本报书签署日,炎龙科技的产权控制关系如下: ■ 炎龙科技的实际控制人为鲁剑、李练,其简历详见本报告书摘要“第三章交易对方基本情况”之“二、交易对方具体情况”。 五、炎龙科技下属子公司及分公司基本情况如下: 截至本报告书签署日,炎龙科技下属子公司及分公司基本情况如下: (一)上海页游网络科技有限公司基本情况 (1)基本情况 ■ 2、历史沿革 (1)2012年3月,上海页游设立 2012年3月1日,曾伟、阳海涛共同出资设立上海页游,注册资本为10万元,其中曾伟以货币认缴8.774万元,阳海涛以货币认缴1.226万元。 2012年3月6日,上海瑞和会计师事务所有限公司出具《验资报告》(瑞和会验字[2012]第0186 号),经审验,截至2012年2月29日,上海页游已收到全部股东以货币缴纳的注册资本10万元。 2012年3月14日,上海页游办理了公司设立的工商注册登记手续,并领取了上海市工商局嘉定分局核发的注册号为310113000953706的《企业法人营业执照》。上海页游设立时的股权结构如下: ■ (2)2012年5月,股权转让 2012年5月4日,曾伟与黄正仙签署了相应的《股权转让协议》,曾伟将其持有的上海页游1.226万元出资额(12.26%股权)以1.226万元价格转让给黄正仙。2012年5月4日,上海页游股东会作出决议,同意前述股权变更事项。 2012年5月9日,上海市工商局宝山分局核准上述变更登记。本次变更完成后,上海页游的股权结构如下: ■ (3)2012年6月,增加注册资本 2012年5月15日,上海页游股东会作出决议,同意公司注册资本增加至20.4082万元,新增10.4082万元注册资本,由成都炎龙科技以货币300万元认缴,其中10.4082万元计入公司注册资本,其余289.5918万元计入公司资本公积。 2012年6月4日,上海瑞和会计师事务所出具《验资报告》(瑞和会验字[2012]第0552号),经审验,截至2012年5月23日,上海页游已收到炎龙科技缴纳的货币出资300万元。 2012年6月18日,上海市工商局宝山分局核准上述变更登记。 本次变更完成后,上海页游的股权结构如下: ■ (4)2013年4月,股权转让 2013年4月18日,曾伟与黄正仙签署了相应的《股权转让协议》,黄正仙将其持有的上海页游1.226万元出资额(6.007%股权)以1.226万元转让给曾伟。 2013年4月18日,上海页游股东会作出决议,同意前述股权变更事项。 2013年4月27日,上海市工商局宝山分局核准上述变更登记。本次变更完成后,上海页游的股权结构如下: ■ (5)2014年8月,股权转让 2014年8月20日,曾伟与阳海涛签署了相应的《股权转让协议》,阳海涛将其持有的上海页游1.226万元出资额(6.0074%股权)转让给曾伟。2014年8月20日,上海页游股东会作出决议,同意上述股权变更事项。 本次变更完成后,上海页游的股权结构如下: ■ (二)上海悦玩网络科技有限公司基本情况 1、基本情况 ■ 2、历史沿革 (1)2012年6月6日,上海悦玩设立 2012年5月14日,欧阳伟、王奇共同出资设立上海悦玩,注册资本为人民币3万元,其中欧阳伟以货币认缴2.3878万元,王奇以货币认缴0.6122万元。 2012年5月24日,上海汇永会计师事务所有限公司出具《验资报告》(汇永验字[2012]050号),经审验,截至2012年5月21日,上海悦玩已收到全部股东以货币缴纳的注册资本3万元。 2012年6月6日,上海悦玩办理了公司设立的工商注册登记手续,并领取了上海市工商局嘉定分局核发的注册号为310114002405749的《企业法人营业执照》。上海悦玩设立时的股权结构如下: ■ (2)2012年11月,增加注册资本 2012年9月18日,上海悦玩股东会作出决议,同意公司注册资本增加至6.1224万元,新增3.1224万元注册资本,由成都炎龙科技以货币100万元认缴,其中3.1224万元计入公司注册资本,其余96.8776万元计入公司资本公积。 2012年11月1日,上海汇永会计师事务所出具《验资报告》(汇永验字[2012]087号),经审验,截至2012年10月24日,上海悦玩已收到炎龙科技缴纳的货币出资100万元。 2012年11月20日,上海市工商局嘉定分局核准上述变更登记。 本次变更完成后,上海悦玩的股权结构如下: ■ (3)2013年3月,资本公积转增注册资本 2013年1月5日,上海悦玩股东会作出决议,同意公司注册资本增加至103万元,新增的96.8776万元注册资本,由全体股东按持股比例以资本公积转增注册资本。 2013年2月28日,上海汇永会计师事务所出具《验资报告》(汇永验字[2013]002号),经审验,截至2012年12月1日,上海悦玩已将资本公积人民币96.8776万元转增为实收资本。 2013年3月5日,上海市工商局嘉定分局核准上述变更登记。 本次变更完成后,上海悦玩的股权结构如下: ■ (4)2014年6月,股权转让 2014年4月18日,上海悦玩股东会作出决议,同意欧阳伟将其持有的上海悦玩40.17万元出资额(39%股权)以1元价格转让给炎龙科技;同意王奇将持有的上海悦玩10.3万元出资额(10%股权)以1元价格转让给成都炎龙科技有限公司。同日,欧阳伟、王奇分别与成都炎龙科技签署了相应的《股权转让协议》。 2014年6月16日,上海市工商局嘉定分局核准上述变更登记。 本次变更完成后,上海悦玩的股权结构如下: ■ (三)COG Publish Limited基本情况 ■ 2、历史沿革 COG是由自然人黄惠华于2008年10月24日在萨摩亚注册设立并有效存续的有限责任公司,登记注册资本为人民币1,000,000.00美元。 2010年12月30日,炎龙科技与黄惠华签订《收购协议》,黄惠华将其持有的COG全部股权及其他全部资产转让给炎龙科技,转让价款为10,000.00美元。2011年12月2日,炎龙科技就上述事项完成变更登记。 (四)上海盛厚公技术有限公司 ■ 六、炎龙科技主营业务发展情况 (一)炎龙科技主营业务概况 炎龙科技的主营业务为网络游戏的研发、代理发行及IP与源代码合作。具体包括: 网络游戏研发及授权运营。炎龙科技通过独立研发、合作研发等方式研发网络游戏产品并授权网络游戏运营商运营。 网络游戏代理发行。炎龙科技与网络游戏研发商合作,获得其旗下相关网络游戏产品独家发行权(主要为境外区域市场)并将该游戏产品授予游戏运营商运营。 网络游戏IP合作及游戏源代码采购、研发和销售。炎龙科技获得境外动漫等IP授权后,通过代理、共同研发等方式实现知名IP资源的游戏产品转化及商业化;同时,炎龙科技采购境外网络游戏源代码并进行研发,将所研发的网络游戏产品出售给网络游戏运营商。 近两年,炎龙科技主营业务经营业绩良好。游戏研发方面,炎龙科技通过自主或合作等方式研发了《荣耀之战》、《武斗群雄》、《仙剑炼妖录》、《傲视苍穹》、《风云无双》、《雷神之城》、《创世英雄》等多款网页游戏产品,树立并不断巩固了炎龙科技的品牌;《荣耀之战》、《仙剑炼妖录》、《武斗群雄》、《雷神之城》、《创世英雄》等游戏产品还迅速走向境外市场,目前已出口至港澳台、日本、东南亚、北美、巴西等国家和地区并取得良好运营业绩。2014年,炎龙科技游戏产品研发业务实现营业收入8,799.92万元,其中《荣耀之战》(包括印尼版和东南亚版)实现2,001.54万元,《武斗群雄》实现1,218.21万元,《仙剑炼妖录》(包括大陆版、北美版和台湾版)实现714.11万元。在积极研发网页游戏产品的同时,炎龙科技近年来也开始大力研发移动游戏产品,目前,《我是大侠》、《撸啊撸》及《死神》等移动游戏产品正在研发过程中。 代理发行方面,炎龙科技一直同港澳台、泰国、越南等地区的网络游戏运营商保持良好的业务合作关系,具备良好的网络游戏运营商资源及丰富的境外网络游戏产品代理发行经验。报告期内,炎龙科技先后代理发行《天空幻想》、《终极火力》、《Call of Chaos》、《独孤求败》及《猎魔》等国内知名网络游戏产品,取得了较好的发行业绩。2014年,炎龙科技及其子公司共实现代理发行收入1,085.67万元,其中《Call of Chaos》实现代理发行收入695.49万元。 IP与源代码合作方面,炎龙科技获得《妖精的尾巴》、《死神》等知名IP授权,并通过代理、共同研发等方式实现知名IP资源的游戏产品转化及商业化。2014年,炎龙科技实现游戏IP合作收入1,083.60万元。同时,炎龙科技购买《幻想之纪》、《军曹》等境外知名网络游戏产品源代码,通过对产品源代码再次研发并销售给网络游戏产品运营商,取得了良好的经济效益。2015年1-6月,炎龙科技实现游戏源代码合作收入1,886.79万元。 除上述业务外,炎龙科技还建立了网络游戏运营平台—www.yeyou365.com,通过上述网络游戏运营平台联合运营《斗破乾坤》、《烈火战神》、《凡人修真》及《烈焰》等网络游戏。2013年,炎龙科技实现网络游戏运营收入854.23万元。近年来,公司顺应网络游戏发展趋势,逐步压缩以网页游戏运营为主的游戏运营业务,力争逐步实现向移动游戏运营业务转型,使得报告期内游戏运营业务收入出现大幅下降。 (二)炎龙科技业务所处行业 1、行业概况 炎龙科技主要从事网络游戏的研发、代理发行、IP与源代码合作,属于电子游戏行业中的网络游戏细分行业。 根据中国证监会2012年10月26日发布的《上市公司行业分类指引》(2012年修订),网络游戏行业属于“信息传输、软件和信息技术服务业”项下的“I 65 软件和信息技术服务业”;根据《国民经济行业分类代码表》,网络游戏行业属于“I 6420互联网信息服务业”。 根据游戏玩家、机器的交互形式不同,一般可以将电子游戏分为单机游戏和网络游戏。单机游戏是电子游戏早期的主流形式,在此阶段游戏玩家只能与机器进行互动,玩家在意的是游戏品质。网络游戏是指由软件程序和信息数据构成,通过互联网、移动通信网等信息网络渠道提供的游戏产品和服务。网络游戏以互联网为媒介,将现实社会范围内的玩家吸引到统一的平台,在一定程度上构建了一个虚拟的社会,无论在广度、深度上都变革了电子游戏的功能。 网络游戏具体可以分为客户端网游、网页网游和移动网游三大类。如下图所示: ■ 客户端网游业内通常简称“端游”,是用户需要自互联网下载游戏客户端并安装于自己的电脑中,通过客户端入口进入游戏的网络游戏类型。 网页网游又称无端网游,业内通常简称“页游”,是基于网页开发技术,于互联网浏览器上实现的网络游戏类型。 移动网游业内通常简称“手游”,是指以手机或其他移动终端为载体,通过移动互联网接入游戏服务器进行多人同时在线互动的网络游戏类型。 报告期内,炎龙科技主要从事网页游戏产品的研发和代理发行,主要包括《风云无双》、《仙剑炼妖录》、《雷神之城》、《荣耀之战》、《创世英雄》、《武斗群雄》、《傲视苍穹》、《Call of Chaos》、《天空幻想》及《终极火力》等;同时,炎龙科技也通过自主研发和合作研发的方式大力研发移动游戏产品,目前《我是大侠》、《撸啊撸》及《死神》等移动游戏产品正在研发过程中。 2、行业监管体制 (1)网络游戏行业管理体制及主管部门 网络游戏行业的行政主管部门包括文化部、国家新闻出版广电总局、工信部及国家版权局等,行业自律组织为中国软件行业协会(游戏软件分会)。 ①文化部 文化部主要负责拟订文化艺术方针政策,起草文化艺术法律法规草案;负责制定互联网文化发展与管理的方针、政策和规划,监督管理全国互联网文化活动;负责文艺类产品网上传播的前置审批工作,对网络游戏服务进行监管(不含网络游戏的网上出版前置审批);拟订动漫、游戏产业发展规划并组织实施,指导协调动漫、游戏产业发展。 ②工信部 工信部主要负责制定并组织实施工业、通信业的行业发展规划、产业政策、技术标准和规范;依法对电信和互联网等信息通信服务实行监管,承担互联网行业管理;拟订市场准入、监管政策、标准并组织实施;指导电信和互联网相关行业自律和相关行业组织发展;承担移动互联网及智能终端的管理。 ③国家新闻出版广电总局 国家新闻出版广电总局负责拟订新闻出版的方针政策,把握正确的舆论导向和创作导向;起草新闻出版和著作权管理的法律法规草案,制定部门规章、政策、行业标准并组织实施和监督检查;监管出版活动;对互联网出版和开办手机书刊、手机文学业务等数字出版内容和活动进行监管;负责著作权管理和公共服务;负责网络游戏网上发行前置审批和进口网络游戏审批管理。 ④国家版权局 国家版权局主要负责拟订国家版权战略纲要和著作权保护管理使用的政策措施并组织实施,承担国家享有著作权作品的管理和使用工作,对作品的著作权登记和法定许可使用进行管理;组织查处著作权领域重大及涉外违法违规行为;组织推进软件正版化工作。 ⑤中国软件行业协会(游戏软件分会) 中国软件行业协会游戏软件分会是我国网络游戏行业主管协会,隶属于工业和信息化部,为全国性的行业组织,业务上接受工业和信息化部、文化部等业务有关的主管部门领导。协会主要职责和任务是配合、协助政府的游戏产业主管部门对我国从事游戏产品(包含各种类型的游戏机硬件产品和各种类型的游戏软件产品)开发、生产、运营、服务、传播、管理、培训活动的单位和个人进行协调和管理。 (2)网络游戏行业主要法律法规及自律规则 我国网络游戏行业的法律法规监管体系主要包括《中华人民共和国电信条例》、《互联网文化管理暂行规定》、《互联网信息服务管理办法》、《网络游戏管理暂行办法》和《关于加强网络游戏虚拟货币管理工作的通知》等规定。上述法律法规及规章,对网络游戏企业从资质获取、经营管理,到游戏发行前的前置审批、游戏内容和宣传方式等方面都进行了规范。此外,《中国游戏行业自律公约》则从行业经营行为规范、行业竞争行为规范、知识产权行为规范等方面,明确了相关的自律措施。 网络游戏行业涉及的主要法律法规如下: ■ 3、行业发展现状及发展趋势 (1)行业发展现状 ①游戏用户数量平稳增长,销售收入大幅上升。根据GPC、CNG与IDC联合发布的《2014年中国游戏产业报告》统计,2014年底全国游戏市场用户数量达到5.17亿人,同比增长4.6%。1 1资料来源:除标明数据来自《2015年1-6月中国游戏产业报告》外,其他数据均来自《2014年中国游戏产业报告》,下同。 图10-1 2008年-2014年我国网络游戏用户规模及增长率 ■ 另据GPC、CNG与IDC联合发布的《2015年1-6月中国游戏产业报告》统计,2015年6月末全国游戏市场客户端网游、网页网游和移动网游用户数分别达到1.34亿人、3.05亿人和3.66亿人,同比分别增长3.5%、2.5%和12.5%。 销售收入方面,2014年我国游戏市场整体收入达到1,144.8亿元,同比增长37.7%。 图10-2 2008年-2014年我国网络游戏市场销售收入 ■ 另据《2015年1-6月中国游戏产业报告》最新统计,2015年1-6月我国游戏市场整体收入达到605.1亿元人民币,同比增长21.9%。 ②游戏细分市场呈现差异化发展。客户端网游市场发展稳定。2014年客户端网游用户数增长3.9%,达到1.58亿人,2015年6月末达到1.34亿人,同比增长3.5%;2014年客户端网游整体收入增长13.5%,达到608.9亿元,占国内整体游戏市场的一半以上,2015年1-6月收入达到267.1亿元人民币,同比增长4.5%。市场规模方面,2014年我国客户端网游市场规模接近600亿元,2015年继续保持稳定增长。 网页网游市场步入成熟期。2014年网页网游用户数量为3.07亿人,2015年6月末达到3.05亿人,同比增长2.5%;2014年网页网游收入达到202.7亿元,同比增长58.5%,2015年1-6月收入达到102.8亿元人民币,同比增长12%。除了产品精良度与日俱增外,网页网游的商业模式、产业结构、市场格局,竞争规则均已稳定。 移动网游市场大幅增长。截至2014年底,移动网游用户规模相比2013年增加15.1%,达到3.58亿人,2015年6月末达到3.66亿人,同比增长12.5%;2014年移动网游收入到274.9亿元,2015年1-6月收入达到209.3亿元人民币,同比增长67.2%,继续强势增长。移动网游市场已进入快速通道,硬件性能提升为游戏用户转化提供了硬件基础;4G牌照的发放又为用户提供了网速的保障,为游戏用户的转化提供了网络基础。 ③海外出口迅猛增长。2014年我国自主研发网络游戏海外市场销售收入达到30.76亿美元,同比增长69.02%,2015年1-6月海外市场销售收入达到17.6亿美元,同比增长121.4%,海外销售继续大幅增长。2014年原创客户端网游、网页网游及移动网游产品海外出口销售收入分别为8.53亿美元、9.5亿美元及12.73亿美元,同比增长率分别达到4.15%、30.49%及366.39%;出口类型构成方面,2014年出口网游产品中,原创客户端网游、网页网游及移动网游产品出口数量分别占比27.7%、30.9%及41.4%。 (2)行业发展趋势 ①国家产业和经济政策利好游戏产业 网络游戏行业属国家鼓励发展行业之一。近年来,国家有关部门先后颁布了《国民经济和社会发展第十二个五年规划纲要》、《中共中央关于深化文化体制改革推动社会主义文化大发展大繁荣若干重大问题的决定》、《文化部“十二五”时期文化产业倍增计划》等一系列重要政策文件,明确强调要加大对游戏产业的扶持力度,促进文化娱乐领域资源的整合和结构的优化。近年来国家出台的有关主要产业政策具体如下: 2011年1月,国务院办公厅发布《进一步鼓励软件产业和集成电路产业发展的若干政策》(国发〔2011〕4号),指出继续完善激励措施,明确政策导向,对于优化产业发展环境,增强科技创新能力,提高产业发展质量和水平,具有重要意义。 2011年10月,中国共产党十七届六中全会审议并通过《中共中央关于深化文化体制改革、推动社会主义文化大发展大繁荣若干重大问题的决定》,将“加快发展文化创意、数字出版、移动多媒体、动漫游戏等新兴文化产业”作为构建现代文化产业体系的重要一环,为网络游戏行业的发展提供了强有力的政策支持保障。 2011年12月,国务院办公厅发布了《国务院办公厅关于加快发展高技术服务业的指导意见》(国办发〔2011〕58号),提出要重点推进数字内容服务等八个领域的高技术服务加快发展,拓展数字动漫、健康游戏等数字内容服务。 2013年8月,国务院办公厅发布了《国务院关于促进信息消费扩大内需的若干意见》(国发〔2013〕32号),提出大力发展数字出版、互动新媒体、移动多媒体等新兴文化产业,促进动漫、网络游戏、数字音乐、网络艺术品等数字文化内容的消费。 2014年,《关于推进文化创意和设计服务与相关产业融合发展的若干意见》(国发[2014]10号)、《关于推动传统媒体和新兴媒体融合发展的指导意见》等文件提出加快实现由“中国制造”向“中国创造”转发,提升国家文化软实力和产业竞争力,推动文化产品和服务的生产、传播、消费数字化、网络化进程;强化互联网思维,坚持先进技术为支撑,内容建设为根本,形成立体多样、融合发展的现代传播体系。更多媒体集团进军网络游戏行业,坚定了转型融合信心,给游戏企业带来新的发展机遇。 ②信息基础设施及硬件更新换代带来游戏产业发展良机 以4G移动网络牌照的颁发和相关技术的普及为标志,我国信息网络基础设施建设加速,通信技术创新推动网络游戏产业深度融合;移动宽带互联网网速提升,运营商为推进新技术主动下调资费价格;多家获得虚拟运营商牌照的民营企业相继推出配套的服务和产品,促进市场竞争;智能移动终端设备升级换代,迎来新一轮价格下调。上述信息基础设施及硬件的更新换代为网络游戏用户提供了更宽松的体验环境,也推动网络游戏研发商开发出更多的人机交互、社交场景等网络游戏娱乐功能及模式,增强游戏画面表现力并丰富游戏内容,为网络游戏产业发展带来广阔的发展机遇。 ③网络游戏消费日益便捷化 随着生活节奏的加快,网络游戏市场用户的闲暇时间日益碎片化,同时智能手机的普及和手机性能的持续优化,要求能更加便捷、简单轻松地消费网络游戏。为迎合快节奏环境下的网络游戏消费习惯,网络游戏研发商也逐渐向研发便捷化、快餐化网络游戏转变。网页网游和移动网游以其游戏画面绚丽、游戏操作简单、游戏体验轻松的特点,能够较好的满足游戏玩家的上述需求变化,从而将促进网页网游、尤其是移动网游行业的迅速发展。 ④游戏IP重要性凸显。网络游戏研发存在人才、资金及技术壁垒,具备一定风险,通过授权等方式直接选择成熟IP产品可以有效降低游戏研发商的研发风险;网络游戏的质量比单机游戏更高,拥有优质IP资源的网络游戏可以给玩家提供更好的消费体验,可以迅速拓展玩家市场。因此,网络游戏研发商对于IP资源的争夺更加激烈,游戏IP重要性日益凸显。 4、进入行业的主要壁垒 (1)市场准入壁垒 根据《中华人民共和国电信条例》的规定,从事增值电信业务的企业必须取得所在省、自治区、直辖市通信管理局批准颁发的《增值电信业务经营许可证》。此外,除需具备《电信与信息服务业务经营许可证》外,根据《互联网出版管理暂行规定》和《互联网文化管理暂行规定》的相关规定,从事互联网页面游戏的发行及运营等业务还需要具备《网络文化经营许可证》,申请该资质对申报企业的人员结构、资金及技术实力等多方面有一定要求。行业进入许可制度构成进入本行业的主要壁垒之一。 (2)人才壁垒 网络游戏产品研发过程中,策划、程序、美术、测试以及后续的版本更新和运营等环节均具有一定技术要求和标准,需要美工、技术、策划及游戏销售、客户服务等技能的综合型人才。一方面,我国网络游戏教育培训市场尚未成熟,与网络游戏设计相关的动漫和计算机复合型人才供应较为短缺。另一方面,规模较小的游戏研发商或发行商由于受到品牌、技术和资金实力的制约,无法吸引、留存高素质的游戏研发及销售推广人才。专业人才的重要地位及短缺现状构成了行业新进入者的人才壁垒。 (3)技术壁垒 作为系统性工程,网络游戏研发对策划、程序、美术、测试、运营维护等各环节均有较高技术要求,任何一个环节的技术缺失都会影响游戏产品质量及客户满意度,进而影响游戏企业品牌和经营效益;同时,网络游戏企业不仅需要具备较强的技术开发实力,也需具备及时应对游戏运行缺陷的客户服务能力。行业中具备领先地位的游戏研发商已经积累了一定的游戏引擎开发经验,可提高后续游戏产品研发效率并缩短研发周期,能够以较快的节奏将游戏产品推向市场,同时也具备了较强的游戏运行维护技术能力和客户服务经验。而行业的新进企业则难以在短时间内完成上述各项技术积累。 (4)资金壁垒 网络游戏产品只有实际投入运营并且有玩家付费充值时才会产生收入,此前各个研发环节均需持续投入资金,需要企业有一定的资金实力。随着网络游戏行业竞争激烈程度的加剧,制作高质量网络游戏的研发成本逐步升高,产品上线运营后的更新和维护成本亦日益增加,对游戏研发商的资金实力提出了更高要求。因此,资金需求构成行业新进入者的一道壁垒。 5、行业技术特点及发展趋势 近年来网络游戏的技术特点和发展趋势主要体现在以下方面: (1)引擎开发注重通用性 网络游戏引擎是网络游戏程序的核心,游戏引擎质量对于游戏产品质量优劣至关重要,也决定着游戏研发商的行业地位。通用引擎适用于开发多款网络游戏,同一公司多款游戏可以使用同一款游戏引擎。通用引擎技术允许游戏开发商在开发新游戏时使用原有游戏的成熟引擎,可以大大降低游戏研发成本和研发风险,提高游戏程序的稳定性,实现网络游戏高效研发。因此,游戏引擎通用性将成为网络游戏行业技术发展的一大趋势。 (2)客户端开发注重轻量化 客户端软件是安装在玩家计算机上的网络游戏软件,是玩家进行游戏体验的窗口。随着网络游戏产品日渐丰富,玩家面临选择日益增多,玩家通常需要尝试不同的新游戏以挑选合适的游戏产品。为方便玩家体验、吸引更多用户,客户端轻量化技术已经在网络游戏上实现,游戏玩家可以方便地进入游戏。相对于大容量客户端,轻量化客户端有利于吸引更多的试玩用户从而吸引更多长期玩家。 (3)跨服技术广泛应用 游戏服务器用于实时接收、处理玩家通过客户端发送的指令,向玩家客户端发送处理结果。服务器是连接不同玩家计算机的枢纽,实现了网络游戏多用户同时参与、用户间交流互动的功能。服务器的稳定性直接关系到游戏的娱乐性和玩家的游戏体验。普通技术条件下,不同服务器上的玩家间无法交流互动。跨服技术采用分布式处理及多服务器架构,可以整合多个服务器的数据以实现不同服务器之间的玩家随时互动交流。跨服技术的运用大大增加了网络游戏的趣味性使得玩家的游戏体验得到大幅提升。 6、行业的周期性、区域性及季节性特征 (1)周期性 从行业整体来看,网络游戏行业属于新型产业,近年来一直保持高速增长的态势,受经济环境影响较小;同时,作为直接面对消费者的行业,网络游戏产品具有内容轻松、类型丰富、受众广泛的特点,并不显著受到宏观经济波动的影响。最近几年,虽然国内经济增速放缓,全球经济形势动荡,但网络游戏行业依旧保持了快速的发展速度,不存在明显周期性。 (2)区域性 作为通过网络传播的游戏形态,网络游戏并无实际区域限制,但由于网络游戏以互联网为传播基础,其发展与互联网基础设施建设有很大关联性。经济发达地区基础设施建设较好,互联网普及程度及人均可支配收入较高,居民通过网络游戏获得娱乐已经成为一种较为流行的趋势。因此,上述地区是网络游戏行业主要的收入和利润来源。 同时,对于网络游戏企业来说,人才是企业核心竞争力,无论是游戏产品的策划人员、技术人员、运营人员还是高端管理人员,都是游戏企业争夺的焦点。因此从地域分布上看,游戏企业主要分布在人才集中的城市和地区,如北京、上海、广州、深圳、成都等城市。 (3)季节性 作为直接面向消费者的行业,网络游戏不存在明显的季节性特征。但由于用户一般使用碎片时间消费网络游戏,在节假日等用户具有较长完整时间的时间段,网络游戏消费则往往相对集中。从网络游戏市场的分季度数据来看,由于传统节假日等因素,下半年网络游戏的收入一般都要高于上半年。 (三)炎龙科技所处产业链情况 炎龙科技所处行业为网络游戏行业,其产业链从上游至下游依次包括IP授权方、IP代理商、游戏研发商、游戏代理商、游戏运营商、游戏玩家和其他参与者。 炎龙科技于产业链中所处的位置如下图所示: ■ (图中白色部分代表炎龙科技在产业链中所担任的角色) 在上述网络游戏产业链中: 游戏研发商是处于行业产业链上游的游戏产品提供者,其打造产品研发核心团队,根据市场需求进行网络游戏产品研发;游戏产品研发完成后,游戏研发商通过自主运营、联合运营或授权运营等方式运营游戏产品。 游戏代理(发行)商是连接游戏研发商和游戏运营商的纽带,主要为一些规模较小、发行经验较少的游戏研发商发行游戏产品。游戏代理商通过市场推广,将代理的产品投放到多个渠道,进行产品的推广及运营。规模较小、缺乏发行运营经验的游戏研发商通常专注于游戏研发,将游戏交由游戏代理商代理发行和推广,完成游戏在各个平台、渠道上的推广和运营;部分规模较大、拥有成熟发行运营经验的游戏研发商通常不通过游戏代理商,直接与游戏运营商合作运营自身的游戏产品。 游戏运营商主要面向广大游戏用户,协调游戏研发商、游戏代理商和充值支付渠道等各类资源,进行游戏产品的具体运营工作,并完成对游戏玩家充值金额的收益分成结算。 如果游戏研发商的研发素材来自于游戏IP,则产业链还包括IP授权商和IP代理商。IP授权商拥有网络游戏IP,其将所拥有的网络游戏IP授权给IP代理商或游戏研发商。IP代理商从游戏IP授权商取得IP授权后,通过向游戏研发商转授权或以委托研发、合作研发的方式研发网络游戏产品并获取相关收益。 其他参与者包括网络运营商、支付渠道服务商、游戏媒体等。网络运营商为网络游戏提供网络支持,支付渠道服务商为玩家提供购买道具或服务的支付渠道,游戏媒体主要担负向上游反馈信息以及发布游戏排行等信息供玩家参考等功能。 炎龙科技主要从事网络游戏的研发、代理发行及IP与源代码合作,属于上述网络游戏产业链中的游戏研发商、游戏代理商及IP代理商;同时,炎龙科技还从事网络游戏运营业务,属于游戏运营商(境内)。 (四)炎龙科技业务流程及盈利模式 1、业务流程 (1)游戏研发业务 炎龙科技通过自主研发、合作研发及投资研发等方式研发网络游戏产品,并将游戏产品以独家授权运营或运营权一次性卖断的方式运营。具体流程如下: ①自主研发 ■ 炎龙科技自主研发流程主要分为三个阶段: A、Demo立项阶段 公司业务人员提出新游戏构思,初步组建Demo研发团队,制作立项申请书并报请研发主管审核。如通过审核,则正式组建Demo研发团队;如未通过审核,则项目结束。 B、Demo制作阶段 Demo研发团队开发出能表现游戏核心内容的Demo,通过团队内部审核后,报请公司领导审核。如通过审核,则由公司组建完整研发团队进行开发;如未通过审核,则项目结束或再行商议修改。 C、正式制作阶段 项目研发团队按照具体流程研发游戏产品。研发流程包括Alpha、Beta(Close Beta/OpenBeta)等具体阶段。其中,Alpha阶段完成游戏基本内容及框架设计并进行公司内部测试;Close Beta阶段在游戏基本框架及内容的基础上进行内容丰富并提供给市场(运营商或玩家)进行初次市场测试,根据反馈进行相应的优化及修改;OpenBeta阶段进行深度市场测试,实现游戏上线前的最后修改。 研发期间公司将按Alpha、CloseBeta及OpenBeta等关键节点进行阶段性考核,研发团队根据考核结果进行相应修改或推进至下一开发阶段。研发完成后,产品将提交游戏运营商审核,审核通过后正式上线或正式移交游戏产品。 (下转B16版) 本版导读:
发表评论:财苑热评: |






