证券时报网络版郑重声明经证券时报社授权,证券时报网独家全权代理《证券时报》信息登载业务。本页内容未经书面授权许可,不得转载、复制或在非证券时报网所属服务器建立镜像。欲咨询授权事宜请与证券时报网联系 (0755-83501827) 。 |
南通江海电容器股份有限公司公告(系列) 2016-04-07 来源:证券时报网 作者:
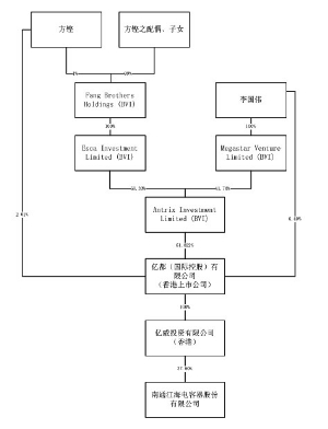
南通江海电容器股份有限公司 更正公告 证券代码:002484 证券简称:江海股份 公告编号:2016-024 南通江海电容器股份有限公司 更正公告 本公司及其董事、监事、高级管理人员保证公告内容真实、准确和完整,并对公告中的虚假记载、误导性陈述或者重大遗漏承担责任。 南通江海电容器股份有限公司(以下简称"公司")于 2016年3月24日在巨潮资讯网(www.cninfo.com.cn)及《证券时报》、《上海证券报》刊登了《关于实际控制人家族成员间调整股权比例的提示性公告》(公告编号:2016-016)。因工作人员疏忽,原公告第一节内容存在引用错误,需对相关内容进行更正,如下: 更正前: "一、亿威投资股权结构变更的情况 本次变更前,亿威投资的股权结构如下: ■ 本次变更,方铿先生将其持有的Esca Investment Limited 100%股权转让给方铿先生及其配偶、子女共同持股的Fang Brothers Holdings Limited(肇丰集团有限公司,以下简称"肇丰集团",方铿先生及其配偶边敏芝女士、其子女方淑君女士、方淑仪女士、方淑明女士、方仁德先生各持有肇丰集团1%、19%、20%、20%、20%、20%股权)。 2016年3月8日,方铿先生及其夫人边敏芝女士、其子女方淑君女士、方淑仪女士、方淑明女士、方仁德先生签署《投票协议》,就其作为肇丰集团股东所享有的股东权利及投票权作出约定。边敏芝女士、方淑君女士、方淑仪女士、方淑明女士及方仁德先生同意就肇丰集团有限公司实际运营中涉及Esca Investment Limited、Antrix Investment Limited、亿都(国际控股)有限公司及江海股份有关事宜听从方铿先生的指示行使其各自投票权。 根据香港律师Cheung, Tong & Rosa Solicitors出具的《法律意见书》,上述《投票协议》构成各方合法、有效的义务并可被执行。本次股权转让完成后,方铿先生实际上控制肇丰集团股东会100%投票权,因而,方铿先生仍享有Esca Investment Limited 100%投票控制权。 本次变更后,亿威投资的股权结构如下:" ■ 更正后披露内容: 一、本次实际控制人家族成员间持股比例调整的情况 本次变更前,亿威投资的股权结构如下: ■ 本次变更,方铿先生将其持有的Esca Investment Limited 100%股权转让给方铿先生及其配偶、子女共同持股的Fang Brothers Holdings Limited(肇丰集团有限公司,以下简称"肇丰集团",方铿先生及其配偶边敏芝女士、其子女方淑君女士、方淑仪女士、方淑明女士、方仁德先生各持有肇丰集团1%、19%、20%、20%、20%、20%股权)。 2016年3月8日,方铿先生及其夫人边敏芝女士、其子女方淑君女士、方淑仪女士、方淑明女士、方仁德先生签署《表决契据》,就其作为肇丰集团股东所享有的股东投票权作出约定。根据《表决契据》第3款、第4款及第7款有关约定,边敏芝女士、方淑君女士、方淑仪女士、方淑明女士及方仁德先生同意就肇丰集团实际运营中需股东投票的涉及Esca Investment Limited、Antrix Investment Limited、亿都(国际控股)有限公司、亿威投资及江海股份有关事宜(以下简称"有关事宜")听从方铿先生的指示行使其各自投票权。 本次股权转让完成后,方铿先生就上述有关事宜实际上控制肇丰集团股东大会100%投票权;因而,方铿先生仍可通过肇丰集团享有Esca Investment Limited股东大会100%投票控制权。 本次变更后,亿威投资的股权结构如下: ■ 除以上情况外,其他内容不变。相关信息以更正后披露内容为准。公司今后将进一步加强信息披露的复核工作,提高信息披露质量,避免类似的错误再次发生。公司对因此给投资者带来的不便深表歉意。 更正后的《南通江海电容器股份有限公司关于实际控制人家族成员间调整股权比例的提示性公告》将于2016 年 4 月7 日刊登于巨潮资讯网(www.cninfo.com.cn)及《证券时报》、《上海证券报》。 特此公告。 南通江海电容器股份有限公司 2016年4月7日
证券代码:002484 证券简称:江海股份 公告编号:2016-025 南通江海电容器股份有限公司 关于实际控制人家族成员间调整股权 比例的提示性公告 本公司及其董事、监事、高级管理人员保证公告内容真实、准确和完整,并对公告中的虚假记载、误导性陈述或者重大遗漏承担责任。 一、重要提示: 南通江海电容器股份有限公司(以下简称"公司"或"江海股份")于近日接到公司实际控制人方铿先生关于其家族成员间股权调整的告知函(本次股权调整不会引起公司控股股东及实际控制人变更),现就有关情况公告如下: 一、亿威投资股权结构变更的情况 本次变更前,亿威投资的股权结构如下: ■ 本次变更,方铿先生将其持有的Esca Investment Limited 100%股权转让给方铿先生及其配偶、子女共同持股的Fang Brothers Holdings Limited(肇丰集团有限公司,以下简称"肇丰集团",方铿先生及其配偶边敏芝女士、其子女方淑君女士、方淑仪女士、方淑明女士、方仁德先生各持有肇丰集团1%、19%、20%、20%、20%、20%股权)。 2016年3月8日,方铿先生及其夫人边敏芝女士、其子女方淑君女士、方淑仪女士、方淑明女士、方仁德先生签署《表决契据》,就其作为肇丰集团股东所享有的股东投票权作出约定。根据《表决契据》第3款、第4款及第7款有关约定,边敏芝女士、方淑君女士、方淑仪女士、方淑明女士及方仁德先生同意就肇丰集团实际运营中需股东投票的涉及Esca、Antrix Investment Limited、亿都(国际控股)有限公司、亿威投资及江海股份有关事宜(以下简称"有关事宜")听从方铿先生的指示行使其各自投票权。 本次股权转让完成后,方铿先生就上述有关事宜实际上控制肇丰集团股东大会100%投票权;因而,方铿先生仍可通过肇丰集团享有Esca Investment Limited股东大会100%投票控制权。 本次变更后,亿威投资的股权结构如下: ■ 二、本次实际控制人家族成员间股权调整对公司的影响 本次亿威投资的实际控制人家族成员间股权调整完成后,亿威投资仍持有公司37.50%的股权,仍为公司控股股东;方铿先生仍为公司的实际控制人。 特此公告。 南通江海电容器股份有限公司 2016年4月7日 本版导读:
发表评论:财苑热评: |






