证券时报网络版郑重声明经证券时报社授权,证券时报网独家全权代理《证券时报》信息登载业务。本页内容未经书面授权许可,不得转载、复制或在非证券时报网所属服务器建立镜像。欲咨询授权事宜请与证券时报网联系 (0755-83501827) 。 |
上市公司名:万方城镇投资发展股份有限公司 股票上市地点:深圳证券交易所 股票简称:万方发展 股票代码:000638 万方城镇投资发展股份有限公司发行股份购买资产并配套融资暨关联交易报告书(摘要) 2013-11-15 来源:证券时报网 作者:
独立财务顾问:西南证券股份有限公司 二〇一三年十一月
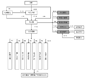
公司声明 本重大资产重组报告书摘要的目的仅为向公众提供有关本次重组的简要情况,并不包括重大资产重组报告书全文的各部分内容。重大资产重组报告书全文同时刊载于深圳证券交易所网站;投资者可在本报告书刊登后至本次重大资产重组完成前的每周一至周五上午9:30-11:30,下午2:00-5:00,于万方城镇投资发展股份有限公司(北京市朝阳区曙光西里甲1号A座30层)或西南证券股份有限公司(北京市西城区金融大街35号国际企业大厦A座4层)查阅相关文件。 本公司及董事会全体成员保证重大资产重组报告书及其摘要内容的真实、准确、完整,对报告书及其摘要的虚假记载、误导性陈述或重大遗漏负连带责任。 本次重大资产重组完成后,本公司经营与收益的变化,由本公司自行负责,由此变化引致的投资风险,由投资者自行负责。 投资者若对本报告书及其摘要存在任何疑问,应咨询自己的股票经纪人、律师、会计师或其他专业顾问。 释 义 在本报告书中,除非另有所指,下列简称具有如下含义: ■ 注:本报告书除特别说明外所有数值保留2位小数,若出现总数与各分项数值之和尾数不符的情况,均为四舍五入原因造成。 重大事项提示 本部分所述的词语或简称与本报告书“释义”中所定义的词语或简称具有相同的涵义。本公司根据《公司法》、《证券法》、《重组办法》、《准则26号》、《上市公司证券发行管理办法》等有关法律、法规和规章编制《万方城镇投资发展股份有限公司发行股份购买资产并配套融资暨关联交易报告书》,供投资者参考。 一、本次交易方案及标的资产估值作价 (一)本次交易的总体方案 本次交易中,公司拟向万方源、新星景天、华夏新天及北京万和四名交易对方发行股份购买其持有的万方盛宏95%股权、秦皇岛鼎骏90%股权、张家口宏础100%股权、义林义乌97.12%股权、延边龙润100%股权。同时,为提高本次交易整合绩效,公司拟向不超过10名其他特定投资者发行股份募集配套资金,配套资金总额不超过本次交易总金额的25%。 本次发行股份购买资产的定价基准日及配套融资的定价基准日为审议本次重大资产重组事项的本公司第六届董事会第二十次会议决议公告日(2013年5月16日)。经本公司2012年度股东大会决议,以截至2012年12月31日公司的总股本154,700,000股为基数,每10股转增10股,共计转增154,700,000股,转增后公司总股本为309,400,000股,并于2013年4月10日实施完毕。因此,公司向万方源等四名交易对方发行股份的发行价格为定价基准日前20个交易日股票交易均价,即3.93元/股(除权后价格);公司向其他不超过10名特定投资者募集配套资金的发行价格按不低于定价基准日前20个交易日公司股票交易均价的90%为原则,确定发行底价为3.54元/股(除权后价格),最终发行价格将在本次交易获得中国证监会核准后,由公司董事会根据股东大会的授权,按照相关法律、行政法规及规范性文件的规定,依据发行对象申购报价的情况,与本次交易的独立财务顾问协商确定。 在本次发行的定价基准日至发行日期间,若本公司股票发生除权、除息,则本次发行的股份的价格和数量将按照深交所的有关规则进行相应调整。 (二)标的资产的估值、作价及支付方式 根据《资产评估报告》,万方源、新星景天、华夏新天及北京万和持有的万方盛宏95%股权、秦皇岛鼎骏90%股权、张家口宏础100%股权、义林义乌97.12%股权、延边龙润100%股权在评估基准日的评估值如下: 单位:万元 ■ 以上述标的资产评估基准日的评估值240,931.34万元为基础,经交易各方协商,定价为240,931.34万元,由上市公司向万方源、新星景天、华夏新天以及北京万和等四名交易对方发行股份的方式支付。 (三)配套融资情况 配套融资总额不超过本次交易总金额的25%。根据交易各方确定的标的资产的交易价格,本次配套融资总额不超过80,310.45万元。 本次配套融资的发行对象为不超过10名的特定投资者,包括证券投资基金、保险机构投资者、信托投资公司、财务公司、证券公司、合格境外机构投资者(含上述投资者的自营账户或管理的投资产品账户)、自然人及其他符合公司认定条件的合格投资者。 本次募集的配套资金拟用于本次重组所涉及标的公司的土地一级开发业务, 以提高本次重组项目整合绩效。 二、本次交易方案相对预案调整 本次交易方案对交易对方、交易标的以及交易价格定价原则等与预案一致,无重大调整。 三、本次发行股票的价格及发行数量 (一)发行价格 本次发行股份购买资产的定价基准日及配套融资的定价基准日为审议本次重大资产重组事项的本公司第六届董事会第二十次会议决议公告日(2013年5月16日)。经本公司2012年度股东大会决议,以截至2012年12月31日公司的总股本154,700,000股为基数,每10股转增10股,共计转增154,700,000股,转增后公司总股本为309,400,000股,并于2013年4月10日实施完毕。因此,公司向万方源等四名交易对方发行股份的发行价格为定价基准日前20个交易日股票交易均价,即3.93元/股(除权后价格);公司向其他不超过10名特定投资者募集配套资金的发行价格按不低于定价基准日前20个交易日公司股票交易均价的90%为原则,确定发行底价为3.54元/股(除权后价格),最终发行价格将在本次交易获得中国证监会核准后,由公司董事会根据股东大会的授权,按照相关法律、行政法规及规范性文件的规定,依据发行对象申购报价的情况,与本次交易的独立财务顾问协商确定。 在本次发行的定价基准日至发行日期间,若本公司股票发生除权、除息,则本次发行的股份的价格和数量将按照深交所的有关规则进行相应调整。 (二)发行数量 本次交易中拟购买资产的交易价格为240,931.34万元,按照本次发行股票价格3.93元/股计算,本次拟购买资产发行股份数量为61,305.68万股(最终发行数量将以中国证监会核准的发行数量为准)。 公司拟向不超过10名其他特定投资者发行股份募集配套资金,配套资金总额不超过本次交易总金额的25%,按照本次配套募集资金股票发行底价3.54元/股计算,本次配套资金拟发行股份数量为22,686.57万股(最终发行数量将以中国证监会核准的发行数量为准)。 本次交易完成前后,上市公司股权结构如下: ■ 注:按照本次募集配套资金总额最高不超过本次交易总额的25%,发行价格不低于定价基准日前20个交易日公司股票交易均价的90%,按照发行底价3.54元/股(除权后价格)计算,本次募集配套资金发行股数最高为22,686.57万股。 四、本次交易构成重大资产重组,且构成关联交易 本次交易中,标的公司2013年5月31日经审计财务会计报告净资产为249,974.84万元,上市公司截至2012年12月31日经审计合并财务会计报告净资产为29,159.94万元,达到上市公司最近一个会计年度经审计的合并财务会计报告期末净资产总额的比例50%以上,且超过5,000万元。根据《重组办法》第十一条的规定,本次交易构成重大资产重组。此外,本次交易还涉及向特定对象发行股份购买资产,根据《重组办法》第二十八条及第四十六条规定,本次交易需提交中国证监会并购重组委审核。 本次交易中,发行股份购买资产的交易对方之一万方源为公司控股股东,与公司存在关联关系,因此本次交易构成关联交易。 五、关于股份锁定期的承诺 向万方源、新星景天、华夏新天以及北京万和等四名交易对方发行的股份,自本次发行的股份上市之日起三十六个月内不得转让;向其他不超过10名特定投资者发行的股份,自其认购的股票上市之日起十二个月内不转让,在此之后按中国证监会及深圳证券交易所的有关规定执行。 本次发行结束后,由于公司送红股、转增股本等原因增持的公司股份,亦应遵守上述约定。 六、本次交易尚需履行的程序 (1)本公司股东大会审议批准本次交易事项,且同意万方源免于发出股份收购要约; (2)中国证监会核准本次交易事项。 七、要约收购豁免 本次交易完成后,万方源持有的公司股份比例由42.86%上升到57.16%(含配套融资),本次交易触发万方源要约收购义务。根据《收购管理办法》第六十二条的相关规定,经上市公司股东大会非关联股东批准,收购人在其取得上市公司发行的新股前已经拥有该公司控制权的,收购人取得上市公司向其发行的新股,导致其在该公司拥有权益的股份超过该公司已发行股份的30%,收购人承诺3年内不转让本次向其发行的新股,且公司股东大会同意收购人免于发出要约条件的,收购人可以免于提交以豁免要约方式增持股份申请。 本次交易前后,公司的控股股东均为万方源,万方源已书面承诺其本次以资产认购而取得的公司股份,自股份发行上市之日起36个月内不得转让;公司第七届董事会第五次会议经审议同意并提请股东大会批准万方源免于发出要约;待公司股东大会审议通过该项议案后,本次交易涉及的万方源增持公司股份的行为,适用《收购管理办法》的规定,可免于向公司其他股东发出要约。 八、独立财务顾问的保荐机构资格 本公司聘请西南证券股份有限公司担任本次交易的独立财务顾问,西南证券股份有限公司经中国证监会批准依法设立,具备保荐人资格。 九、其他重大事项 1、义林义乌已与香河富泰房地产开发有限公司签订土地使用权转让协议,协议约定义林义乌将香国用(2011)字第0086号土地使用权作价7,200万元转让与香河富泰房地产开发有限公司,其中以货币资金支付972.8万元,以债务承担方式支付6,227.2万元,义林义乌已收到香河富泰房地产开发有限公司支付的土地转让价款,土地使用权过户手续正在办理。万方源针对该事项已出具承诺:“一、若因上述国有土地使用权(香国用(2011)字第0086号)无法办理过户手续,则由义林义乌聘请评估机构对该宗土地进行评估,若评估价格低于土地转让价,则由本公司对差价予以补足; 二、若因该宗土地在土地使用权过户手续办理完毕前的相关事项,而使义林义乌受到行政处罚及/或被提起诉讼,则由本公司依据处罚结果及/或判决结果,对义林义乌给予足额补偿; 三、若因该宗土地的其他事项而给义林义乌及/或万方发展造成直接或间接损失的,则本公司将全额承担相应损失。 本公司将在因该宗土地而给义林义乌及/或万方发展造成的直接或间接损失确认后三个月内给予义林义乌及/或万方发展全额补偿,确保义林义乌及/或万方发展的利益不受侵害。” 万方源已经做出承诺,如因该事项而给义林义乌及/或万方发展造成直接或间接损失,万方源将承担相应损失,确保义林义乌及/或万方发展的利益不受侵害。该承诺保证本次交易标的义林义乌不会因该宗土地转让事项导致义林义乌的经济利益流出,不会对本次重组构成重大影响。 2、2007年11月1日,万方源与中国长城资产管理公司沈阳办事处签署《债权置换股份协议书》,协议约定万方源以其自巨田证券受让的公司法人股中的700万股置换中国长城资产管理公司沈阳办事处对公司及其四家子公司享有的本金金额5,883.87万元的债权;万方源在受让巨田证券持有的公司全部法人股完成股份过户手续后10日内,与中国长城资产管理公司沈阳办事处共同办理股份质押登记手续;万方源承诺,在该协议项下股份的过户法定限制情形消失后10日内,将该协议项下的股份过户给中国长城资产管理公司沈阳办事处,股份附带的所有权利、权益一并转移给中国长城资产管理公司沈阳办事处。 2008年12月12日,万方源按照《债权置换股份协议书》完成上述股权质押手续。2013年4月10日,公司实施资本公积金转增股本方案,上述股权质押总数变更为1,400万股。根据《债权置换股份协议书》的约定,万方源受让公司股权的锁定期届满之日(2012年7月13日)后,万方源应将持有的上述1,400万股转让给中国长城资产管理公司沈阳办事处。截至本摘要签署日,上述股权仍未解除质押及办理过户手续。 根据万方源于2013年10月出具的说明,“由于中国长城资产管理公司沈阳办事处自身原因,上述股权尚未依据《债权置换股份协议书》的约定,解除质押并办理完毕过户手续。截至本说明出具之日,本公司正就上述股权过户事宜与中国长城资产管理公司沈阳办事处进行协商。本公司承诺,如中国长城资产管理公司沈阳办事处向本公司提出股权过户请求,本公司将与其积极配合办理解除股权质押及过户手续。” 本事项有可能直接导致万方源持有本公司股份数减少1,400万股,占公司总股本的4.52%,本次重组完成后,如果上述股权办理过户,万方源持有本公司的股权将从57.16%变更为55.94%(含配套融资),仍为本公司绝对控股股东。 本事项有可能直接导致万方源持有公司股份数减少1,400万股,占公司总股本的4.52%,本次重组完成后,如果上述股权办理过户,万方源持有公司的股权将从57.16%变更为55.94%(含配套融资),但万方源仍为公司绝对控股股东,不会对本次重组构成重大影响。 3、开展土地一级开发项目立项前,标的公司应取得政府项目控制性详细规划、可行性研究报告、环评等批复。标的公司目前已由上市公司进行托管,上市公司已针对项目后续开展阶段应取得的批复制订了计划:“该等标的公司目前由本公司进行托管,根据项目实际情况,本公司计划截至2014年一季度末,取得万方盛宏、延边龙润、张家口宏础及义林义乌的首期待开发片区或整体片区的项目控制性详细规划、可行性研究报告、环评及立项批复等政府批复文件,取得秦皇岛鼎峻片区的项目控制性详细规划、可行性研究报告、环评批复等政府批复文件。标的公司土地一级开发项目其余待开发片区计划将自2014年二季度起,按照项目进展情况陆续取得政府的环评、规划及立项批复等政府相关批复。 本公司保证根据上述取得该等批复时间安排,及时取得相关政府批复文件,并将依照相关法律法规及规范性文件的规定在取得该等批复后,有序开展土地一级开发业务。” 本次交易标的公司与地方政府或其授权单位签署土地一级开发协议,受托对特定区域进行土地整理,该事项不涉及立项、环保、行业准入、用地、规划、建设施工等有关报批事项,符合《关于规范上市公司资产重组若干问题的规定》第四条第一款的规定。 土地一级开发项目在实施过程中,应取得政府项目控制性详细规划、可行性研究报告、环评、项目立项等政府批复,上述审批事项作为实施土地一级合同的流程,需要一定的审批时间。万方盛宏、延边龙润、张家口宏础及义林义乌已对项目立项等批复事项的时间作出了合理安排,并在报告书中披露了主管部门报批的进展情况和尚需呈报批准的程序及存在的风险,符合《关于规范上市公司资产重组若干问题的规定》第四条第一款的规定。 根据本次交易方案、《发行股份购买资产协议》、《补充协议》及发行人出具的说明,经本所律师查验,本次发行人拟购买的资产为企业股权,标的公司本身的存续及持续经营不涉及立项、环保、行业准入、用地、规划、建设施工等有关报批事项;标的公司与地方政府或其授权单位签署土地一级开发协议,受托对特定区域进行土地整理,该等土地一级开发涉及的立项、环保等报批事项亦不对土地一级开发协议的有效性构成实质性影响;标的公司从事的土地一级开发业务中,秦皇岛鼎峻已取得项目立项批复,万方盛宏、延边龙润、张家口宏础及义林义乌尚未取得立项批复,标的公司尚未取得土地一级开发涉及的环保、规划批复,但发行人已依据项目进程对取得该等批复的时间作出了安排及预计;发行人已在《重组报告书》中披露了标的公司土地一级开发业务涉及立项、环保、规划等相关主管部门报批的进展情况和尚需呈报批准的程序并对可能无法获得批准的风险作出特别提示,符合《关于规范上市公司资产重组若干问题的规定》第四条第一款之要求。 特别风险提示 投资者在评价本公司本次重大资产重组时,除本报告书的其他内容和与本报告书同时披露的相关文件外,还应特别认真地考虑下述各项风险因素: 一、审批风险 根据《重组办法》的相关规定,本次交易尚需满足的条件包括但不限于: (1)本公司股东大会审议批准本次交易事项,且同意万方源免于发出股份收购要约; (2)中国证监会核准本次交易事项。 上述批准或核准均为本次交易的前提条件,交易方案能否通过股东大会批准与能否取得政府主管部门的核准存在不确定性,以及最终取得批准或核准的时间存在不确定性,提请广大投资者注意投资风险。 二、其他风险 (一)大股东控制风险 本次发行后万方源的持股比例进一步上升,如果万方源利用其控股股东地位,通过董事会、股东大会对公司的董事任免、经营决策、重大项目投资、股利分配等重大决策施加影响,则可能产生影响本公司其他股东特别是中小股东合法权益的情况。 (二)政策风险 本次交易标的公司全部从事土地一级开发业务。交易标的已经与地方政府或地方政府授权部门(以下简称“委托方”)签署《土地一级开发合作协议》,协议对委托方和标的公司的合法权益均进行合理界定并提供有力保障。目前,我国对土地一级开发主要通过行政规章、地方性法规以及相关规范性文件予以规范,而且各地政府的土地一级开发政策和操作流程也各不相同,造成一定的信息瓶颈和操作上的不确定性。随着土地管理制度的改革和发展,国家对土地一级开发的政策将越来越完善,在政策完善过程中,存在对现有土地一级开发模式进一步完善或调整的可能与风险,特别是对土地一级开发收益模式确定和征地指标等事项进行详细规范或者修改相关的行政规章、地方性法规或相关规范性文件,则有可能会给标的公司的业务和相关收益产生影响。 (三)合同执行风险 虽然标的公司与地方政府或授权单位签署了《土地一级开发合同》,约定了双方的权利与义务。但在土地一级开发过程中,存在合同执行的风险,主要表现在以下方面:一是如果政府出台新的法律法规,委托方可能单方面提前终止《土地一级开发合同》,导致标的公司已签署的合同无法继续执行;二是土地一级开发业务往往会涉及到征地与拆迁安置、农用地转用、土地利用计划指标审批等相关事项,需要政府的审批,而且需要相关各方的同意和配合。若征地拆迁、农用地转用、土地利用计划指标等审批事项不能顺利实施,将给公司土地一级开发业务的顺利实施带来影响;三是标的公司作为土地一级开发合同的受托方,如因其自身管理水平等原因,可能导致不能按时完成合同约定,从而影响项目收益的如期实现;四是如果委托方收储后不能及时支付项目款,会导致标的公司项目资金短缺而影响后续投资计划的正常实施;五是标的公司土地一级开发所需的建设用地指标能否全部顺利获批以及获批时间存在一定的不确定性。 (四)行业风险 房地产行业繁荣与否会对公司的业绩产生一定的影响。土地开发后若遭遇房地产行业周期性不景气或者招商引资不能及时到位,则会影响到土地的招拍挂,进而影响到土地储备中心土地出售的情况,存在无法按期实现营业收入和营业利润的风险。 (五)征地及拆迁安置风险 土地一级开发业务往往会涉及到征地与拆迁安置等相关事项。征地,特别是农用地的征用涉及到政府的审批,而且需要相关各方的同意和配合,存在长时间不能达成一致的风险,即使签约,也可能出现履约时的纠纷,上市公司北京天源太平村回迁安置房项目因为与村民拆迁安置方案尚未达成一致,项目暂停施工。因此,征地最终能否得到政府审批,各方利益能否达成一致,拆迁安置能否顺利实施,将是土地一级开发合同能否顺利履行的一大风险。 (六)项目立项风险 根据土地一级开发项目的开发流程,标的公司应于项目土地开发整理阶段前取得政府部门的立项批复。截至目前,万方盛宏、延边龙润、张家口宏础及义林义乌尚未取得项目控制性详细规划的批复、可行性研究报告的批复、立项批复等政府批复。如标的公司立项批复未能依照计划及时取得,则存在导致标的公司土地一级开发项目进度延误或不能实施的风险。 (七)项目施工风险 土地一级开发过程中,标的公司会将市政道路、桥梁、城市水系、城市市政管网等基础设施工程分包给施工企业具体实施,存在标的公司自身管理原因导致上述分包项目不能按进度完工等风险。 (八)资金回收风险 房地产行业繁荣与否会对公司的业绩产生一定的影响。土地开发后若遭遇房地产行业周期性不景气或者招商引资不能及时到位,则会影响到土地的招拍挂,进而影响到土地储备中心土地出售的情况,存在无法按期收回资金的风险。 (九)融资风险 因土地一级开发业务存在项目资金需求量大的特点,除自有资金外,还需要通过滚动开发、金融机构借款等方式筹措资金,因此本次交易完成后上市公司存在由于资金筹措困难,从而影响项目顺利实施的风险。 (十)未来经营业绩风险 本次交易标的公司成立时间较短,土地一级开发业务尚处于初期阶段,报告期内尚未形成稳定的业务收入,标的公司未来经营业绩存在一定风险。 万方盛宏等五家标的公司目前的土地一级开发业务合同均为有限年期,已签约项目完成后,万方盛宏等五家标的公司未来能否签约其他土地一级开发业务存在不确定性,万方盛宏等五家标的公司面临着现有项目完成后业务发展及收入来源不确定的风险。 (十一)收益收窄风险 万方盛宏、秦皇岛鼎骏以及延边龙润签署的土地一级开发合同中约定的收益均为固定收益和溢价收益两部分组成,存在未来土地一级开发成本上升而土地出让收入没有同比例上升而导致溢价收益部分下降等风险。 (十二)控股股东股权全部质押的风险 截至本摘要签署日,公司控股股东万方源持有本公司13,260万股股权,上述股权已全部质押。根据瑞华会计师事务所(特殊普通合伙)出具的瑞华审字【2013】第229C0002号《审计报告》,截至2013年5月31日万方源母公司总资产为45.72亿元,净资产为36.54亿元。尽管万方源目前资产状况良好,但如果其出现不能履约的情形,则上市公司存在控制权发生变更,从而导致公司主营业务发生变更的风险。 万方源质押给中国长城资产管理公司沈阳办事处的700万股(转增后为1,400万股)存在股权被强制过户的风险。详见“第二节 上市公司基本情况”之“四、公司截至2013年10月31日前十名股东的情况”。 (十三)股市风险 股票市场的收益是与风险相互依存的。股票价格一方面受企业经营情况影响,在长期中趋向于企业在未来创造价值的现值,另一方面,它又受到宏观经济、股票供求关系、投资者心理预期等因素的影响。因此,本公司的股票市场价格可能因上述因素出现背离其价值的波动,从而给投资者带来一定的投资风险。 第一节 本次交易概述 一、本次交易的背景和目的 (一)本次交易的背景 1、公司业务的发展 公司前身中辽国际的主营业务是国际工程承包、国际贸易、劳务输出、建材生产加工等。中辽国际因2001年、2002年、2003年三年连续亏损,上述原有业务基本全部停止经营,深圳证券交易所也于2004年4月作出了《关于中国辽宁国际合作(集团)股份有限公司股票暂停上市的决定》(深证上【2004】16号),因此,公司股票自2004年4月28日起暂停上市。 2006年3月,万方源通过协议受让了公司42.86%的股权,之后实施了向上市公司注入资产的股权分置改革方案,并完成了公司的债务重组。2009年6月,公司恢复上市,主营业务由原来的国际工程承包转变为房地产开发和销售。此后,公司对历史遗留的部分下属子公司等不良资产进行了处置和清理,先后收购或新设了多家子公司,包括房地产开发、土地一级开发和贸易类的公司。 自2010年以来,随着国家对房地产行业的宏观调控的实施,公司调整了主要业务方向,逐步将土地一级开发业务定位为公司的主营业务,同时,为稳定经营业绩、增加现金流,公司重新涉足贸易行业,并计划进入矿业投资领域。目前,公司业务发展正逐步多元化。 公司虽然执行多元化的业务发展战略,但发展的重心还是土地一级开发,目前,公司已积累了多年的土地一级开发经验,也形成了专业的团队。控股子公司北京天源在自2007年就开始从事土地一级开发,控股子公司万方天润在2012年度中标北京市门头沟区22亿元土地一级开发项目,控股子公司香河东润与当地政府签有土地一级开发合同,公司的土地一级开发业务已渐成规模化、专业化、规范化的趋势。 为进一步贯彻“以土地一级开发为业务重心,同时进行多元化”的发展战略,公司在大股东的支持下,推出了本次定向增发的方案。本次定向增发所置入的经营性资产全部是涉及土地一级开发和城镇化建设的子公司,增发完成后,将进一步突出公司的主营业务方向。 2、兑现大股东在公司恢复上市时作出的承诺 公司在恢复上市时大股东万方源曾作出承诺:在恢复上市后6个月内向上市公司提出首次定向增发议案,通过定向增发方式把房地产开发方面的所有相关经营性资产注入上市公司,以增强上市公司的持续经营及持续盈利能力。公司在2009年6月5日恢复上市,并如期在2009年12月推出了定向增发方案,但该方案因受2010年4月以来国家对房地产行业宏观调控政策的影响,未能得以实施。三年以来,公司大股东一直在为兑现承诺而努力,也一直在不断优化定向增发方案。 本次定向增发方案是公司大股东经过了长时间的准备后而提出的,如增发方案得以批准和实施,将把大量土地一级开发业务带给公司,以增强公司的持续经营和持续盈利能力,并兑现大股东在公司恢复上市时作出的承诺。 (二)本次交易的目的 本次交易以维护上市公司和股东利益为原则。本次重大资产重组完成后,公司现有土地一级开发和贸易业务不变;控股股东万方源将其持有的土地一级开发业务注入上市公司。本次交易完成后,公司的持续经营能力将得以改善,基本解决当前公司与大股东存在的同业竞争问题,从而达到显著提高公司的资产质量、盈利能力和市场竞争力,增强公司的持续盈利能力和发展潜力的目的。中小股东的利益也将从本次交易中得到充分保障。 (三)本次交易的原则 1、遵守国家有关法律、法规及相关政策的规定; 2、遵守“公开、公平、公正”以及“诚实信用、协商一致”的原则; 3、维护公司全体股东的合法权益,特别是中小股东利益; 4、平等协商、自愿选择的原则; 5、有利于公司的长期健康发展,提升上市公司的经营业绩和持续发展能力以及提高公司抗风险能力。 二、本次交易的具体方案 (一)交易方案概述 本次交易中,公司拟向万方源、新星景天、华夏新天及北京万和四名交易对方发行股份购买其持有的万方盛宏95%股权、秦皇岛鼎骏90%股权、张家口宏础100%股权、义林义乌97.12%股权、延边龙润100%股权。同时,为提高本次交易整合绩效,公司拟向不超过10名其他特定投资者发行股份募集配套资金,配套资金总额不超过本次交易总金额的25%。 本次发行股份购买资产的定价基准日及配套融资的定价基准日为审议本次重大资产重组事项的本公司第六届董事会第二十次会议决议公告日(2013年5月16日)。经本公司2012年度股东大会决议,以截至2012年12月31日公司的总股本154,700,000股为基数,每10股转增10股,共计转增154,700,000股,转增后公司总股本为309,400,000股,并于2013年4月10日实施完毕。因此,公司向万方源等四名交易对方发行股份的发行价格为定价基准日前20个交易日股票交易均价,即3.93元/股(除权后价格);公司向其他不超过10名特定投资者募集配套资金的发行价格按不低于定价基准日前20个交易日公司股票交易均价的90%为原则,确定发行底价为3.54元/股(除权后价格),最终发行价格将在本次交易获得中国证监会核准后,由公司董事会根据股东大会的授权,按照相关法律、行政法规及规范性文件的规定,依据发行对象申购报价的情况,与本次交易的独立财务顾问协商确定。 在本次发行的定价基准日至发行日期间,若本公司股票发生除权、除息,则本次发行的股份的价格和数量将按照深交所的有关规则进行相应调整。 本次交易中拟购买资产的交易价格为240,931.34万元,按照本次发行股票价格3.93元/股计算,本次拟购买资产发行股份数量为61,305.68万股(最终发行数量将以中国证监会核准的发行数量为准)。 公司拟向不超过10名其他特定投资者发行股份募集配套资金,配套资金总额不超过本次交易总金额的25%,按照本次配套募集资金股票发行底价3.54元/股计算,本次配套资金拟发行股份数量为22,686.57万股(最终发行数量将以中国证监会核准的发行数量为准)。 本次交易完成前后,上市公司股权结构如下: ■ 注:按照本次募集配套资金总额最高不超过本次交易总额的25%,发行价格不低于定价基准日前20个交易日公司股票交易均价的90%,即3.54元/股(除权后价格除息)计算,本次募集配套资金发行股数最高为22,686.57万股。 (二)本次发行股份情况 1、发行种类和面值 本次万方发展向万方源等四名交易对方和其他特定投资者发行的股份为人民币普通股(A股),每股面值人民币1.00元。 2、发行股份的定价依据、定价基准日和发行价格 (1)发行股份的定价依据 公司发行股份购买资产的发行价格根据《重组办法》第四十四条规定,“上市公司发行股份的价格不得低于本次发行股份购买资产的董事会决议公告日前20个交易日公司股票交易均价。”向其他特定投资者募集配套资金的发行价格按照《上市公司证券发行管理办法》、《上市公司非公开发行股票实施细则》等相关规定,发行价格不低于定价基准日前20个交易日公司股票交易均价的90%。 定价基准日前20个交易日公司股票交易均价的计算公式为:董事会决议公告日前20个交易日公司股票交易均价=决议公告日前20个交易日公司股票交易总额/决议公告日前20个交易日公司股票交易总量。 (2)定价基准日 本次发行股份的定价基准日为公司第六届董事会第二十次会议决议公告日。 (3)发行价格 万方发展向交易对方发行股份购买资产的发行价格为定价基准日前20个交易日公司股票交易均价,即3.93元/股(除权后价格),最终发行价格尚需经本公司股东大会批准。 万方发展向其他特定投资者募集配套资金的发行价格不低于定价基准日前20个交易日公司股票交易均价的90%,即发行底价3.54元/股(除权后价格),最终发行价格将在本次发行获得中国证监会核准后,由公司董事会根据股东大会的授权,按照相关法律、行政法规及规范性文件的规定,依据发行对象申购报价的情况,与本次交易的独立财务顾问协商确定。 在本次发行的定价基准日至发行日期间,若本公司股票发生除权、除息,则本次发行的股份的价格和数量将按照深交所的有关规则进行相应调整。 3、交易对方 本次交易的交易对方包括:万方源、华夏新天、新星景天及北京万和。 4、交易标的 本次交易的标的资产包括:万方盛宏95%股权、秦皇岛鼎骏90%股权、张家口宏础100%股权、义林义乌97.12%股权、延边龙润100%股权。 5、标的资产定价依据 本次交易以具有证券期货从业资格的评估机构出具的《资产评估报告》所载的评估结果为基础确定最终的交易价格,交易标的评估基准日为2013年5月31日。标的资产以评估基准日的评估值240,931.34万元为基础,经交易各方协商,定价为240,931.34万元。 6、发行数量 (1)向万方源等四名交易对方的发行数量 ①万方源持有标的资产的评估值为206,070.59万元,经交易双方协商,确定交易价格为206,070.59万元,上市公司拟向万方源发行股份数量为52,435.26万股。 ②新星景天持有义林义乌19.23%股权的评估值为10,359.71万元,经交易双方协商,上述股权的交易价格为10,359.71万元,上市公司拟向新星景天非公开发行股份数量为2,636.06万股。 ③华夏新天持有延边龙润39%股权的评估值为19,500.83万元,经交易双方协商,上述股权的交易价格为19,500.83万元,上市公司拟向华夏新天非公开发行股份数量为4,962.04万股。 ④北京万和持有延边龙润10%股权的评估值为5,000.21万元,经交易双方协商,上述股权的交易价格为5,000.21万元,上市公司拟向北京万和非公开发行股份数量为1,272.32万股。 (2)向不超过10名其他特定投资者发行股份数量 本次交易中,拟募集配套资金总额不超过本次交易总金额的25%,按交易标的交易价格240,931.34万元计算,拟募集配套资金总额约为不超过80,310.45万元。按照本次发行底价计算,向不超过10名其他特定投资者发行股份数量约为不超过22,686.57万股。最终发行数量将根据中国证监会核准的配套资金数额和最终发行价格确定。最终发行价格将在本次发行获得中国证监会核准后,由公司董事会根据股东大会的授权,按照相关法律、行政法规及规范性文件的规定,依据发行对象申购报价的情况,与本次交易的独立财务顾问协商确定。 7、上市地点 本次发行的股份拟在深圳证券交易所上市。 8、锁定期安排 交易对方万方源、新星景天、华夏新天、北京万和分别作出承诺:本次重大资产重组中万方发展向本公司非公开发行的股份,自本次发行股份上市之日起36个月内,本公司不转让其拥有万方发展的股份,之后按中国证监会及深圳证券交易所的有关规定执行。 向其他特定投资者募集配套资金发行的股份,自其认购的股票上市之日起十二个月不得转让。 9、期间损益 根据公司与交易对方签订的《发行股份购买资产协议》,标的资产自评估基准日起至交割日期间,产生的收益由本次交易完成后的股东享有,产生的亏损及其他净资产减少由交易对方按照股权比例以现金方式补足。 10、上市公司滚存未分配利润安排 上市公司本次交易前的滚存未分配利润由本次交易发行前后的新老股东共同享有。 11、违约责任 若任何一方(违约方)违约,守约方有权采取如下一种或多种救济措施以维护其权利: (1)要求违约方实际履行; (2)暂时停止履行本协议项下之义务,待违约方违约情势消除后恢复履行;守约方根据此款规定暂停履行义务不构成守约方不履行或迟延履行义务; (3)要求违约方补偿守约方的直接经济损失,包括为此次交易而实际发生的费用,以及可预见的其他经济损失;以及守约方为此进行诉讼或者仲裁而产生的费用; (4)违约方因违反本协议所获得的利益应作为赔偿金支付给守约方; (5)法律法规或本协议规定的其他救济方式。 12、募集资金用途 本次拟募集配套资金不超过80,310.45万元,全部用于本次重组交易标的的土地一级开发业务,以提高本次重组项目整合绩效。 (三)交易方案示意图 1、交易完成前的公司股权结构图 本次交易前,公司股权结构图如下: ■ 2、本次交易完成后的公司股权结构图 本次交易完成后,公司股权结构图如下: ■ 注:本次交易完成后,万方源等四名交易对方持有上市公司的股比包含本次配套融资。按照本次募集配套资金总额最高不超过本次交易总额的25%,发行价格不低于定价基准日前20个交易日公司股票交易均价的90%,按照发行底价3.54元/股(除权后价格)计算,本次募集配套资金发行股数最高为22,686.57万股。 三、本次交易的决策过程 (一)上市公司决策过程 1、2013年3月5日,万方发展发布重大事项停牌公告。 2、2013年4月9日,万方发展刊登重大资产重组停牌公告,继续停牌。 3、2013年4月23日,万方发展第六届董事会第二十次会议审议通过了《重大资产重组预案》及其他相关议案。 4、2013年4月23日,万方发展独立董事发表了独立董事意见,认为公司本次发行股份购买资产暨关联交易并配套融资事宜的方案、定价原则符合国家相关法律、法规及规范性文件的规定。本次发行股份购买资产暨关联交易并配套融资有利于增强公司的持续经营和持续盈利能力,有利于提高公司的规范经营水平,公司的核心竞争力也将得到加强,有利于公司的长远发展,符合公司全体股东的利益,并且同意公司本次交易的总体安排。 5、2013年4月23日,万方发展与万方源、新星景天、华夏新天及北京万和分别签署了《发行股份购买资产协议》。 6、2013年5月16日,万方发展公告股票复牌。 7、2013年11月7日,万方发展第七届董事会第五次会议审议通过了《万方城镇投资发展股份有限公司发行股份购买资产并配套融资暨关联交易报告书》及与本次重大资产重组相关的议案,独立董事发表了独立意见。 8、2013年11月7日,万方发展与万方源、新星景天、华夏新天及北京万和分别签署了《发行股份购买资产协议之补充协议》。 (二)发行股份购买资产交易对方决策过程 1、万方源决策过程 (1)2013年4月23日,万方源召开股东会,审议通过万方源以其持有的万方盛宏95%股权、秦皇岛鼎骏90%股权、张家口宏础100%股权、义林义乌77.89%股权、延边龙润51%股权认购万方发展本次非公开发行股份。 (2)2013年11月7日,万方源召开股东会,审议通过以其持有的标的公司的股权认购发行人非公开发行的股份,并授权董事会与发行人签署《补充协议》。。 2、新星景天决策过程 (1)2013年4月23日,新星景天召开董事会,审议通过了以其持有的义林义乌19.23%股权认购万方发展非公开发行股份。 (2)2013年11月7日,新星景天召开股东会,审议通过以其持有的标的公司的股权认购发行人非公开发行的股份,并授权董事会与发行人签署《补充协议》。。 3、华夏新天决策过程 (1)2013年4月23日,华夏新天召开董事会,审议通过了以其持有的延边龙润39%股权认购万方发展非公开发行股份。 (2)2013年11月7日,华夏新天唯一股东曾高伟出作出了股东决定,同意以其持有的标的公司的股权认购发行人非公开发行的股份,并授权董事会与发行人签署《补充协议》。 4、北京万和决策过程 (1)2013年4月23日,北京万和召开股东会,审议通过了北京万和以其持有的延边龙润10%股权认购万方发展非公开发行股份。 (2)2013年11月7日,北京万和召开股东会,审议通过以其持有的标的公司的股权认购发行人非公开发行的股份,并授权董事会与发行人签署《补充协议》。。 四、本次交易方案实施尚需履行的审批程序 (1)本公司股东大会审议批准本次交易事项,且同意万方源免于发出股份收购要约; (2)中国证监会核准本次交易事项。 五、本次交易构成关联交易 本次交易中,发行股份购买资产的交易对方之一万方源为公司控股股东,因此本次交易构成关联交易。 六、本次交易构成重大资产重组 本次交易中,标的资产2013年5月31日经审计合并财务会计报告净资产为249,974.84万元,上市公司截至2012年12月31日经审计合并财务会计报告净资产为29,159.94万元,达到上市公司最近一个会计年度经审计的合并财务会计报告期末净资产的比例50%以上,且超过5,000万元。根据《重组办法》第十一条的规定,本次交易构成重大资产重组。此外,本次交易还涉及向特定对象发行股份购买资产,根据《重组办法》第二十八条及第四十六条规定,本次交易需提交中国证监会并购重组委审核。 七、董事会表决情况 (一)第六届董事会第二十次会议决议情况 公司第六届董事会第二十次会议通知于2013年4月21日以通讯形式发出,2013年4月23日在北京市朝阳区曙光西里甲一号第三置业大厦A座30层大会议室以现场表决的方式如期召开。会议应到董事9名,实到9名,符合《公司法》及《公司章程》等法律法规的相关规定。会议审议了七项议(预)案,并作出如下决议: 1、审议通过了《关于公司发行股份购买资产并配套融资符合相关法律、法规规定的预案》; 2、逐项审议通过了《关于发行股份购买资产暨关联交易并配套融资预案》的预案; 3、逐项审议通过了《关于公司发行股份购买资产构成关联交易的议案》; 4、审议通过了《关于本次重大资产重组符合关于规范上市公司重大资产重组若干问题的规定第四条相关规定的议案》; 5、审议通过了《关于重组履行法定程序的完备性、合规性及提交的法律文件的有效性的说明的议案》 6、逐项审议通过了《关于公司与交易对方签署<发行股份购买资产协议>的预案》; 7、审议通过了《关于审议本次董事会后暂不召集股东大会的议案》。 (二)第七届董事会第五次会议决议情况 万方城镇投资发展股份有限公司第七届董事会第五次会议通知于2013年11月5日以通讯形式发出,2013年11月7日在北京市朝阳区曙光西里甲一号第三置业大厦A座30层大会议室以现场表决的方式召开。会议应到董事9名,实到9名,符合《公司法》及《公司章程》等法律法规的相关规定。会议审议了十三项议案,并作出如下决议: 1、审议通过了《关于公司发行股份购买资产并配套融资暨关联交易符合相关法律、法规规定的预案》 2、逐项审议通过了《关于发行股份购买资产并配套融资暨关联交易方案的预案》 3、审议通过了《关于<万方城镇投资发展股份有限公司发行股份购买资产并配套融资暨关联交易报告书(草案)>及其摘要的预案》 4、审议通过了《关于本次发行股份购买资产构成重大资产重组及关联交易的议案》 5、逐项审议通过了《关于公司与交易对方签署<发行股份购买资产协议之补充协议>的预案》 6、逐项审议并通过了《关于审议本次发行股份购买资产并配套融资暨关联交易相关审计报告、盈利预测审核报告及评估报告的预案》 7、审议通过了《关于评估机构的独立性、评估假设前提的合理性、评估方法与评估目的的相关性以及评估定价的公允性的预案》 8、审议通过了《关于<公司董事会关于本次重大资产重组履行法定程序的完备性、合规性及提交法律文件的有效性的说明>的议案》 9、审议通过了《关于本次重大资产重组符合<上市公司重大资产重组管理办法>第四十二条规定的预案》 10、审议通过了《关于本次重大资产重组符合<关于规范上市公司重大资产重组若干问题的规定>第四条规定的预案》 11、审议通过了《关于提请股东大会同意北京万方源房地产开发有限公司免于以要约方式增持公司股份的预案》 12、审议通过了《关于提请股东大会授权公司董事会全权办理本次发行股份购买资产并配套融资暨关联交易相关事宜的预案》 13、审议通过了关于修订《募集资金使用管理办法》的议案 14、审议通过了《关于召开公司2013年第四次临时股东大会的议案》 第二节 上市公司基本情况 一、公司概况 (下转B10版) 本版导读:
发表评论:财苑热评: |


