证券时报网络版郑重声明经证券时报社授权,证券时报网独家全权代理《证券时报》信息登载业务。本页内容未经书面授权许可,不得转载、复制或在非证券时报网所属服务器建立镜像。欲咨询授权事宜请与证券时报网联系 (0755-83501827) 。 |
永泰能源股份有限公司公开发行2016年公司债券募集说明书摘要(第三期) 2016-07-05 来源:证券时报网 作者:
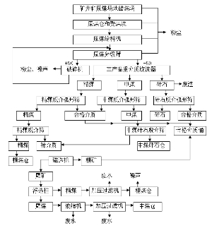
(上接B5版) 截至本次交易完成前,三吉利(现华兴电力)股权结构如下: 图 华兴电力股权结构图 ■ 截至2014年10月31日(本次交易审计基准日),华兴电力下属企业股权关系如下: 图 截至2014年10月31日华兴电力(原三吉利)下属企业股权关系 ■ 注:华兴电力分别于2014年10月28日至2014年10月31日,合计卖出华夏银行股票12,000,000股,卖出价格为8.28元/股至8.54元/股。截至2016年3月31日,华兴电力持有华夏银行股票92,240,809.00股。 华兴电力目前主要从事电力项目开发、投资、建设及运营业务,截至本次交易完成前两年及2014年1-10月,华兴电力的电力产能及产量情况如下表所示: 表:2012年度、2013年度及2014年1-10月华兴电力(原三吉利) 电力产能及产量情况 ■ 本次交易完成前两年及2014年1-10月,华兴电力的主要财务数据如下表所示: 表:2012年度、2013年度及2014年1-10月华兴电力(原三吉利)主要财务数据 单位:万元 ■ (8)收购资产评估情况 根据中资评估出具的《永泰能源股份有限公司收购北京三吉利能源股份有限公司股权项目资产评估报告书》(中资评报[2015]1号)评估结果,三吉利(现华兴电力)100%股权评估值为243,342.46万元,本次交易以此为依据,经交易双方协商确定,目标股权的交易价格为127,500万元。 四、发行人对其他企业的重要权益投资情况 (一)发行人子公司结构图 截至2016年3月31日,发行人控股子公司的股权结构关系如下图所示: ■ (二)发行人主要子公司 1、发行人主要子公司基本情况 表 发行人主要子公司情况 ■ 2、发行人主要子公司财务数据 表 最近一年发行人主要子公司财务情况 单位:万元 ■ 注:华兴电力股份公司、华瀛石油化工有限公司为发行人2015年新纳入合并范围公司,华衍物流有限公司、华昇资产管理有限公司和永泰国际(亚洲)有限公司为发行人2015年新设公司。华兴电力股份公司上表中的营业收入和净利润为2015年5-12月数据。 (二)合营、联营公司 截至2016年3月31日,发行人拥有6家主要联营和合营公司,具体情况如下: 表 发行人主要联营和合营公司情况 ■ 五、发行人控股股东和实际控制人的基本情况 (一)控股股东及实际控制人基本情况 1、控股股东情况 截至2016年3月31日,发行人控股股东为永泰控股集团有限公司,永泰控股集团有限公司持有永泰能源46.26%的股份。 (1)基本情况 公司名称:永泰控股集团有限公司 注册资本:466,980万元 法定代表人:王广西 住所:北京市西城区宣武门西大街127号太平湖东里14号 经营范围:项目投资;销售建筑材料、电子设备、金属材料、贵金属。(依法须经批准的项目,经相关部门批准后依批准的内容开展经营活动。) 永泰控股集团有限公司前身为苏州工业园区新鸿泰房地产投资顾问有限公司,成立于2002年4月15日,成立时注册资本人民币100万元。2003年2月,苏州工业园区新鸿泰房地产投资顾问有限公司变更为苏州工业园区新鸿泰房地产投资有限公司,注册资本增至5,000万元。2006年3月17日,苏州工业园区新鸿泰房地产投资有限公司更名为江苏永泰地产集团有限公司。2007年1月,江苏永泰地产集团有限公司注册资本增加为10,002万元。2008年8月,江苏永泰地产集团有限公司变更为永泰投资控股有限公司,2008年9月,其注册资本变更为50,000万元。2010年5月,其注册资本变更为100,000万元。2010年12月,其注册地址由南京市变更为北京市。2011年3月,其注册资本变更为154,000万元。2013年3月更名为“永泰控股集团有限公司”。2016年3月,其注册资本变更为466,980万元。 (2)主营业务情况 截至2015年12月31日,永泰控股经审计的合并报表口径资产总额为9,567,358.48万元,负债总额为7,374,570.19万元,所有者权益为2,192,788.29万元;2015年度实现营业收入1,083,968.02万元,净利润29,266.75万元。 2、实际控制人情况 王广西简历 汉族,中共党员,经济学硕士。中国国籍。曾任江苏国信工程咨询监理有限公司总经理、董事长,江苏永泰投资有限公司总经理董事长,永泰投资控股有限公司董事长,永泰能源股份有限公司董事长、永泰控股集团有限公司董事长;现任永泰控股集团有限公司法定代表人、永泰科技投资有限公司法定代表人。王广西先生未拥有境外居留权。 (二)实际控制人持有的发行人股份/权被质押或存在争议的情况 截至2016年3月31日,永泰控股持有发行人有限售条件股份329,949.24万股中的329,929.70万股已分别质押给中融国际信托有限公司、上海国际信托有限公司、平安证券股份有限公司、中信银行太原分行和平安银行南京天元支行;永泰控股持有发行人流通股份187,890.22万股中的182,733.00万股分别质押给平安银行南京天元支行、江苏银行北京分行营业部、中国民生信托有限公司、北京中吉金投资产管理有限公司、天风证券股份有限公司、东方证券股份有限公司、吉林省信托有限责任公司和安信证券股份有限公司(可交换债券)。 王广西无直接持有上市公司发行的股票及债券。 (三)发行人控股股东及实际控制人所投资的其他企业基本情况 截至2016年3月31日,发行人控股股东及实际控制人所投资的其他主要企业情况如下: ■ (四)发行人控股股东及其子公司基本情况 1、永泰科技投资有限公司 住所:南京市雨花台区共青团路18号 法定代表人:王广西 成立日期:2003年2月28日 注册资本:10,000万元 实收资本:10,000万元 经营范围:一般经营项目:家用电器、五金交电、电子设备、机械设备、建筑材料、装饰材料、金属材料、钢材、办公用品、化工产品、服装、日用百货的销售。 截至2015年12月31日,该公司资产总额9,579,479.64万元,负债总额7,879,148.58万元,所有者权益1,700,331.06万元;2015年实现营业收入1,083,968.02万元,净利润14,265.30万元(以上数据未经审计)。 2、永泰控股集团有限公司 住所:北京市西城区宣武门西大街127号、太平湖东里14号 法定代表人:王广西 成立日期:2002年4月15日 注册资本:466,980万元 实收资本:466,980万元 经营范围:项目投资;销售建筑材料、电子设备、金属材料、贵金属。(依法须经批准的项目,经相关部门批准后依批准的内容开展经营活动。) 截至2015年12月31日,永泰控股经审计的合并报表口径资产总额为9,567,358.48万元,负债总额为7,374,570.19万元,所有者权益为2,192,788.29万元;2015年度实现营业收入1,083,968.02万元,净利润29,266.75万元。 3、永泰控股集团核心子公司情况 除本公司外,截至2016年3月31日下列子公司为对发行人控股股东资产规模与营业收入影响较大的企业: (1)海南海德实业股份有限公司 名称:海南海德实业股份有限公司 住所:海口市海德路5号 法定代表人:郭怀保 成立日期:1987年03月02日 注册资本:15,120万元 实收资本:15,120万元 经营范围:信息产业、高新技术产业,房地产开发经营、房地产销售代理服务,工业产品、农副产品的销售,进出口贸易(凭许可证经营),旅游业,汽车维修服务,酒店管理与咨询服务,会议服务(不含旅行社业务) 截至2015年12月31日,该公司经审计资产总额22,899.30万元,负债总额1,061.34万元,所有者权益21,837.96万元,2015年实现营业收入1,559.42万元,净利润2,322.86万元。 (2)深圳市永泰融资租赁有限公司 名称:深圳市永泰融资租赁有限公司 住所:深圳市福田中心区福中三路诺德金融中心35B 法定代表人:荣龙章 成立日期:2011年10月19日 注册资本:20,000万元 实收资本:20,000万元 经营范围: 融资租赁、经营性租赁、向国内外购买租赁资产、租赁资产的残值处理及维修、租赁交易咨询和担保。 截至2015年12月31日,该公司资产总额71,687.97万元,负债总额51,217.14万元,所有者权益20,470.83万元,2015年实现营业收入3,986.30万元,净利润-612.82万元(以上数据未经审计)。 (3)北京海融宏信投资管理有限公司 名称:北京海融宏信投资管理有限公司 住所:北京市海淀区北洼路90号院16号楼104室 法定代表人:费志冰 成立日期:2006年04月13日 注册资本:10,000万元 实收资本:10,000万元 经营范围:投资管理;投资咨询;企业管理。 截至2015年12月31日,该公司资产总额22,495.61万元,负债总额15,632.84万元,所有者权益6,862.77万元,2015年实现营业收入0万元,净利润为-497.35万元。亏损主要是报告期内该公司无经营收入所致(以上数据未经审计)。 六、发行人董事、监事和高级管理人员的基本情况 (一)发行人董事、监事和高级管理人员的基本情况 公司董事会由8名董事构成,监事会由3名监事构成,高级管理层有5名成员。 表 董事、监事和高级管理人员情况 ■ (二)现任董事、监事、高级管理人员简历及兼职情况 徐培忠,董事长 曾任中煤大屯煤电集团有限责任公司姚桥矿党委书记、副矿长,中煤大屯煤电集团有限责任公司铁路管理处处长,中煤大屯煤电集团有限责任公司实业公司总经理,中煤第一建设有限公司安监局局长,公司子公司华熙矿业有限公司(原华瀛山西能源投资有限公司)董事长,公司副董事长。现任公司董事长、公司控股股东永泰控股集团有限公司董事。 王军,副董事长 曾任中煤大屯煤电集团有限责任公司监事;上海大屯能源股份有限公司市场经营处处长、铝板带项目筹备处处长;徐州四方铝业集团有限公司党委书记、副董事长;公司子公司华熙矿业有限公司(原华瀛山西能源投资有限公司)副总经理;澳大利亚永泰董事、总经理;公司副总经理、常务副总经理、董事会秘书。现任公司副董事长。 常胜秋,董事(兼总经理) 曾任中煤建设集团有限公司副总工程师、安监局副局长,公司子公司华熙矿业有限公司(原华瀛山西能源投资有限公司)总工程师,公司子公司山西康伟集团有限公司总经理,公司子公司灵石银源煤焦开发有限公司董事长。现任公司董事、总经理、公司子公司山西康伟集团有限公司董事长、公司子公司华瀛石油化工有限公司董事长。 刘保申,董事(兼常务副总经理) 曾任义马煤业集团千秋矿矿长,义马煤业集团中联润世新疆煤业公司总经理,公司子公司华熙矿业有限公司(原华瀛山西能源投资有限公司)副总经理,公司副总经理。现任公司董事、常务副总经理。 窦红平,董事 曾任上海大屯能源股份有限公司徐庄煤矿副矿长、龙东煤矿矿长、孔庄煤矿矿长,公司子公司华熙矿业有限公司(原华瀛山西能源投资有限公司)副总经理、总经理;现任公司董事、公司子公司华熙矿业有限公司董事长、公司子公司灵石银源煤焦开发有限公司董事长。 刘春芝,独立董事 曾任武汉卷烟厂党委委员、工会主席,武汉烟草集团有限公司党委委员、董事、工会主席。现任公司独立董事。 戴武堂,独立董事 曾任中南财经政法大学港澳台经济研究所教授、所长;武汉东湖学院管理学院教授、院长;武汉东湖学院湖北省重点专业电子商务负责人;武汉东湖学院湖北省重点学科工商管理首席负责人;武汉东湖学院湖北省协同创新中心农业电子商务副主任;武汉东湖学院经济学院教授、院长。现任公司独立董事。 王春华,独立董事 曾任湖北金贸会计师事务所审计助理;三九集团财务部部长助理;深圳毅华会计师事务所所长。现任北京兴华会计师事务所(特殊普通合伙)合伙人,公司独立董事。 王冬顺,监事会主席 曾任江苏大屯铝业有限公司副总经理,公司子公司华熙矿业有限公司(原华瀛山西能源投资有限公司)副总经理,公司经营总监兼经营管理部部长、监事会副主席、监察审计部部长。现任公司监事会主席,公司控股股东永泰控股集团有限公司监事。 孙建运,职工监事 曾任中煤第一建设公司第十工程处信息部部长,中煤第一建设公司市场开发办副主任,公司基本建设部副部长、太原办事处主任、战略发展部部长。现任公司监事。 常宁,监事 曾任中煤上海能源股份有限公司物资贸易部政工科科长;中煤第五建设公司上海分公司办公室主任、人力资源部经理、项目部副经理;上海冠松集团浦东公司总经理助理兼行政人事部经理;公司监察审计部副部长;公司控股股东永泰控股集团有限公司监察审计部副总经理。现任公司监事、公司控股股东永泰控股集团有限公司人力资源部副总经理。 赵京虎,副总经理 曾任中煤第一建设公司第四十九工程处副处长、处长,公司子公司华熙矿业有限公司(原华瀛山西能源投资有限公司)副总经理,公司子公司榆林永泰煤电有限公司董事长。现任公司副总经理、公司子公司陕西亿华矿业开发有限公司董事长、本公司子公司新疆永泰兴业能源有限公司董事长、本公司子公司澳大利亚永泰能源有限责任公司董事长。 卞鹏飞,总会计师 曾任永泰城建集团有限公司财务部部长,公司子公司灵石银源煤焦开发有限公司财务总监,公司财务部部长。现任公司总会计师、公司子公司北京润泰创业投资管理有限公司执行董事。 李 军,董事会秘书 曾任公司董事会办公室综合科科长、证券事务部部长、证券事务代表;现任公司董事会秘书。 (三)董事、监事和高级管理人员的任职资格 公司董事、监事和高级管理人员符合法律、法规规定的任职资格,不存在不得担任公司董事、监事和高级管理人员的法定情形,并按照《公司章程》规定的任免程序和内部人事聘用制度聘任。 (四)持有发行人股票和债券的情况 截至2016年3月31日,发行人董事、监事及高级管理人员持有公司股权情况如下: 表 董事、监事和高级管理人员持有公司股权情况 ■ 截至2016年3月31日,发行人董事、监事及高级管理人员未持有公司发行的债券。 七、发行人主要业务 (一)发行人主营业务情况概述 发行人的经营范围为:综合能源开发;大宗商品物流;新兴产业投资(自有资金);煤矿机械设备、电气设备、工矿配件制造、修理、销售、租赁、安装及技术咨询服务,矿山支护产品生产、销售。 发行人目前的主要业务为发电业务、煤炭采选和煤炭贸易。公司发电业务主要通过子公司华兴电力开展,主要发电方式为燃煤发电、天然气发电等火力发电方式。煤炭采选又包括煤炭采掘和自产原煤的洗选,煤炭采掘的主要产品为焦煤及配焦煤原煤,煤炭洗选的主要产品为洗精煤。煤炭贸易主要是公司开展的外购煤炭贸易。 自2009年开始向煤炭业务转型以来,公司依托资本市场和控股股东支持,持续加大在优质煤炭资源储备、矿井建设和技改、煤炭贸易和销售渠道拓展等方面投入,煤炭主营业务规模和经营业绩得到有效提升,煤炭产能和资源储量进一步增加,公司已发展成为国内具有规模的煤炭骨干企业。 随着近年来煤炭市场行情的持续低迷,发行人积极调整业务产业结构,确定了向“能源、物流、投资”三大产业转型的发展战略,致力于由单一煤炭企业发展成为大型综合产业集团。截至目前,发行人持有华兴电力100%股权,正在运营的发电装机容量496万千瓦,在建的装机容量332万千瓦,规划建设的装机容量266万千瓦,总装机容量1,094万千瓦,公司所属发电企业规模已达到中等电力企业规模。 (二)公司主要产品及收入构成情况 从收入结构上看,发行人主营业务突出,截至2016年一季度,发行人营业收入17.50亿元,其中电力业务占比为72.99%,煤炭采选业务占比25.41%、煤炭贸易0.98%和其他产品0.19%,具体收入构成如下: 表 最近三年及一期发行人按产品分类的营业收入构成情况 ■ 2015年度,发行人煤炭贸易收入大幅下降主要原因系公司2015年3月对外出售了所属的主要煤炭贸易子公司永泰运销100%股权,以及由于煤炭市场持续低迷,发行人主动缩减煤炭贸易规模所致。 最近三年及一期,发行人主营业务成本与主营业务收入结构相对应,2013年和2014年,煤炭采选和煤炭贸易的营业成本结构相对稳定,2015年5月以来,发行人营业成本中增加了电力业务,具体成本构成如下: 表 最近三年及一期发行人按产品分类的营业成本构成情况 ■ 最近三年及一期,发行人主营业务毛利润分别为306,928.45万元、320,892.92万元、476,445.60万元和65,345.15万元,毛利润率分别为31.29%、40.72%、44.42%和37.50%,均较为稳定。 表 最近三年各业务板块毛利情况 ■ (三)发行人主要板块经营情况 1、电力业务板块 发行人电力业务主要由华兴电力通过其下属子公司开展。华兴电力主要从事电力项目的投资、建设和经营业务。作为控股型公司,华兴电力母公司并不直接从事电力生产,而是通过其下属全资或控股公司从事电力生产。 (1)电力生产 华兴电力下属企业电力生产主要包括燃煤发电、燃气发电两类,其中燃煤发电采用燃煤作为一次能源,通过送煤、燃烧、锅炉蒸汽、汽轮机带动发电机、输配电等环节,即煤粉燃烧加热锅炉使锅炉中的水变为水蒸汽,利用蒸汽推动汽轮机发电;燃气发电主要产品为电力,采用天然气作为一次能源,通过燃气——蒸汽联合循环发电机组发电。 A.主要生产设备 表:发行人发电机组设备构成情况 ■ 根据河南省周口市发展与改革委员会《关于关停周口隆达2×13.5万千瓦现役机组的承诺》(周发改能源[2014]14号),周口隆达现役机组须在周口隆达2×60万千瓦“上大压小”扩建项目建成后三个月内关停,目前扩建项目已获得核准,即有两台机组处于停运状态。 B.工艺流程: 华兴电力采用市场成熟的燃煤发电、燃气发电技术进行电力生产,目前已进入规模化电力生产阶段。华兴电力主要下属企业的工艺流程如下图所示: 图 裕中能源工艺流程图 ■ 图 张家港沙洲电力工艺流程图 ■ 图 张家港电力工艺流程图 ■ C.产能与产量 最近三年及一期,华兴电力产能与产量情况如下表所示: 表 华兴电力产能与产量 ■ (2)电力销售 华兴电力下属企业将所发电力按照国家有权部门批复的上网电价出售给电力公司,根据单位电量价格与售电量计算电力销售收入,扣除发电及生产经营各项成本费用后获得利润。 由于我国电网行业的特殊性,华兴电力客户分布较为集中,主要销售客户为国网江苏省电力公司和河南省电力公司。结算方式上,电费主要与上述电力公司结算,一般本月电费下月通过现金结算支付。 电力销售具体情况如下: 表 最近三年及一期华兴电力销售客户情况 单位:亿元 ■ (3)主要产品原材料、能源及供应情况 燃煤发电所需主要原材料为煤炭,报告期内华兴电力下属电力企业以安全稳定为首要目标,与大型煤炭企业签订长期协议,作为煤炭采购主要渠道,采购价格根据煤炭采购计划及煤价走势,采取询价比选方式确定。目前,华兴电力下属电力企业的煤炭采购一般采用先货后款方式结算,账期一般为30天左右,主要通过汽运及船运方式进行运输。 燃气发电企业不具备天然气储存能力,华兴电力下属企业所用天然气均为中国石油天然气股份有限公司西气东输销售分公司单方供应,双方签有长期天然气销售协议,天然气采购价格由国家发改委直接定价。目前,公司发电所需天然气一般先预付一周用气量的货款,每周末根据实际用气量滚动结算,账期一周左右,运输方式采用管道运输。 华兴电力的供应商结构稳定且相对分散,华兴电力不对单个供应商构成明显依赖。华兴电力采购的燃煤、天然气等主要原材料的具体情况如下: 表 最近三年及一期华兴电力发电业务原材料采购情况 单位:亿元 ■ 表 最近三年及一期华兴电力发电业务原材料采购量和单价情况 ■ 2、煤炭采选业务板块 2009年之前,发行人的营业收入主要来自成品油批发和零售业务。针对成品油批零业务盈利能力较弱的情况,2009年发行人确立了向煤炭开采业务转型的目标,于2009年收购了以煤炭贸易为主业的南京永泰能源发展有限公司(后更名为:永泰能源运销集团有限公司)和具有山西省煤炭资源兼并重组整合主体资格的华熙矿业(原华瀛山西)两家公司的股权;同时,通过2009年度、2010年度和2011年度三次非公开发行股票募集资金,增资华熙矿业后设立山西灵石华瀛金泰源煤业有限公司、收购金泰源等七座煤矿采矿权及部分固定资产,并相继收购孙义100%股权、致富煤业49%股权、集广51%股权、柏沟51%股权、银源安苑100%股权、银源新生100%股权、亿华矿业70%股权,煤炭采选和经营业务比重逐步增加。2011年使用自有资金收购双安矿业100%股权,2012年重大资产购买及增资方式收购康伟集团65%股权并收购银源煤焦100%股权、力源煤化100%股权和强盛煤化100%股权,煤炭资源储备和煤炭开采洗选规模进一步扩大。 2013年,为了进一步巩固公司对所属控股煤矿企业的控制权,整合并布局稀缺焦煤资源,理顺管理体系、降低管理成本、提高运营效率,增加公司焦煤权益产能和储量,提升公司经营业绩,发行人以自有资金收购所属煤矿少数股东权益,具体包括:由公司收购森达源49%股权;由华熙矿业收购华瀛集广49%股权和华瀛柏沟49%股权;由银源煤焦收购银源新安发49%股权、银源华强49%股权和银源兴庆49%股权。 (1)煤炭生产 截至2016年3月31日,公司有19座矿井,其中生产矿井14座、联合试运转矿井1座、在办手续4个。已投入生产的矿井生产规模为1,095万吨/年。 2012年以来,伴随着对煤矿企业的收购,以及技改矿井陆续开始生产,公司煤炭产量大幅增长。2015年公司的原煤产量达到1,144.98万吨,同比增长0.29%;同期,公司洗精煤产量为55.21万吨。2016年1-3月公司的原煤产量达到114.82万吨,洗精煤产量为4.80万吨。 开采技术方面,公司已陆续对下属各煤矿进行综采工艺改造,加之新建改造的矿井均采取综采工艺,因此公司整体综合机械化程度和全员效率有较大提升。安全生产方面,公司转型煤炭开采业务以来,坚持“安全高于一切,安全重于一切,安全先于一切”的经营理念,通过加大安全投入,实现了设备、系统的升级改造,矿井安全保障能力得到明显增强,为实现安全生产、高产高效生产提供了强有力的保证。同时,公司积极推进安全质量标准化,公司煤矿安全质量标准化工作在山西晋中地区属先进行列。最近三年及一期,公司及兼并重组的煤炭企业安全生产形势稳定,安全指标完成情况良好,未出现重大伤亡事故。 图 发行人焦煤原煤生产工艺流程图 ■ 图 发行人洗精煤生产工艺流程:重介洗煤工艺 ■ 表 最近三年发行人煤炭生产指标情况 ■ (2)煤炭销售 公司煤炭销售采用以直销和代理销售的销售模式,分别约占销售额的65%和35%。公司针对不同的客户群体实行不同的销售策略,对长期稳定的重点客户实行价格优惠、发运优先的销售政策。为了加快公司向综合能源企业转型及适应当前山西煤炭运销体制和煤炭市场的变化,强化所属煤炭主体企业直销能力,减少煤炭业务销售环节,降低公司销售费用,公司煤炭销售方式现以各煤矿主体企业自行销售为主。目前,公司各煤矿主体企业已在江苏、湖南、浙江、山东、辽宁、北京、山西等地区拓展了煤炭销售业务,建立了较为完善的销售网络,销售网点遍布全国,具备了较强的销售力量,并结合市场形势和公司实际,不断调整销售战略,优化销售模式,完善销售架构,为贸易量的扩大提供基本保障。 公司通过积极开发新客户,加强与大型钢厂、焦化厂建立战略合作关系,减少中间环节,保障了较高的产销率水平。 公司所产原煤,一部分用于内部销售至洗煤厂用于洗精煤原料煤,一部分直接用于外部销售。由于2012年以来公司选煤厂产能释放,洗精煤产量增幅较大,使得洗精煤销售比重由2010年的7%大幅上升至2012年的70%。2012年,公司实现精煤销售406万吨,同比大幅增长395.12%,产销率达到101.10%。为了强化公司煤炭开采主业,精简附属辅业,减少管理环节,公司2013年9月出售洗煤厂,因此2014年公司洗精煤产销量同比大幅下滑,当年公司精煤产量85.47万吨、销量81.86万吨,精煤产销率为95.78%。 表 最近三年及一期发行人煤炭产品的产销量情况 单位:万吨,% ■ 注:销量为公司原煤外部销售量。产销率为公司原煤外部和内部销售量之和与原煤总产量的比值。 2013年及2014年发行人原煤产销率较低,原因系发行人所产部分原煤内部销售至洗煤厂用于洗精煤所致。2015年度,原煤产销率提高是因为上年库存本期实现销售所致。 销售价格方面,由于受宏观经济影响造成的煤炭价格波动和销售形势严峻,公司采用更加灵活的定价策略,遇市场价格出现异常变化时,由公司所属各煤炭主体企业召开临时定价会议,随市场行情进行调整和销售。 销售客户方面,2011年以来,由于公司煤炭产能和产量的快速增长,公司先后与济钢、莱钢、河北钢铁、武钢和本钢等大型钢铁企业建立了长期合作关系,保证了商品煤稳定的下游需求。从客户集中度看,2015年和2016年1-3月公司前五大客户合计销售占比分别达86.81%和82.16%。 表 2016年1-3月公司销售前五名的客户情况: ■ (3)煤炭开采成本 煤炭开采成本方面,煤矿在开采过程中发生的费用按照性质和内容的不同可划分以下两大类:第一类是企业各项生产经营成本,包括各种原材料支出、电力、折旧费、工资及附加等;第二类是资源附加成本, 包括煤矿维简费及安全费用、基金及规费和其他支出等。发行人2015年吨煤开采成本约为196.95元/吨,较2014年成本有所下降,主要原因为公司严控成本费用及国家税费改革减免企业税负所致。 (4)煤炭资源储备 自公司向煤炭开采业务转型以来,加大资源整合力度,在山西省获取了一定规模的优质焦煤资源。同时,公司按照“以山西为中心、以陕蒙为接续、以新疆为储备”的煤炭发展战略,在陕西、新疆、内蒙也进行了煤炭资源储备。2012年公司收购银源煤焦和康伟集团,使得焦煤资源储量大幅增长。截至2016年3月底,公司共有煤炭资源保有储量25.24亿吨。其中,在山西省境内,合计煤炭保有储量10.14亿吨;亿华矿业拥有优质动力煤保有储量11.44亿吨;双安矿业拥有焦煤保有储量0.45亿吨;内蒙古天厦矿业拥有优质动力煤保有储量3.21亿吨。 总体看,公司煤炭资源储备较为充足,可持续发展有一定保障,但与国内大型煤炭生产企业相比,资源储量仍然偏低,公司具备山西省内煤炭资源整合主体资格,后续资源获取具有一定优势和保障。 表 截至2016年3月底发行人煤炭资源储备情况 单位:万吨/% ■表 最近三年一期发行人各煤矿产量情况 单位:万吨 ■ 注:双安矿业因矿区资源整合,自2014年以来暂无产量。 (5)煤炭资源整合情况 发行人目前拥有华熙矿业(原名华瀛山西)、银源煤焦和康伟集团三家具有山西省煤矿兼并重组主体资格企业,其中: 1、华熙矿业经山西省煤矿企业兼并重组整合工作领导组办公室晋煤重组办发[2009]125号和晋煤重组办发[2010]61号文批准,作为整合主体兼并重组了荡荡岭、冯家坛、金泰源、孙义、集广、柏沟六座煤矿。目前对上述六座煤矿的兼并整合已全部完成,相关兼并重组事项与政府批准文件一致。 2、银源煤焦经山西省煤矿企业兼并重组整合工作领导组办公室晋煤重组办发[2009]64号和晋煤重组办发[2010]66号文批准,作为整合主体兼并重组了安苑、新生、华强、新安发、兴庆五座煤矿。目前对上述五座煤矿的兼并整合已全部完成,相关兼并重组事项与政府批准文件一致。 3、康伟集团经山西省煤矿企业兼并重组整合工作领导组办公室晋煤重组办发[2009]82号文批准,作为整合主体兼并重组了孟子峪、南山、森达源三座煤矿。目前对上述三座煤矿的兼并整合已全部完成,相关兼并重组事项与政府批准文件一致。 3、煤炭贸易业务板块 (1)业务主体及盈利模式 发行人煤炭贸易业务主要通过所属贸易公司开展来完成。盈利模式是通过向外部煤炭企业购进煤炭,通过自有的销售网络平台,把煤炭产品销售到全国各地区的焦化企业、钢铁企业及部分煤炭贸易公司。 发行人煤炭贸易业务:一方面营销方式由原来的分散式经营模式向规模化经营模式的转变;另一方面由完全依托外部物流运输向内部大物流运输方式转变。公司将对现有业务进行全面整合,形成以煤炭营销为主体、物流运输为辅助、大宗物资贸易和易货贸易为补充的大物流贸易格局。 表 最近三年一期发行人煤炭贸易情况 ■ (2)业务主体及盈利模式 发行人通过发展“大客户、直供客户和长期客户”等销售策略,构建和完善销售网络,拓展采购与销售渠道,加强与已有煤炭需求客户和上游煤矿企业联系,通过与煤炭需求客户签订购销合同或协议,然后进行煤炭采购和销售等商业模式运作。 鉴于发行人煤炭终端客户较多,煤炭品种需求也不尽相同,为充分利用开展煤炭采选业务所建立的销售网络及渠道,打通上下游环节,发行人积极利用自身优势从外部单位采购煤炭,开展相关煤炭贸易业务。 发行人在煤炭贸易销售方面由所属煤炭贸易公司根据市场行情,自主进行销售。所属煤炭贸易公司建立了独立的销售管理部门和销售网络,具体负责煤炭销售业务管理、指导和协调工作,行使煤炭销售价格决策职能,根据市场行情,确定所销售的煤炭价格,监督煤炭价格政策的执行、组织煤炭销售价格检查等。同时,发行人所属煤炭贸易公司积极利用发行人所拥有的煤矿资源,不断完善信息化管理,建立起与现代物流发展相配套的物流信息系统,并根据市场需求,制定符合市场的销售计划和策略,不断开拓上下游相关客户。 发行人在采购方面则主要是根据外部客户的需求和市场行情,在满足自产煤炭销售的前提下,积极利用自身资源优势和销售优势,先通过向外部煤炭企业购进煤炭产品之后,再通过自有的销售网络平台把煤炭产品销售到全国各地区的焦化企业、钢铁企业及煤炭贸易公司。 截止到2015年,发行人主要的上游客户为九兴能源实业有限公司、江苏广盛能源发展有限公司、徐州正邦能源发展有限公司等,上游客户结算方式主要为货币资金及银行承兑汇票,平均账期在1-6个月,发行人上游客户前五大占比为100%。 截止到2015年,发行人主要的下游客户为江苏中润华能能源发展有限公司、江苏西电能源燃料有限公司、江苏省能源投资有限公司、马鞍山钢铁股份有限公司原燃料采购中心等。下游客户的结算方式主要为货币资金及银行承兑汇票,平均账期在1-6个月,下游客户前五大占比为100%,客户集中度较高。 (3)产销区域 目前,发行人已在江苏、湖南、浙江、山东、辽宁、北京、山西等地区拓展了煤炭销售业务,建立了较为完善的购销网络。 4、其他 公司其他业务板块中主要的是油品贸易、建材与酒店经营等。2013年度,公司其他业务的主营业务收入及毛利润分别为1.74亿元和0.16亿元,占公司主营业务收入和毛利润的比重为0.93%和0.31%;2014年度,公司其他业务的主营业务收入及毛利润分别为0.83亿元和0.03亿元,占公司主营业务收入和毛利润的比重为0.53%和0.06%;2015年度,公司其他业务的主营业务收入及毛利润分别为0.20亿元和-0.33亿元,占公司主营业务收入和毛利润的比重为0.19%和-0.70%,占比较小,对公司经营情况影响不大;2016年一季度,其他业务板块主营业务收入及毛利润分别为0.03亿元和0.0026亿元。 5、行业地位 针对目前国家经济发展形势和转型发展的要求,公司及时调整发展方向和目标,由单一煤炭产业向综合能源、大宗商品物流、新兴产业投资三大产业转型,相关产业规模均为民营企业前列。目前,公司产业布局现状为:1,000万千瓦电力装机容量、1,000万吨/年焦煤产量、1,000万吨/年油气加工能力、1,000万吨/年油品仓储能力、3,000万吨/年码头吞吐能力,并在物联网、医疗产业基金、股权投资基金、新能源等领域进行战略投资。 八、发行人所在行业状况 发行人目前主要业务为电力生产销售、煤炭采选及贸易,所处行业为电力及煤炭行业。 (一)电力行业 1、国内电力行业概况 电力工业是国民经济发展中最重要的基础能源产业,对促进国家经济的发展和社会进步起到了重要作用。它不仅是关系国家经济安全的战略部署,而且与人们的日常生活、社会稳定密切相关。 鉴于我国多煤少油的能源结构,利用燃煤发电一直是我国电源的主力,以煤炭为主的能源结构决定了燃煤发电机组在我国电源结构中的主导地位。 表 2014-2015年我国6000千瓦及以上装机容量分布情况 单位:万千瓦、% ■ 资料来源:国家能源局 经过多年的发展,我国电源电网发展都已经取得很大的成就,电源、电网规模分别跃居世界第二和第一位,从总量上看已经基本可以满足国民经济发展的需要。但是我国能源资源分布与需求存在逆向分布以及能源结构性的矛盾,造成“三北”地区风电消纳矛盾突出,西南水电比重较大的地区电力供应“丰松枯紧”,水电外送季节性压力较大,由此增加了电煤铁路运输以及电网运输的压力,也造成各区域发电装机能力有效利用率下降,发电装机总量与最高用电负荷差距加大,迫切需要大范围、错时段进行煤电、水电、风电的调度配置,在全国范围内实现资源优化配置。 2、国内电力行业政策 (1)总体政策 2013年1月1日,国务院印发《能源发展“十二五”规划》提出,“十二五”期间能源发展的主要任务包括:(1)高效清洁发展煤电。稳步推进大型煤电基地建设,统筹水资源和生态环境承载能力,按照集约化开发模式,采用超超临界、循环流化床、高效节水等先进适用技术,在中西部煤炭资源富集地区,鼓励煤电一体化开发,建设若干大型坑口电站,优先发展煤矸石、煤泥、洗中煤等低热值煤炭资源综合利用发电。在中东部地区合理布局港口、路口电源和支撑性电源,严格控制在环渤海、长三角、珠三角地区新增除“上大压小”和热电联产之外的燃煤机组。积极发展热电联产,在符合条件的大中城市,适度建设大型热电机组,在中小城市和热负荷集中的工业园区,优先建设背压式机组,鼓励发展热电冷多联供。继续推进“上大压小”,加强节能、节水、脱硫、脱硝等技术的推广应用,实施煤电综合改造升级工程,到“十二五”末,淘汰落后煤电机组2,000万千瓦,火电每千瓦时供电标准煤耗下降到323克。“十二五”时期,全国新增煤电机组3亿千瓦,其中热电联产7,000万千瓦、低热值煤炭资源综合利用5,000万千瓦。(2)有序发展天然气发电。在天然气来源可靠的东部经济发达地区,合理建设燃气蒸汽联合循环调峰电站。在电价承受能力强、热负荷需求大的中心城市,优先发展大型燃气蒸汽联合循环热电联产项目。积极推广天然气热电冷联供,支持利用煤层气发电。“十二五”时期,全国新增燃气电站3,000万千瓦。(3)深化能源体制机制改革。坚持社会主义市场经济改革方向,按照远近结合、标本兼治、统筹兼顾、突出重点的原则,抓紧制定和实施深化能源体制改革的指导意见,加快构建现代能源市场体系,着力化解重点领域和关键环节的突出矛盾,争取尽快取得突破。继续深化电力体制改革。加快建立现代电力市场体系,稳步开展输配分开试点,组建独立电力交易机构,在区域及省级电网范围内建立市场交易平台,分批放开大用户、独立配售电企业与发电企业直接交易。改进发电调度方式,逐步增加经济调度因素,为实行竞价上网改革探索经验。建立理顺煤电关系的长效机制。按照基本公共服务均等化和现代企业制度要求,兼顾电力市场化改革方向,统筹推进农村电力体制改革。理顺电价机制。加快推进电价改革,逐步形成发电和售电价格由市场决定、输配电价由政府制定的价格机制。加大对电网输配业务及成本的监管,核定独立输配电价。改进水电、核电及可再生能源发电定价机制。推进销售电价分类改革。大力推广峰谷电价、季节电价、可中断负荷电价等电价制度。推进工业用户按产业政策实行差别化电价和超限额能耗惩罚性电价,实施并完善居民阶梯电价制度。 2015年3月中共中央、国务院印发《关于进一步深化电力体制改革的若干意见》提出在进一步完善政企分开、厂网分开、主辅分开的基础上,按照管住中间、放开两头的体制架构,有序放开输配以外的竞争性环节电价,有序向社会资本开放配售电业务,有序放开公益性和调节性以外的发用电计划;推进交易机构相对独立,规范运行;继续深化对区域电网建设和适合我国国情的输配体制研究;进一步强化政府监管,进一步强化电力统筹规划,进一步强化电力安全高效运行和可靠供应。对于发电企业而言,新的电改方案机遇与挑战并存。直供电将加剧市场竞争,有可能导致上网电价的下调和市场份额的争夺加剧,同时电改也提供了企业参与配电和售电的可能性和发展机遇,开拓新的发展渠道,成为发配售一体的大型电力企业。对于民营企业来说,发挥好机制的灵活性和管理的优势,有望在新一轮电改和市场竞争中率先跑出。 鉴于当前国家关于深化电力体制改革的方案还在修订完善中,具体实施主体、细则和要求标准尚未出台,对公司的具体影响尚有待评估。投资者应密切关注改革动向对公司的影响。 (2)价格政策 “十一五”期间,随着国家关于《完善差别电价政策的意见》的出台,高耗能产业的差别电价的强制实施,高能耗产业的电力需求将继续得到调节和控制,按照四大高能耗产业电力需求价格弹性系数按-0.5计算,“十一五”期间电价上涨将影响高能耗行业用电需求达500亿千瓦时左右。2008年7月1日起,根据《国家发展改革委关于提高电力价格有关问题的通知》(发改电〔2008〕207号)精神,国家发改委相继上调了华北电网、东北电网等发电企业的上网电价,同时调整了部分用户的终端消费电价。2008年8月20日起,国家发改委再次将全国火力发电(含燃煤、燃油、燃气发电和热电联产)企业上网电价平均每千瓦时提高2分钱,燃煤机组标杆上网电价同步调整。各省(区、市)电网火力发电企业上网电价调价标准,依据该地区煤炭价格上涨情况确定。 2008年11月,国家发改委公布了各省级电网输配电价标准,为直购电范围的进一步推广奠定了基础。国家电监会2009年电力监管工作会议上也明确提出,将在广东、吉林和四川试点的基础上,积极推动大用户直接交易,会同有关部门制定工业企业参与电力直接交易准入及管理的政策规范,进一步深化大用户直购电试点,扩大交易范围和规模。 2009年11月20日,国家发改委将全国销售电价每千瓦时平均提高2.8分钱。这次电价调整的主要内容,一是对上网电价做了有升有降的调整。陕西等10个省(区、市)燃煤机组标杆上网电价适当提高;浙江等7个省(区、市)适当下调。二是统筹解决去年8月20日火电企业上网电价上调对电网企业的影响。三是提高可再生能源电价附加标准。四是适当疏导脱硫电价矛盾。在调整电价同时,对销售电价结构做了进一步优化和完善。加快了城乡各类用电同价、工商业用电同价步伐,并按照公平负担的原则,适当调整了电压等级之间的差价。 2010年10月9日国家发改委于10月9日出台了《关于居民生活用电实行阶梯电价的指导意见(征求意见稿)》,拟推行居民“阶梯式累进电价”。 2011年4月,为缓解电煤价格持续攀升对发电企业造成的燃料成本上涨压力,国家对全国16个省份的上网电价进行了上调,全国平均上调1.2分/千瓦时,其中:山西省上网电价上调2.6分/千瓦时,山东省上调电价2分/千瓦时,其余省份分别上调0.4-0.6分/千瓦时,对缓解电企亏损状况起到了积极作用。 2011年6月,国家发改委将山西、青海、甘肃、江西、海南、陕西、山东、湖南、重庆、安徽、河南、湖北、四川、河北及贵州等15个省份的非居民终端用户电价平均上调人民币1.67分╱千瓦时。 2011年12月,国家发改委宣布上调销售电价和上网电价,上网电价对煤电企业上调2.6分/千瓦时,并同时对煤炭价格进行了限制。主要规定,合同煤价在5%的幅度内可适当上涨,对市场煤价进行限价,秦皇岛北方港口的交易煤价,5500大卡煤价每吨不能超过800元。同时,发改委还推出了居民接替电价指导意见。 2012年并无全国范围内煤电上网电价调整。国务院于2012年12月25日下发《关于深化电煤市场化改革的指导意见》,进一步确定市场化的煤电价格联动机制。具体而言,该指导意见提出进一步完善煤电价格联动机制,今后当煤价波动幅度超过5%时,以年度为周期,相应调整上网电价,而电力企业消纳煤炭成本波动的比例由30%下调为10%(即成本变动的90%将能转嫁予终端客户,较过往的70%有所上升)。此外,指导意见鼓励煤炭供货商与客户直接磋商订立中长期煤炭供应合约。 2013年9月,国家发改委下发了《关于调整发电企业上网电价有关事项的通知》,要求从9月25日起降低有关省(区、市)燃煤发电企业脱硫标杆上网电价;适当降低跨省、跨区域送电价格标准;提高上海、江苏、浙江等省(区、市)天然气发电上网电价。根据《通知》规定,全国省级电网中除云南省和四川省未做调整外,其他均下调了煤电机组上网电价,降价幅度从0.009元/千瓦时-0.025元/千瓦时不等,平均降幅为0.014元/千瓦时,其中上海市、江苏省和浙江省降幅最大,为0.025元/千瓦时。在上述地区煤电上网电价下调的基础上,《通知》还规定,对脱硝达标并经环保部门验收合格的燃煤发电企业,上网电价每千瓦时提高0.01元;对采用新技术进行除尘达标并经环保部门验收合格的燃煤发电企业,上网电价每千瓦时提高0.002元。 2014年1月,国家发改委下发《关于完善水电上网电价形成机制的通知》,要求跨省区域交易价格由供需双方协商确定,省内上网电价实行标杆电价制度,同时建立水电价格动态调整机制。《通知》还鼓励水电价格通过竞争方式确定,并逐步统一流域梯级水电站上网电价。 2014年5月9日,江苏省物价局、环保厅发布《关于印发燃煤发电机组环保电价及设施运行监管办法的通知》,要求:从 2014年5月1日起,已安装运行相应环保设施及烟气排放连续监测系统的燃煤发电机组,自验收合格之日起执行相应环保电价加价,即标杆上网电价由 430 元/千千瓦时上调到 442 元/千千瓦时。 2014年8月29 日,江苏省物价局发布《省物价局关于调整电有事项的通知》, 要求:从 2014年9月1日起,标杆上网电价由 442 元/千千瓦时下调到 431元/千千瓦时。 2015年4月13 日,国家发改委发布《关于降低燃煤发电上网电价和工商业用电价格的通知》,规定:(1)全国燃煤发电上网电价平均每千瓦时下调约2分钱(含税,下同);(2)下调燃煤发电上网电价形成的降价空间,除适当疏导部分地区天然气发电价格以及脱硝、除尘、超低排放环保电价等突出结构性矛盾,促进节能减排和大气污染防治外,主要用于下调工商业用电价格。(3)全国工商业用电价格平均每千瓦时下调约1.8分钱。(4)推进销售电价结构调整。全面推进工商业用电同价,江西、贵州和新疆实行商业用电和普通工业用电同价。居民生活和农业生产用电价格原则上保持稳定,适当减少电力用户间的交叉补贴。逐步取消化肥电价优惠,化肥生产用电执行相同用电类别的工商业用电价格;优惠价差较大的地方,分两步到位,2016年4月20日起全部取消电价优惠。(5)跨省、跨区域送电价格调整标准,遵循市场定价原则,参考送、受电地区电价调整情况,由供需双方协商确定。 2015年4月15日,国家发改委发布《关于贯彻中发[2015]9号文件精神加快推进输配电价改革的通知》,部署扩大输配电价改革试点范围,加快推进输配电价改革。输配电价改革是电改核心内容之一,试点范围快速扩大,为发、售电价的市场化改革铺路。此次方案提出:在深圳市、内蒙古西部率先开展输配电价改革试点的基础上,将安徽、湖北、宁夏、云南省(区)列入先期输配电价改革试点范围,鼓励具备条件的其他地区开展改革试点。该《通知》要求,结合电力体制改革,把输配电价与发售电价在形成机制上分开,积极稳妥推进发电侧和售电侧电价市场化,分步实现公益性以外的发售电价格由市场形成。鼓励电力用户或售电主体与发电企业通过自愿协商、市场竞价等方式自主确定市场交易价格,并按照其接入电网的电压等级支付输配电价。 2015年9月2日,发改委网站发布《国家发展改革委关于加快配电网建设改造的指导意见》。指导意见分三个层次介绍了发展目标:中心城市(区)智能化建设和应用水平大幅提高,供电质量达到国际先进水平;城镇地区供电能力和供电安全水平显著提升,有效提高供电可靠性;乡村地区电网薄弱等问题得到有效解决,切实保障农业和民生用电。构建城乡统筹、安全可靠、经济高效、技术先进、环境友好、与小康社会相适应的现代配电网。 2015年11月30日,期盼已久的新电改6个配套文件终于落地。这六个文件分别是:《关于推进输配电价改革的实施意见》、《关于推进电力市场建设的实施意见》、《关于电力交易机构组建和规范运行的实施意见》、《关于有序放开发用电计划的实施意见》、《关于推进售电侧改革的实施意见》、《关于加强和规范燃煤自备电厂监督管理的指导意见》。 2015年12月30日,国家发改委网站正式公布《关于降低燃煤发电上网电价和一般工商业用电价格的通知》(发改价格20153105号)。通知明确,全国燃煤火电上网电价平均每千瓦时下调约3分钱,全国一般工商业销售电价平均每千瓦时下调约3分钱,大工业用电价格不作调整。同时,将居民生活和农业生产以外其他用电征收的可再生能源电价附加征收标准,提高到每千瓦时1.9分钱。 3、国内电力行业发展现状 电力行业属于与国民经济密切相关的基础产业,受宏观经济周期影响较大。在当前国内经济由高速增长转向中高速增长、产业结构调整和优化、经济发展步入换档期的经济新常态下,电力行业生产消费也呈现出新常态特征:电力供应结构持续优化,电力消费增长减速换档、结构不断调整,电力消费增长主要动力呈现由高耗能向新兴产业、服务业和居民生活用电转换,电力供需形势由偏紧转为宽松。 根据中电联的报告:2015年,全国全社会用电量5.55万亿千瓦时,同比增长0.5%,增速同比回落3.3个百分点,“十二五”时期,全社会用电量年均增长5.7%,比“十一五”时期回落5.4个百分点,电力消费换档减速趋势明显。2015年电力消费增速放缓是经济增速放缓、经济结构优化等必然因素和气温等随机偶然因素共同作用、相互叠加的结果。 2015年底全国全口径发电装机容量15.1亿千瓦,同比增长10.5%;年底全口径发电量5.60万亿千瓦时,同比增长0.6%。2015年,非化石能源发电装机容量和发电量占比分别比2010年提高8.1和8.3个百分点,电力供应结构逐年优化。 2015年国家继续深化电力体制改革,印发了《中共中央国务院关于进一步深化电力体制改革的若干意见》(中发[2015]9号)及《关于推进输配电价改革的实施意见》等6个配套文件,随着电力行业新市场体系的构建,电力销售渠道和电价形成机制正在发生重要变化,将给行业的发展带来深刻变革和重要机遇。 具体而言,2015年我国电力行业发展体现出以下几个特征: (1)水电投资连续两年下降,水电发电量较快增长,设备利用小时保持较高水平。“十二五”期间水电新开工规模明显萎缩,随着西南大中型水电项目相继投产,年底全国主要发电企业常规水电在建规模仅有3,200万千瓦,全年水电投资同口径同比下降17.0%,已连续两年下降,预计未来几年水电新增规模较小。年底全口径水电装机容量3.2亿千瓦,发电量1.11万亿千瓦时、同比增长5.1%;设备利用小时3,621小时,为近二十年来的年度第三高水平(2005年、2014年分别为3,664和3,669小时)。 (2)并网风电、太阳能装机及发电量快速增长。主要受2016年初风电上网电价调整预期影响,2015年基建新增并网风电装机再创新高,年底全国并网风电装机容量1.3亿千瓦,“十二五”时期风电爆发式增长,累计净增容量近1亿千瓦;全年发电量1,851亿千瓦时、同比增长15.8%,利用小时1,728小时、同比降低172小时。近几年国家密集出台了一系列扶持政策,极大促进了太阳能发电规模化发展,东部地区分布式光伏在加快增长,西北地区光伏大基地呈规模化增加,这是“十二五”期间新能源建设发展的亮点。受当地市场需求疲软、消纳压力较大等因素影响,西北、东北部分风电和太阳能比重较高省份“弃风”、“弃光”问题比较突出。 (3)核电投产规模创年度新高,发电量高速增长。全年净增核电机组600万千瓦,年底核电装机容量2,608万千瓦、同比增长29.9%。“十二五”时期,核电装机容量净增1,526万千瓦、年均增长19.2%。全年核电发电量同比增长27.2%,设备利用小时7,350小时、同比降低437小时。 (4)火电装机大规模投产,发电量连续两年负增长,利用小时创新低。全年净增火电装机7,202万千瓦(其中煤电5186万千瓦),为2009年以来年度投产最多的一年,年底全国全口径火电装机9.9亿千瓦(其中煤电8.8亿千瓦、占火电比重为89.3%),同比增长7.8%。全口径发电量同比下降2.3%,已连续两年负增长。火电发电设备利用小时创1969年以来的年度最低值4,329小时,同比降低410小时。火电设备利用小时持续下降,主要是电力消费增速向下换挡、煤电机组投产过多、煤电机组承担高速增长的非化石能源发电深度调峰和备用等功能的原因,此外,火电中的气电装机比重逐年提高,也在一定程度上拉低了火电利用小时。但是从火电占比、机组出力、负荷调节等特性,以及电价经济性等方面综合评价,火电在电力系统中的基础性地位在短时期内难以改变。 (5)跨省区送电量增速大幅回落。2015年,全国跨区、跨省送电量同比分别增长2.8%和-1.8%,增速同比分别回落10.3和12.6个百分点,跨区送电量增长主要是前两年投产的特高压直流工程新增送出,如锦苏直流、宾金直流、哈郑直流送电分别增长8.2%、32.7%和92.7%。南方电网区域西电东送电量同比增长9.8%。三峡电站送出电量同比下降12.0%。 (6)电煤供应持续宽松,发电用天然气供应总体平稳。国内煤炭市场需求下降,煤炭供应能力充足,电煤消费已经连续两年负增长,电煤供需总体宽松。全国天然气消费需求增长明显放缓,天然气发电供气总体有保障,气价下调一定程度上缓解了天然气电厂经营压力,但仍有部分气电企业亏损。 4、国内电力行业发展前景 综合考虑经济、社会发展、电气化水平提高等影响因素和电力作为基础产业及民生重要保障的地位,对比分析世界发达国家用电需求发展历程,中电联预测2020年全国全社会用电量为7.7万亿千瓦时,人均用电量5,570千瓦时,“十三五”年均增长5.5%左右,电力消费弹性系数为0.76;2030年全国全社会用电量为10.3万亿千瓦时左右,人均用电量7,400千瓦时左右,2020-2030年年均增长3%左右,电力消费弹性系数为0.5左右;2050年为12-13万亿千瓦时,人均用电量9,000千瓦时左右。从电力需求地区分布上看,东中西部发展受两个主要因素影响,一是发挥西部资源优势,耗能产业逐步向西部转移;二是随着城镇化深化发展,人口继续向东中部地区特别是大中城市集中。综合两方面因素,未来西部地区用电需求预计将保持较快增长,增速快于中东部地区;但中东部地区受人口增加、电气化水平提高等因素影响,用电量也将平稳增长,中东部地区作为我国人口中心、经济中心和用电负荷中心的地位将长期保持。对应于上述用电增长需求,预计全国发电装机到2020年需要19.6亿千瓦左右,2030年需要30.2亿千瓦左右,2050年需要39.8亿千瓦左右。其中,非化石能源发电所占比重逐年上升,2020年、2030年和2050年发电装机占比分别达到39%、49%和62%,发电量占比分别达到29%、37%和50%。到2050年,我国电力结构将实现从煤电为主向非化石能源发电为主的转换。 就电力发展战略布局而言,基于我国发电能源资源禀赋特征和用电负荷分布,统筹协调经济社会发展、生态文明建设、电力安全保障以及技术经济制约,电力发展应加快转变电力发展方式,着力推进电力结构优化和产业升级,始终坚持节约优先,优先开发水电、积极有序发展新能源发电、安全高效发展核电、优化发展煤电、高效发展天然气发电,推进更大范围内电力资源优化配置,加快建设坚强智能电网,构建安全、经济、绿色、和谐的现代电力工业体系。 煤电方面,我国电源结构以煤电为主的格局长期不会改变,必须坚持优化发展煤电,高度重视煤炭绿色发电,推行煤电一体化开发,加快建设大型煤电基地;严格控制东部地区新建纯凝燃煤机组;鼓励发展热电联产;大力推行洁净煤发电技术,加快现有机组节能减排改造,因地制宜改造、关停淘汰煤耗高、污染重的小火电。全国煤电装机规划2020年达到11亿千瓦,新增中煤电基地占55%;2030年达到13.5亿千瓦,新增装机主要在煤电基地;2050年下降到12亿千瓦。 近年来由于煤价下跌,当前煤价低位运行,从中短期来看,煤炭行业仍然存在供给过剩,煤价预计将维持在相对低位;此外,作为资本密集型行业,利率的下降也将降低火电企业的融资成本,提升火电项目的盈利能力;综合来看,尽管“经济新常态”下电力需求增速有所下降,但在煤价低位运行、利率进入下降通道等积极因素的推动下,火电行业前景依然看好。未来随着电力体制改革深化,发电的竞争逐步加大,高参数、高性能和环保的火电机组将占据优势。 (二)煤炭行业 1、行业概况 我国是“富煤、贫油、少气”的国家,煤炭资源丰富,分布更为广泛,开采成本现对较低。国土资源部编制发布的《中国矿产资源报告(2014)》显示,2011-2013年我国煤炭勘查新增查明资源储量2,038.2亿吨,截至2013年底我国查明煤炭资源储量1.48万亿吨。从煤炭资源分布来看,我国煤炭资源北多南少,西多东少,煤炭资源的分布与消费区分布极不协调。与国外主要采煤国家相比,我国煤炭资源开采条件属中等偏下水平,可供露天矿开采的资源极少,除晋陕蒙宁和新疆等省区部分煤田开采条件较好外,其他煤田开采条件较复杂。晋陕蒙将是我国中长期内稳定的煤炭供给来源;其次是西南区及西北新、甘、宁、青等地区,但是由于地处西部内陆地区,煤炭运输是需要解决的问题;华东、中南、京津冀地区煤炭储量有限,不能满足本地区需求;东北地区作为传统煤炭生产基地,随着老旧煤矿的报废,短期煤炭资源供给潜力不足,新的煤炭资源接续能力出现问题,将面临资源枯竭和工业转型的挑战。 煤炭是我国的主体能源,在一次能源结构中占70%左右。在未来相当长时期内,煤炭作为主体能源的地位不会改变。煤炭工业是关系国家经济命脉和能源安全的重要基础产业。“十一五”时期是我国煤炭工业发展最快的五年,各项工作取得了长足的发展和进步。一是煤炭工业发展理念发生了较大变化;二是煤炭市场化改革取得突破;三是结构调整取得重大进展;四是行业自主创新能力增强;五是煤炭产量大幅增加;六是对外开放水平提高;七是煤矿安全生产形势稳步好转;八是煤炭行业在保障国家煤炭供应的同时,为和谐社会建设做出了较大贡献。 煤炭工业发展“十二五”规划提出,到2015年,煤炭调整布局和规范开发秩序取得明显成效,生产进一步向大基地、大集团集中,现代化煤矿建设取得新进展,安全生产状况显著好转,资源回采率明显提高,循环经济园区建设取得重大进展,矿区生态环境得到改善,企业“走出去”取得新成效,矿工生活水平明显提高,基本建成资源利用率高、安全有保障、经济效益好、环境污染少和可持续发展的新型煤炭工业体系。 2、行业政策 2012年3月,国家发展和改革委员会发布《煤炭工业发展“十二五”规划》,提出我国煤炭工业发展的基本原则为:坚持煤炭工业发展与产业布局调整、体制机制创新相结合,加快转变发展方式;坚持生产建设与控总量、调结构相结合,保障煤炭供应安全;坚持发展先进生产力与淘汰落后生产能力相结合,促进煤炭产业升级;坚持开发转化与水资源、环境承载力相协调,推进高效清洁利用;坚持企业发展、接替产业发展与地区经济社会发展相协调,建设和谐矿区;坚持国内发展与国际合作相衔接,实现互利共赢。全国煤炭开发总体布局是控制东部、稳定中部、发展西部。东部(含东北)开采历史长,可供建设新井的资源少,控制开发强度,维持现有供应能力。中部资源相对丰富,开发强度偏大,放缓开发增速,保障稳定供应。西部资源丰富,开发潜力大,提高供应能力,增加调出量。“十二五”期间,我国煤炭工业发展的重点任务包括:(1)推进煤矿企业兼并重组,发展大型企业集团;(2)有序建设大型煤炭基地,保障煤炭稳定供应;(3)建设大型现代化煤矿,提升小煤矿办矿水平;(4)提高煤矿安全生产水平,加强职业健康监护;(5)大力发展洁净煤技术,促进资源高效清洁利用;(6)推进瓦斯抽采利用,促进煤层气产业化发展;(7)发展循环经济,保护矿区生态环境;(8)加强科技创新,提升科技支撑能力;(9)发展现代煤炭物流,建立煤炭应急储备体系;(10)积极开展国际合作,深入实施走出去战略。 面对近年来煤炭行业持续下滑的局面,2014年7月份以来,行业救市政策不断推出,主要集中在供给端,对短期国内产量释放以及进口煤量控制提出了具体的目标和短期较小较快的措施。 表 近期煤炭行业救市政策一览表 ■ 2015年4月,国家发改委又多次牵头组织行业脱困会议,在5月份会议中明确提出要持续推出“四个严格治理”为主要内容的综合脱困措施,即严格治理违法违规煤矿建设和生产,严格治理超能力生产,严格治理不安全生产,严格治理劣质煤生产、进口和使用。提出“四个严肃”:一是严肃地记账算账。摸清全国煤矿违法违规和超能力生产账、企业及其法人代表信用账,为下一步分类处理提供依据。二是严肃地检查督查。通过全面核查、重点督查、专项检查、隐患排查、暗访暗查等多种方式,维护煤炭建设生产秩序。三是严肃地联合惩戒。四是严肃地分类问责。对出现违法违规煤矿擅自复工复产、不安全生产、未兑现承诺、超能力生产等问题的地区有关部门和企业负责人进行问责。 3、行业发展现状 2015年,受国内经济结构调整,经济增速放缓因素影响,煤炭下游行业景气度继续下降,煤炭总体需求持续不足,社会库存居高不下,煤炭价格跌幅超预期,行业竞争进一步加剧,煤炭企业效益连年下滑,出现行业性大面积亏损状况。 2015年全国规模以上煤炭企业原煤产量36.85亿吨,同比减少1.34亿吨,下降3.5%。全年共进口煤炭2.04亿吨,同比下降29.9%;出口533万吨,同比下降7.1%;净进口1.99亿吨,同比减少8,700万吨,下降30.4%。全国铁路发运煤炭20亿吨,同比下降12.6%;主要港口发运煤炭6.44亿吨,同比下降5.5%。至2015年末,全社会存煤已持续48个月越过3亿吨,煤炭企业存煤1.01亿吨,比年初增加1,443万吨,增长16.7%。重点发电企业存煤7,358 万吨,比年初减少2,100万吨,下降22.2%,可用20天。 随着煤价持续下滑,煤炭企业的经济效益持续下降。国家统计局公布的规模以上企业统计数据显示,主营业务收入在2,000万元以上的煤炭企业,2015年实现营业收入24,994.90亿元,同比下降14.80%,实现利润总额为440.80亿元,同比大幅下降65.00%。 持续低迷的需求和不断下行的煤价加速了供给的自主收缩,行业的供给收缩周期已全面启动。首先,规模小、盈利能力差的地方小矿正陆续退出,客观上提升了行业集中度,有助于大型煤企改善议价环境。其次,行业固定资产投资水平也出现了大幅下降,2012年中期开始行业固定资产投资增速已进入加速下行通道,2013年开始出现负增长,2014年度行业固定资产投资完成额为4,682亿元,同比大幅减少9.5%,投资额回落至2011年水平,后续2-3年新增产能有望大幅缩水。 4、行业发展前景 根据煤炭工业发展“十二五”规划,“十二五”期间将以建设大型煤炭基地、大型煤炭企业、大型现代化煤矿为主,14个基地煤炭总产量占比由87%提升至90%以上,形成10个亿吨级、10个5,000万吨级特大型煤炭企业,煤炭产量占全国60%以上。通过兼并重组,煤炭企业控制在4,000家以内,平均规模提高到100万吨/年以上。大型煤炭基地内资源优先向大型煤炭企业配置,优先安排大型煤炭企业项目建设。支持具有资金、技术、管理优势的大型企业跨地区、跨行业、跨所有制兼并重组,鼓励煤、电、运一体化经营,促进规模化、集约化发展,培育一批具有国际竞争力的大型企业集团。 根据“十二五”规划,“十二五”期间中国煤矿建设将“控制东部,稳定中部,发展西部”,山西、内蒙、陕西、宁夏、甘肃、新疆将成为增产主力,新开工规模6.5亿吨/年,占全国新增量的87%。随着蒙西、陕北至湖北、湖南和江西的煤运通道建成以及集通、朔黄、宁西、邯长、邯济、通霍、太焦线扩能改造建设,晋陕蒙宁地区的铁路外运能力将得到有效改善,区域内的大型企业有望迎来快速发展期。 总体看,作为以资源型产品为主的基础产业,煤炭行业未来的发展前景总体向好,随着煤炭外运通道的建成,西部大型煤炭企业有望迎来快速发展期,中东部煤炭企业则依靠煤炭资源整合及产业链延伸提升整体竞争能力。随着煤炭产能的不断集中,处于各大煤炭基地的龙头企业对煤价的议价能力将明显增强。中国的煤炭产业政策将促进煤炭产业集中度和煤炭供给稳定性的提升,有利于大型煤炭企业的发展。行业中资源储备充足、规模效益显著、产业布局合理、资金实力雄厚的大型煤炭企业,具备明显的竞争优势。 短期来看,2015年以来宏观经济增速放缓以及地产投资增速下降对煤炭行业的负面影响进一步显现。虽然有供给收缩的长效机制发挥作用,产量同比出现负增长,但需求不振,下游行业耗煤普遍负增长,需求缩水更加明显,供给反而呈现更加宽松的格局,导致2015年以来煤价继续不断下跌,煤炭行业持续低迷。 (三)发行人经营情况及所面临的的主要竞争状况 2013年以来,受国内经济结构调整,经济增速放缓因素影响,煤炭等下游行业景气度继续下降,煤炭总体需求持续不足,煤炭价格跌幅超预期,行业竞争进一步加剧,煤炭企业效益连年下滑,出现行业性大面积亏损状况。2015年,国内主要煤炭品种较2013年最高点下跌幅度均超过60%。在残酷的市场竞争压力下,煤炭价格远远低于中小型煤炭企业的盈亏平衡点。目前煤炭行业产能过剩,产销量规模巨大,企业分散,市场竞争激烈,受资源总量和环保要求约束较大,煤炭企业要想在竞争中胜出,必将加快技术进步和创新,加快兼并联合重组、完善自身产业链,淘汰落后企业,推进绿色转型可持续发展。“十三五”将是煤炭行业由量的增长向质的提升转型发展的关键时期,煤炭行业将迎来深度整合期。 未来煤炭企业应实行企业大型化、产业集群化、市场集约化和可持续性发展的战略发展方式,在战略管理、规划发展、技术创新、人财物、产供销等方面进行实质性整合,调整产业结构,淘汰低端产能,发展精细化工成为行业发展的必然趋势,行业内原有大型骨干企业将在行业整合中获益,技术研发能力强的企业将在产业链延伸方面占据一定优势。伴随市场竞争的加剧,环保门槛的提高,中小规模煤炭企业将逐步退出市场,行业集中度将不断提高,有利于催生出超大型独立能源集团,逐步实现行业的产销平衡。 面对低迷的煤炭市场形势,发行人依靠资本市场积极调整产业结构,加快实施由单一煤炭向煤电联营方向进行转型。目前发行人已实现向综合能源企业的转型战略,特别是自2015年5月收购华兴电力以来,公司主业开始全面涉足电力行业,主营业务板块的快速转型以及电力行业良好的利润率使得公司最近一年一期盈利能力得到有效改善和增强,公司最近一年一期的经营业绩同比也显著提升。最近一年及一期,发行人主营业务收入情况如下表所示: ■ *发行人于2015年5月完成电力业务资产的收购,故上表中2015年度电力收入仅体现了发行人电力板块资产并表后5-12月的营业数据。 2015年度,随着新增电力板块收入的体现,发行人实现主营业务收入1,072,670.48万元,较去年同期增长36.12%。2015年度实现净利润98,433.02万元,较去年同期大幅增长103.24%。未来,随着电力板块产能的释放及煤电一体化产业链的形成,发行人抵抗经济周期风险的能力将得到进一步的加强。 九、发行人发展策略以及经营方针 面对复杂的市场形势,发行人未来发展战略中明确:将积极调整产业结构,进一步优化公司“综合能源开发,大宗商品物流,新兴产业投资”转型发展格局,提升公司盈利水平和抗行业周期能力,努力将公司打造成为跨行业、跨地区、跨所有制的大型综合现代化企业。 能源方面:公司将以电力为中心,加快电力和油气产业发展,稳定煤炭生产运营,稳妥推进页岩气资源勘探,尽快形成1,000万千瓦以上电力装机容量和1,000万吨/年油气加工能力。稳产1,000万吨/年的焦煤能力。同时,公司将紧跟电力体制改革和国企改革步伐,力争在清洁能源领域、售配电领域和混合所有制方面取得突破。公司通过收购华兴电力100%股权,已拥有正在运营的装机容量496万千瓦,在建的装机容量332万千瓦,规划建设的装机容量266万千瓦,总装机容量1,094万千瓦,公司所属发电企业规模已达到中等电力企业规模。 物流方面:公司正在广东惠州大亚湾地区建设华南地区最大民营公众油码头,将建设1座30万吨级原油品码头和3座2万吨级成品油码头,项目建成后将形成2,000万吨/年码头吞吐能力、1,000万吨/年油品动态仓储能力和59万立方的保税油库能力。公司在江苏张家港已拥有1座5万吨级的长江煤码头,并将在此基础上再新建1座10万吨级的煤码头,扩建完成后将形成1,000万吨/年的煤炭货运吞吐量。 投资方面:公司将以财务投资为重点,稳妥推进投资业务。一是联手江苏双良、天硕投资等国内多家知名企业通过设立上海润良泰物联网产业基金平台与感知集团合资成立了感知科技公司,布局物联网新兴产业。二是通过子公司投资参股珠海东方金桥资本管理有限公司设立的基金,参与二级市场股票收益权项目,未来将获得良好的投资收益。三是积极参与人类辅助生殖等医疗产业基金,并与中信集团、三峡集团合作成立三峡金石股权投资基金布局新兴投资业务,以实现良好的投资回报。 第四节 公司资信情况 一、公司获得主要贷款银行的授信情况及使用条件 发行人与国内一些商业银行等金融机构一直保持长期合作伙伴关系,在各大银行的资信情况良好,获得各银行较高的授信额度,间接债务融资能力较强。截至2016年3月31日,发行人拥有共计607.94亿元的授信额度,其中未使用额度为222.48亿元。 二、最近三年及一期与主要客户发生业务往来时,是否有严重违约情况 最近三年及一期,发行人在与主要客户的业务往来中,未发生严重违约情况。 三、最近三年及一期发行的公司债券以及其他债务融资工具偿还情况 最近三年及一期,公司发行的债务融资工具主要为公司债券和短期融资券。具体明细如下: 表 最近三年及一期债务融资工具的发行与偿还情况 ■ 注:12永泰01债投资者于2015年12月18日行使回售选择权,向发行人回售面值108,686.40万元的公司债券 最近三年及一期,公司未发生债务融资工具本息兑付违约的情形。 四、本次债券发行后的累计公司债券余额及其占发行人最近一期末净资产的比例 发行人截至2016年3月31日的所有者权益合计为255.06亿元,本次债券全部发行完毕后,发行人的累计公司债券余额为97.13亿元,累计公司债券余额占公司净资产的比例为38.08%,未超过发行人净资产的40%。 五、最近三年及一期主要财务指标 表 合并报表口径的财务指标 ■ (下转B7版) 本版导读:
发表评论:财苑热评: |









